TOP
|
特許
|
意匠
|
商標
特許ウォッチ
Twitter
他の特許を見る
公開番号
2025151956
公報種別
公開特許公報(A)
公開日
2025-10-09
出願番号
2024053601
出願日
2024-03-28
発明の名称
充放電制御方法及び充放電制御システム
出願人
日産自動車株式会社
代理人
個人
,
個人
,
個人
主分類
H02J
3/46 20060101AFI20251002BHJP(電力の発電,変換,配電)
要約
【課題】目標電力に対する条件が複数存在する場合において、当該条件に従いつつ、充放電制御要素の状態に応じて適切に充放電の制御を行う充放電制御方法及び充放電制御システムを提供する。
【解決手段】複数の充放電制御要素の間で電力を融通し合う電力システムPSにおいて、親機11は、電力システムに供給される第1電力の制御に係る第1指令情報と、再生可能エネルギーに基づく発電を行う発電要素から供給される合計電力である第2電力の制御に係る第2指令情報と、を生成して複数の子機に送信する。子機21は、第1指令情報及び第2指令情報を受信し、指令情報毎に、指令情報に基づく充放電電力を算出し、充放電制御要素25が備える蓄電池の充電率を取得し、複数の充放電電力のうちの一つを、充電率に基づいて目標充放電電力として選択し、目標充放電電力で、充放電制御要素を充放電させる制御を行う。
【選択図】図1
特許請求の範囲
【請求項1】
複数の充放電制御要素の間で電力を融通し合う電力システムにおいて、前記充放電制御要素に設置された子機、及び、前記子機と接続された親機に係る、充放電制御方法であって、
前記親機は、
前記充放電制御要素以外の外部の電力源から前記電力システムに供給される第1電力の制御に係る第1指令情報を生成し、
前記充放電制御要素のうち、再生可能エネルギーに基づく発電を行う発電要素から供給される合計電力である第2電力の制御に係る第2指令情報を生成し、
前記第1指令情報及び前記第2指令情報を送信し、
前記子機は、
少なくとも前記第1指令情報及び前記第2指令情報を含む、複数の指令情報を受信し、
前記指令情報ごとに、前記指令情報に基づく充放電電力を算出し、
前記充放電制御要素が備える蓄電池の充電率を取得し、
複数の前記充放電電力のうちの一つを、前記充電率に基づいて目標充放電電力として選択し、
前記目標充放電電力で、前記充放電制御要素を充放電させる制御を行う、
充放電制御方法。
続きを表示(約 940 文字)
【請求項2】
前記親機は、
前記第1指令情報を生成する第1処理とは異なる第2処理によって前記第2指令情報を生成する、
請求項1に記載の充放電制御方法。
【請求項3】
前記第1処理を実行する第1の前記親機と、前記第2処理を実行する第2の前記親機は、独立している、
請求項2に記載の充放電制御方法。
【請求項4】
前記親機は、
過去の前記第1電力の履歴に基づいて前記第1指令情報を生成する、
請求項1に記載の充放電制御方法。
【請求項5】
前記親機は、
過去の前記第2電力の履歴に基づくことなく前記第2指令情報を生成する、
請求項1に記載の充放電制御方法。
【請求項6】
前記親機は、
前記第1電力の変動幅に比べて前記第2電力の変動幅が小さくなるよう、前記第1指令情報及び前記第2指令情報を生成する、
請求項1に記載の充放電制御方法。
【請求項7】
前記子機は、
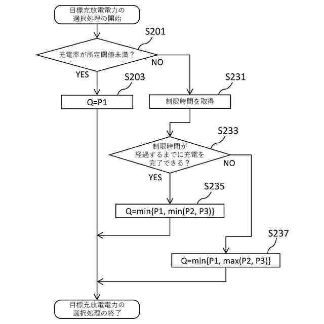
前記充電率が所定閾値未満であるか否かを判定する、
請求項1に記載の充放電制御方法。
【請求項8】
前記充放電制御要素に設定された緊急度に基づいて、前記所定閾値が設定される、
請求項7に記載の充放電制御方法。
【請求項9】
前記子機は、
前記充電率が前記所定閾値未満であると判定された場合に、前記第1指令情報に基づく前記充放電電力を前記目標充放電電力として選択し、
前記充電率が前記所定閾値未満でないと判定された場合に、前記第1指令情報に基づく前記充放電電力と、前記第2指令情報に基づく前記充放電電力のうち小さい値を前記目標充放電電力として選択する、
請求項7に記載の充放電制御方法。
【請求項10】
前記子機は、
前記電力システムを含むシステム群を管理する管理サーバから、前記システム群に係る第3電力の制御に係る第3指令情報を含む、複数の前記指令情報を受信する、
請求項1~6のいずれか一項に記載の充放電制御方法。
(【請求項11】以降は省略されています)
発明の詳細な説明
【技術分野】
【0001】
本開示は、充放電制御方法及び充放電制御システムに関する。
続きを表示(約 1,800 文字)
【背景技術】
【0002】
複数の充放電制御要素と、これら複数の充放電制御要素を管理する集中管理装置とを備える電力システムに関する技術が提案されている(特許文献1参照)。当該技術によれば、調整対象電力が目標電力となるように、集中管理装置の側で、複数の充放電制御要素それぞれの個別出力電力を制御するための指標が算出される。そして、充放電制御要素の側で、指標に基づいて各充放電制御要素の個別目標電力が算出され、個別目標電力となるように個別出力電力が制御される。
【先行技術文献】
【特許文献】
【0003】
国際公開第2017/150376号
【発明の概要】
【発明が解決しようとする課題】
【0004】
特許文献1に開示される技術によれば、算出された指標、及び、各充放電制御要素の優先度に基づいて、各充放電制御要素の充放電が制御されることとなる。しかしながら、目標電力に対する条件が複数存在する場合に、いずれの条件に基づいて指標の増減が定められているかが、充放電制御要素の側では不明であり、充放電制御要素の状態に応じて適切に充放電制御要素の充放電の制御を行うことができないという問題がある。
【0005】
本開示は、上記問題に鑑みてなされたものである。その目的とするところは、目標電力に対する条件が複数存在する場合において、当該条件に従いつつ、充放電制御要素の状態に応じて適切に充放電制御要素の充放電の制御を行うことができる、充放電制御方法及び充放電制御システムを提供することにある。
【課題を解決するための手段】
【0006】
本開示に係る充放電制御方法及び充放電制御システムは、複数の充放電制御要素の間で電力を融通し合う電力システムにおいて、充放電制御要素に設置された子機、及び、子機と接続された親機に係る。親機は、電力システムに供給される第1電力の制御に係る第1指令情報を生成し、再生可能エネルギーに基づく発電を行う発電要素から供給される合計電力である第2電力の制御に係る第2指令情報を生成し、第1指令情報及び第2指令情報を送信する。子機は、複数の指令情報を受信し、指令情報ごとに、指令情報に基づく充放電電力を算出し、充放電制御要素が備える蓄電池の充電率を取得し、複数の充放電電力のうちの一つを、充電率に基づいて目標充放電電力として選択し、目標充放電電力で、充放電制御要素を充放電させる制御を行う。
【発明の効果】
【0007】
本開示によれば、目標電力に対する条件が複数存在する場合において、当該条件に従いつつ、充放電制御要素の状態に応じて適切に充放電制御要素の充放電の制御を行うことができる。
【図面の簡単な説明】
【0008】
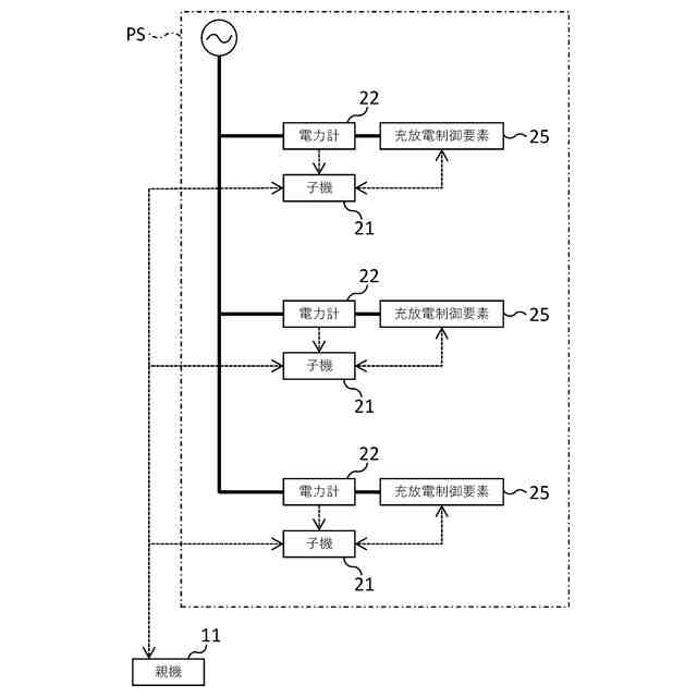
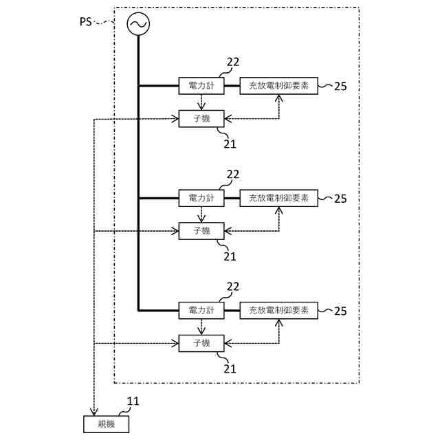
本開示の実施形態に係る充放電制御システムの構成を示すブロック図である。
本開示の実施形態に係る充放電制御システムの処理例を示すシーケンス図である。
目標充放電電力の選択処理の第1の例を示すフローチャートである。
目標充放電電力の選択処理の第2の例を示すフローチャートである。
目標充放電電力の選択処理の第3の例を示すフローチャートである。
【発明を実施するための形態】
【0009】
以下、いくつかの例示的な実施形態について、図面を参照して説明する。なお、各図において共通する部分には同一の符号を付し、重複する説明を省略する。
【0010】
[充放電制御システムの構成]
図1は、本開示の実施形態に係る充放電制御システムの構成を示すブロック図である。図1に示すように、充放電制御システムは、複数の充放電制御要素25の間で電力を融通し合う電力システムPSに係る。充放電制御システムは、後述する子機21及び親機11を備える。充放電制御システムは、複数の充放電制御要素25を管理している。なお、図1では、3つの充放電制御要素25が示されているが、充放電制御システムが管理する充放電制御要素25は、3つに限定されない。充放電制御システムが管理する充放電制御要素25は、一又は複数であってもよい。
(【0011】以降は省略されています)
この特許をJ-PlatPat(特許庁公式サイト)で参照する
関連特許
日産自動車株式会社
画像処理方法及び画像処理装置
1日前
日産自動車株式会社
画像表示方法及び画像表示装置
1日前
日産自動車株式会社
充放電制御方法及び充放電制御システム
2日前
日産自動車株式会社
駐車支援方法、駐車支援装置及びコンピュータプログラム
1日前
日産自動車株式会社
車両用表示装置の検査方法、検査装置および検査プログラム
3日前
個人
バッテリ内蔵直流電源
22日前
株式会社アイシン
ロータ
1日前
株式会社FUJI
制御盤
12日前
オムロン株式会社
電源回路
16日前
西部電機株式会社
充電装置
4日前
西部電機株式会社
充電装置
4日前
オムロン株式会社
電源回路
16日前
日本精機株式会社
サージ保護回路
4日前
オムロン株式会社
電源回路
16日前
トヨタ自動車株式会社
固定子
2日前
トヨタ自動車株式会社
回転子
8日前
トヨタ自動車株式会社
製造装置
2日前
個人
連続ガウス加速器形磁力増幅装置
4日前
東京応化工業株式会社
発電装置
16日前
ミサワホーム株式会社
居住設備
12日前
大豊工業株式会社
モータ
22日前
株式会社アイシン
ステータ
1日前
株式会社ダイヘン
充電装置
1日前
株式会社アイシン
ステータ
1日前
東京瓦斯株式会社
通信装置
3日前
株式会社ミツバ
ブラシレスモータ
3日前
カヤバ株式会社
筒型リニアモータ
3日前
個人
太陽エネルギー収集システム
2日前
株式会社ダイヘン
充電装置
1日前
株式会社ダイヘン
充電装置
1日前
株式会社アイシン
ステータ
1日前
株式会社アイシン
ステータ
1日前
株式会社ダイヘン
充電装置
1日前
株式会社リコー
拡張アンテナ装置
15日前
トヨタ自動車株式会社
被膜形成装置
2日前
日産自動車株式会社
ステータ
9日前
続きを見る
他の特許を見る