TOP
|
特許
|
意匠
|
商標
特許ウォッチ
Twitter
他の特許を見る
10個以上の画像は省略されています。
公開番号
2025153554
公報種別
公開特許公報(A)
公開日
2025-10-10
出願番号
2024056088
出願日
2024-03-29
発明の名称
画像表示方法及び画像表示装置
出願人
日産自動車株式会社
代理人
個人
,
個人
,
個人
主分類
H04N
7/18 20060101AFI20251002BHJP(電気通信技術)
要約
【課題】車両の後方を含む範囲を撮影した映像を車室内の表示装置に表示する際に、表示状態の切り替えにより後方の物体に対して乗員が錯覚を起こすのを抑制する。
【解決手段】画像表示方法では、車両の後方を含む範囲の映像を撮像装置により撮影し(S1)、車室内に配置された表示装置に撮像装置が撮影した映像を表示し(S2)、乗員の視線が表示装置に向いているか否かを判定し(S3)、乗員の視線が表示装置に向いている場合に、表示装置に映像を表示する表示状態を、所定の拡大率で表示する第1状態と第1状態よりも高い拡大率で表示する第2状態との間で連続的に切り替え(S4)、乗員の視線が表示装置に向いていない場合に表示状態を切り替えない(S5)。
【選択図】図3
特許請求の範囲
【請求項1】
車両の後方を含む範囲の映像を撮像装置により撮影し、
車室内に配置された表示装置に前記撮像装置が撮影した前記映像を表示し、
乗員の視線が前記表示装置に向いているか否かを判定し、
前記乗員の視線が前記表示装置に向いている場合に、前記表示装置に前記映像を表示する表示状態を、所定の拡大率で表示する第1状態と前記第1状態よりも高い拡大率で表示する第2状態との間で連続的に切り替え、
前記乗員の視線が前記表示装置に向いていない場合に前記表示状態を切り替えない、
ことを特徴とする画像表示方法。
続きを表示(約 1,000 文字)
【請求項2】
前記車両の後方における注目物体を検出し、前記乗員の視線が前記表示装置に向いている場合に、前記表示状態を前記第1状態から前記第2状態へ連続的に切り替えることを特徴とする請求項1に記載の画像表示方法。
【請求項3】
前記注目物体は、前記車両の後方の所定距離以内に存在する他車両であることを特徴とする請求項2に記載の画像表示方法。
【請求項4】
前記注目物体を囲う第1の色の第1図形を前記映像に重畳して前記表示装置に表示することを特徴とする請求項2に記載の画像表示方法。
【請求項5】
前記表示装置を前記第1状態から前記第2状態へ連続的に切り替える途中で、前記乗員の視線が前記表示装置から外れた場合には前記表示状態の切替を停止する、ことを特徴とする請求項1に記載の画像表示方法。
【請求項6】
前記車両の後方の所定距離以内に注目物体を検出している状態から前記注目物体を検出しなくなった場合に、前記表示状態を前記第2状態から前記第1状態へ連続的に切り替えることを特徴とする請求項1に記載の画像表示方法。
【請求項7】
前記車両の後方の所定距離以内に注目物体を検出している状態から前記注目物体を検出しなくなった場合に、前記第1図形が囲っていた範囲の映像を囲う前記第1の色と異なる第2の色の第2図形を前記映像に重畳して前記表示装置に表示し、前記表示状態を前記第2状態から前記第1状態へ連続的に切り替えることを特徴とする請求項4に記載の画像表示方法。
【請求項8】
前記乗員が、前記映像の前記第1図形の外側部分を見ている場合に、前記表示状態を前記第1状態から前記第2状態への切り替えを中断し、前記表示状態を前記第1状態へ戻すことを特徴とする請求項4に記載の画像表示方法。
【請求項9】
ウインカーが作動した場合に、前記表示状態を前記第1状態から前記第2状態へ切り替えを中断し、前記表示状態を前記第1状態へ戻すことを特徴とする請求項4に記載の画像表示方法。
【請求項10】
前記乗員が前記表示装置に表示する前記映像の拡大をキャンセルする操作を行った場合に、前記表示状態を前記第1状態から前記第2状態へ切り替えを中断し、前記表示状態を前記第1状態へ戻すことを特徴とする請求項4に記載の画像表示方法。
(【請求項11】以降は省略されています)
発明の詳細な説明
【技術分野】
【0001】
本発明は、画像表示方法及び画像表示装置に関する。
続きを表示(約 2,000 文字)
【背景技術】
【0002】
特許文献1に記載の画像表示装置は、ルームミラーによって車両の後方の鏡像を映す第1の状態からルームミラーを通して後方のカメラ映像を表示する第2の状態に切り替える表示切替スイッチを備え、第1の状態から第2の状態に切り替えを開始するときにルームミラーの鏡像と一致するようにカメラ映像を表示し、その後は時間経過とともに徐々にカメラ映像を変化させる。
【先行技術文献】
【特許文献】
【0003】
特開2020-161919号公報
【発明の概要】
【発明が解決しようとする課題】
【0004】
このように後方のカメラ映像を徐々に変化させると、乗員は、カメラ映像に写っている後方の物体が接近したために大きく見えたと錯覚したり、車線変更したことにより映像内の物体の位置が変わったと錯覚する虞がある。
本発明は、車両の後方を含む範囲を撮影した映像を車室内の表示装置に表示する際に、表示状態の切り替えにより後方の物体に対して乗員が錯覚を起こすのを抑制することを目的とする。
【課題を解決するための手段】
【0005】
本発明の一態様による画像表示方法では、車両の後方を含む範囲の映像を撮像装置により撮影し、車室内に配置された表示装置に撮像装置が撮影した映像を表示し、乗員の視線が表示装置に向いているか否かを判定し、乗員の視線が表示装置に向いている場合に、表示装置に映像を表示する表示状態を、所定の拡大率で表示する第1状態と第1状態よりも高い拡大率で表示する第2状態との間で連続的に切り替え、乗員の視線が表示装置に向いていない場合に表示状態を切り替えない。
【発明の効果】
【0006】
本発明によれば、車両の後方を含む範囲を撮影した映像を車室内の表示装置に表示する際、表示状態の切り替えにより後方の物体に対して乗員が錯覚を起こすのを抑制できる。
【図面の簡単な説明】
【0007】
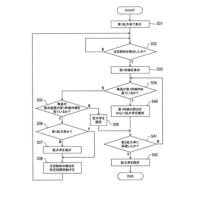
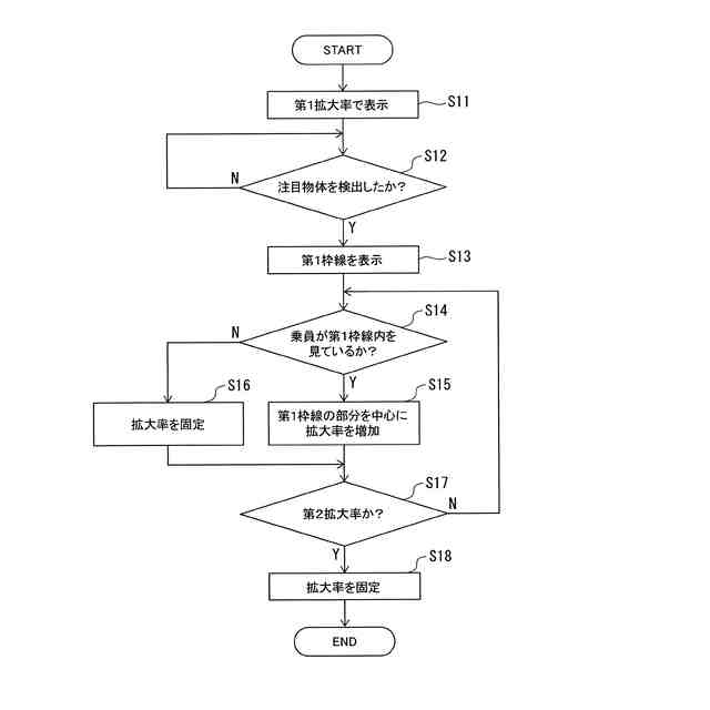
実施形態の画像表示装置が搭載された車両の概略構成例を示す図である。
各カメラと表示装置の配置位置の一例の模式図である。
第1実施形態の画像表示方法の一例のフローチャートである。
図1のコントローラの機能構成の一例のブロック図である。
(a)~(d)は第2実施形態の画像表示方法の一例の説明図である。
(a)~(c)は第2実施形態の画像表示方法の一例の説明図である。
第2実施形態の画像表示方法の一例のフローチャートである。
第2実施形態の画像表示方法の一例のフローチャートである。
第3実施形態の画像表示方法の一例のフローチャートである。
第4実施形態の画像表示方法の一例のフローチャートである。
【発明を実施するための形態】
【0008】
以下、本発明の実施形態について、図面を参照しつつ説明する。なお、各図面は模式的なものであって、現実のものとは異なる場合がある。また、以下に示す本発明の実施形態は、本発明の技術的思想を具体化するための装置や方法を例示するものであって、本発明の技術的思想は、構成部品の構造、配置等を下記のものに特定するものではない。本発明の技術的思想は、特許請求の範囲に記載された請求項が規定する技術的範囲内において、種々の変更を加えることができる。
【0009】
(第1実施形態)
(構成)
図1は、実施形態の画像表示装置が搭載された車両の概略構成例を示す図である。車両1には、実施形態の画像表示装置10と、車載機器20と、物体センサ21と、車両センサ22が搭載されている。
画像表示装置10は、車両1の後方を含む範囲を撮影して得られるカメラ映像を、車両1の車室内に配置された表示装置に表示する。画像表示装置10は、リアカメラ11と、車内カメラ12と、乗員カメラ13と、表示装置14と、コントローラ15を備える。図2は、リアカメラ11と、車内カメラ12と、乗員カメラ13と、表示装置14の配置位置の一例の模式図である。
【0010】
リアカメラ11は、車両1の後部に設置されており車両1の後方を撮影する。車内カメラ12は、車室の前部(例えばルームミラーの位置)に設けられ、車室内と車両1の後方とを含む範囲を撮影する。乗員カメラ13は、車室内に設けられ車両1の乗員(例えば運転者)の顔を撮影する。
表示装置14は、乗員が視認可能となるように車室に設けられ、リアカメラ11が撮影した映像や車内カメラ12が撮影した映像を切り替えて表示する。例えば表示装置14は、車室の前部(例えばルームミラーの位置)に配置されてよい。
(【0011】以降は省略されています)
この特許をJ-PlatPat(特許庁公式サイト)で参照する
関連特許
日産自動車株式会社
画像処理方法及び画像処理装置
3日前
日産自動車株式会社
画像表示方法及び画像表示装置
3日前
日産自動車株式会社
充放電制御方法及び充放電制御システム
4日前
日産自動車株式会社
駐車支援方法、駐車支援装置及びコンピュータプログラム
3日前
日産自動車株式会社
車両用表示装置の検査方法、検査装置および検査プログラム
5日前
個人
店内配信予約システム
2か月前
WHISMR合同会社
収音装置
1か月前
サクサ株式会社
中継装置
3か月前
サクサ株式会社
中継装置
4日前
サクサ株式会社
中継装置
5日前
アイホン株式会社
電気機器
26日前
キヤノン株式会社
電子機器
2か月前
キヤノン株式会社
撮像装置
1か月前
キヤノン電子株式会社
モバイル装置
3か月前
株式会社リコー
画像形成装置
1か月前
株式会社リコー
画像形成装置
2か月前
キヤノン電子株式会社
画像読取装置
1か月前
サクサ株式会社
無線通信装置
4日前
株式会社リコー
画像形成装置
1か月前
サクサ株式会社
無線システム
3日前
日本精機株式会社
画像投映システム
3か月前
サクサ株式会社
無線通信装置
4日前
個人
ワイヤレスイヤホン対応耳掛け
24日前
株式会社ニコン
撮像装置
2か月前
ブラザー工業株式会社
読取装置
2か月前
キヤノン株式会社
撮像システム
26日前
個人
発信機及び発信方法
3日前
DXO株式会社
情報処理システム
2か月前
沖電気工業株式会社
画像形成装置
6日前
国立大学法人電気通信大学
小型光学装置
1か月前
沖電気工業株式会社
画像形成装置
14日前
大日本印刷株式会社
写真撮影装置
25日前
株式会社JVCケンウッド
通信システム
10日前
有限会社フィデリックス
マイクロフォン
10日前
キヤノン電子株式会社
シート材搬送装置
2か月前
株式会社松平商会
携帯機器カバー
1か月前
続きを見る
他の特許を見る