TOP
|
特許
|
意匠
|
商標
特許ウォッチ
Twitter
他の特許を見る
公開番号
2025151980
公報種別
公開特許公報(A)
公開日
2025-10-09
出願番号
2024053650
出願日
2024-03-28
発明の名称
車両の前部構造
出願人
三菱自動車工業株式会社
代理人
個人
主分類
B62D
21/00 20060101AFI20251002BHJP(鉄道以外の路面車両)
要約
【課題】バッテリーパックの保護を図りつつ前面衝突時のエネルギー吸収性能を高める上で有利な車両の前部構造を提供する。
【解決手段】衝突荷重が一対のフロントサイドフレーム20の前部から入力することで一対のフロントサイドフレーム20が車両後方に変形されると共に、衝突荷重が一対のフロントサイドフレーム20を車両後方に伝達される。一対のフロントサイドフレーム20の車両後方への変形に伴い一対の伝達部材18が車両後方に変位し、やがて一対の伝達部材18の後端1804が隙間S2分だけ車両後方に変位すると、隙間S2は無くなり一対の伝達部材18の後端1804がバッテリーパック26に当接する。バッテリーパック26はサイドフレーム14で支持されていることから、衝突荷重は、バッテリーパック26からサイドフレーム14に伝達される。
【選択図】図2
特許請求の範囲
【請求項1】
車幅方向に間隔を空けて配置され、車両前後方向に延在する一対のサイドフレームと、
前記一対のサイドフレームの間に配置され、前記サイドフレームに支持されるバッテリーパックと、
前記バッテリーパックより車両前方に位置する前記一対のサイドフレームの箇所からそれぞれ分岐されて前記バッテリーパックに向かって車両後方に延在する一対の伝達部材とを備え、
前記一対の伝達部材は、その後端が前記バッテリーパックの前壁に近接した位置で、前記バッテリーパックの前壁に対して離間した状態で対向配置される、
ことを特徴とする車両の前部構造。
続きを表示(約 1,200 文字)
【請求項2】
前記一対のサイドフレームは、車両の前部で車両前後方向に延在する一対のフロントサイドフレームと、前記一対のフロントサイドフレームより後方でかつ車幅方向外側にオフセットした位置で車両前後方向後方に延在する一対のフロアサイドフレームと、後端が前端より車幅方向外側に位置するように延在され、前記一対のフロントサイドフレームと前記一対のフロアサイドフレームとを連結する一対の接続フレームと、を含み、
前記バッテリーパックは、前記一対のフロアサイドフレームの間に配置され、
前記一対の伝達部材は、前記一対の接続フレームから分岐されている、
ことを特徴とする請求項1記載の車両の前部構造。
【請求項3】
前記一対の接続フレームは、車両後方に至るにつれて互いに離れる方向に変位するよう傾斜したフレーム傾斜部を有し、
前記一対の伝達部材は、前記一対の接続フレームの前記フレーム傾斜部の前端から分岐される、
ことを特徴とする請求項2記載の車両の前部構造。
【請求項4】
前記一対の伝達部材は、前記フレーム傾斜部の前端から車両後方に至るにつれ互いに近づく方向に変位するよう傾斜した伝達部材傾斜部を有し、
前記伝達部材傾斜部は、平面視した場合、前記フレーム傾斜部と車幅方向でほぼ線対称に形成されている、
ことを特徴とする請求項3記載の車両の前部構造。
【請求項5】
前記一対の伝達部材は、その後部が前記伝達部材傾斜部から車両後方に向かって互いに平行に延在される、
ことを特徴とする請求項4記載の車両の前部構造。
【請求項6】
前記一対の伝達部材の後端は、弾性部材を介して前記バッテリーパックの前壁に連結されている、
ことを特徴とする請求項1記載の車両の前部構造。
【請求項7】
車幅方向に延設されて前記一対の接続フレームの間を連結するクロスメンバを備え、
前記一対の伝達部材は、前記クロスメンバに接合されている、
ことを特徴とする請求項1記載の車両の前部構造。
【請求項8】
前記バッテリーパックの内部には、前記バッテリーパックの前部で車幅方向に延在する前補強部材と、前記前補強部材の車幅方向の両端から前記バッテリーパックの側壁に沿って車両後方に延在し、前記一対のサイドフレームに連結される一対の横補強部材と含む補強構造が設けられ、
前記一対の伝達部材の後端は、前記バッテリーパックの前記前補強部材と車両前後方向で対向される、
ことを特徴とする請求項1から6記載の車両の前部構造。
【請求項9】
前記補強フレームは、前記前補強部材から前方に延びて前記バッテリーパックの前記前壁と連結される連結部材を有し、
前記連結部材は、その前端が前記伝達部材の後端と前後方向で対向する位置に配置される、
ことを特徴とする請求項7記載の車両の前部構造。
発明の詳細な説明
【技術分野】
【0001】
本発明は車両の前部構造に関する。
続きを表示(約 5,700 文字)
【背景技術】
【0002】
複数のクロスビーム(クロスメンバ)によって連結された一対のサイドフレームの間にバッテリーパックを配置した車両の前部構造が知られている。
このような車両の前部構造において、バッテリーパックの下部を通るクロスビームの車幅方向の中間の箇所と、クロスビームよりも車両前方に位置する一対のサイドフレームの箇所とを連結する一対の伝達部材を設けることにより、車両の前面衝突によって一対のサイドフレームの前部に生じる圧縮応力を軽減することでバッテリーパックの保護を図る技術が開示されている(特許文献1参照)。
【先行技術文献】
【特許文献】
【0003】
US10988014B2
【発明の概要】
【発明が解決しようとする課題】
【0004】
しかしながら、上記従来技術では、車両の前面衝突時に一対のサイドフレームの前部に生じる圧縮応力を軽減する上で一定の効果があるものの、一対のサイドフレームの前部から入力した衝突荷重を車体に効率よく伝達することで前面衝突時のエネルギー吸収性能を高める観点からは改善の余地がある。
本発明は前記事情に鑑み案出されたもので、本発明の目的は、バッテリーパックの保護を図りつつ前面衝突時のエネルギー吸収性能を高める上で有利な車両の前部構造を提供することにある。
【課題を解決するための手段】
【0005】
上記目的を達成するために、本発明の一実施の形態は、車幅方向に間隔を空けて配置され、車両前後方向に延在する一対のサイドフレームと、前記一対のサイドフレームの間に配置され、前記サイドフレームに支持されるバッテリーパックと、前記バッテリーパックより車両前方に位置する前記一対のサイドフレームの箇所からそれぞれ分岐されて前記バッテリーパックに向かって車両後方に延在する一対の伝達部材とを備え、前記一対の伝達部材は、その後端が前記バッテリーパックの前壁に近接した位置で、前記バッテリーパックの前壁に対して離間した状態で対向配置されることを特徴とする。
また、本発明の一実施の形態は、前記一対のサイドフレームは、車両の前部で車両前後方向に延在する一対のフロントサイドフレームと、前記一対のフロントサイドフレームより後方でかつ車幅方向外側にオフセットした位置で車両前後方向後方に延在する一対のフロアサイドフレームと、後端が前端より車幅方向外側に位置するように延在され、前記一対のフロントサイドフレームと前記一対のフロアサイドフレームとを連結する一対の接続フレームと、を含み、前記バッテリーパックは、前記一対のフロアサイドフレームの間に配置され、前記一対の伝達部材は、前記一対の接続フレームから分岐されていることを特徴とする。
また、本発明の一実施の形態は、前記一対の接続フレームは、車両後方に至るにつれて互いに離れる方向に変位するよう傾斜したフレーム傾斜部を有し、前記一対の伝達部材は、前記一対の接続フレームの前記フレーム傾斜部の前端から分岐されることを特徴とする。
また、本発明の一実施の形態は、前記一対の伝達部材は、前記フレーム傾斜部の前端から車両後方に至るにつれ互いに近づく方向に変位するよう傾斜した伝達部材傾斜部を有し、記伝達部材傾斜部は、平面視した場合、前記フレーム傾斜部と車幅方向でほぼ線対称に形成されていることを特徴とする。
また、本発明の一実施の形態は、前記一対の伝達部材は、その後部が前記伝達部材傾斜部から車両後方に向かって互いに平行に延在されることを特徴とする。
また、本発明の一実施の形態は、前記一対の伝達部材の後端は、弾性部材を介して前記バッテリーパックの前壁に連結されていることを特徴とする。
また、本発明の一実施の形態は、車幅方向に延設されて前記一対の接続フレームの間を連結するクロスメンバを備え、前記一対の伝達部材は、前記クロスメンバに接合されていることを特徴とする。
また、本発明の一実施の形態は、前記バッテリーパックの内部には、前記バッテリーパックの前部で車幅方向に延在する前補強部材と、前記前補強部材の車幅方向の両端から前記バッテリーパックの側壁に沿って車両後方に延在し、前記一対のサイドフレームに連結される一対の横補強部材と含む補強構造が設けられ、前記一対の伝達部材の後端は、前記バッテリーパックの前記前補強部材と車両前後方向で対向されることを特徴とする。
また、本発明の一実施の形態は、前記補強フレームは、前記前補強部材から前方に延びて前記バッテリーパックの前記前壁と連結される連結部材を有し、前記連結部材は、その前端が前記伝達部材の後端と前後方向で対向する位置に配置されることを特徴とする。
【発明の効果】
【0006】
本発明の一実施の形態によれば、車両の前面衝突時にサイドフレームに入力した衝突荷重は、サイドフレームに伝達される第1の荷重伝達経路と、一対の伝達部材とバッテリパックを介してサイドフレームに伝達される第2の荷重伝達経路との2つの荷重伝達経路に分散して伝達される。
したがって、前面衝突時に入力する衝突荷重を2つの荷重伝達経路により効率よく分散させて車体に吸収させることができ、前面衝突時のエネルギー吸収性能を高める上で有利となり、衝突荷重からバッテリーパックの保護を図る上で有利となる。
また、一対の伝達部材の後端とバッテリーパックの前壁との間に隙間が確保されているので、通常走行時にサイドフレームから伝達部材に伝達されるねじれ方向の荷重がバッテリーパックに加わることが無く、バッテリーパックを保護する上で有利となる。
また、一対のサイドフレームが、車両の前部で車両前後方向に延在する一対のフロントサイドフレームと、一対のフロントサイドフレームに連結された車両後方に延在する一対のフロアサイドフレームと備えていると、車両の前面衝突時にフロントサイドフレームに入力した衝突荷重は、サイドフレームに伝達される第1の荷重伝達経路と、一対の伝達部材とバッテリーパックを介してサイドフレームに伝達される第2の荷重伝達経路との2つの荷重伝達経路に分散して伝達されるので、前面衝突時に入力する衝突荷重を2つの荷重伝達経路により効率よく分散させて車体に吸収させることができ、前面衝突時のエネルギー吸収性能を高める上で有利となる。
また、一対のサイドフレームが、一対のフロントサイドフレームと一対のフロアサイドフレームとを連結する一対の接続フレームを備え、一対の伝達部材が一対の接続フレームから分岐されていると、一対の伝達部材を車幅方向の中央部に寄せて配置するなど一対の伝達部材のレイアウトの自由度を確保する上で有利となる。
また、一対の伝達部材を一対の接続フレームのフレーム傾斜部の前端から分岐させると、一対の伝達部材の後端を一対の接続フレームの後端からを車幅方向内側に離して配置することができ、衝突荷重を効率よく分散させて車体に吸収させる上で有利となり、前面衝突時のエネルギー吸収性能を高める上でより有利となる。
また、一対の伝達部材は、フレーム傾斜部の前端から車両後方に至るにつれ互いに近づく方向に変位するよう傾斜した伝達部材傾斜部を有し、伝達部材傾斜部は、平面視した場合、フレーム傾斜部と車幅方向でほぼ線対称に形成されていると、前面衝突時に入力する衝突荷重は、接続フレームのフレーム傾斜部と、伝達部材の伝達部材傾斜部とほぼ2等分されて伝達されるため、衝突荷重を効率よく分散させて車体に吸収させる上で有利となり、前面衝突時のエネルギー吸収性能を高める上でより有利となる。
また、一対の伝達部材は、その後部が伝達部材傾斜部から車両後方に向かって互いに平行に延在していると、衝突荷重を効率よくバッテリパックに伝達する上で有利となり、したがって、衝突荷重を効率よく分散させて車体に吸収させる上で有利となり、前面衝突時のエネルギー吸収性能を高める上でより有利となる。
また、一対の伝達部材の後端が、弾性部材を介してバッテリーパックの前壁に連結されていると、一対の伝達部材の後端を弾性部材を介してバッテリーパックに確実に衝突荷重を伝達する上で有利となり、また、バッテリパック自体を支持するマウントとして一対の伝達部材を利用でき、また、衝突荷重を弾性部材により減衰する上で有利となり、さらに、車両走行時に一対のサイドフレームのねじれのバッテリパックへの伝達を抑制する上で有利となる。
また、車幅方向に延設されて一対の接続フレームの間を連結するクロスメンバを備え、一対の伝達部材がクロスメンバに接合されていると、衝突荷重をクロスメンバに伝達でき、衝突荷重を効率よく分散させて車体に吸収させる上で有利となり、前面衝突時のエネルギー吸収性能を高める上でより有利となる。
また、バッテリーパックの内部には、バッテリーパックの前部で車幅方向に延在する前補強部材と、前補強部材の車幅方向の両端からバッテリーパックの側壁に沿って車両後方に延在し、一対のサイドフレームに連結される一対の横補強部材と含む補強構造が設けられ、一対の伝達部材の後端が、バッテリーパックの前補強部材と車両前後方向で対向されると、前面衝突時に入力する衝突荷重を、サイドフレームに伝達される第1の荷重伝達経路と、一対の伝達部材とトレー補強構造を介してフロントサイドフレームからフロアサイドフレームに伝達される第2の荷重伝達経路との2つの荷重伝達経路により効率よく分散させて車体に吸収させることができ、前面衝突時のエネルギー吸収性能を高める上で有利となる。
また、補強フレームは、前補強部材から前方に延びてバッテリーパックの前壁と連結される連結部材を有し、連結部材が、その前端が伝達部材の後端と前後方向で対向する位置に配置されると、前面衝突時に伝達部材に伝達された衝突荷重が連結部材を介して確実に前補強部材に伝達されるため、衝突荷重を効率よく分散させて車体に吸収させる上で有利となり、前面衝突時のエネルギー吸収性能を高める上でより有利となる。
【図面の簡単な説明】
【0007】
実施の形態の車両の前部構造を示す斜視図である。
実施の形態の車両の前部構造を示す平面図である。
図2のA-A線断面図である。
実施の形態の車両の前部構造の要部を模式的に示す説明図である。
【発明を実施するための形態】
【0008】
以下、本発明の実施の形態について図面を参照して説明する。
本実施の形態の車両の前部構造は、モータのみを駆動源とする電気自動車、あるいは、ハイブリッド車、あるいは、外部充電又は外部給電が可能なプラグインハイブリッド車などのモータを駆動源とし、上記モータに電力を供給するバッテリーパックが搭載された電動車に適用可能である。
以下の図面において符号UPは車両上方を示し、符号FRは車両前方を示し、符号HLは車幅方向を示す。
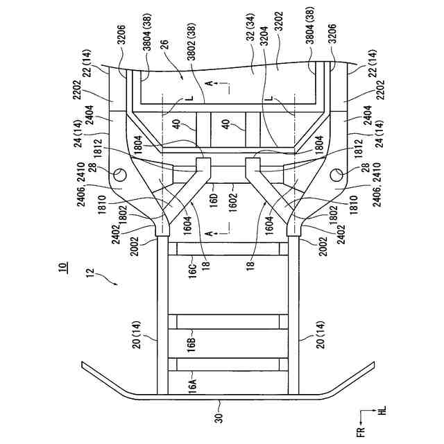
本実施の形態では、図1、図2に示すように、車両10はシャシフレーム12の上に不図示のキャビンを支持するフレーム車両であり、シャシフレーム12は、車幅方向に間隔を空けて配置され車両前後方向に延在する一対のサイドフレーム14と、複数のクロスメンバ16と、一対の伝達部材18とを含んで構成され、バッテリーパック26は、一対のサイドフレーム14の間に配置されサイドフレーム14に支持されている。
一対のサイドフレーム14は、一対のフロントサイドフレーム20と、一対のフロアサイドフレーム22と、一対の接続フレーム24とを含んで構成され、一対のフロアサイドフレーム22にバッテリーパック26が搭載されている。
【0009】
一対のフロントサイドフレーム20は閉断面構造を呈する部材で構成され、車幅方向に間隔をおき車両10の前部で車両前後方向に延在している。
一対のフロアサイドフレーム22は閉断面構造を呈する部材で構成され、一対のフロントサイドフレーム20より後方でかつ車幅方向外側にオフセットした位置で車両前後方向後方に延在しており、一対のフロントサイドフレーム20の後端2002に連結されこの後端2002から車両後方に延在している。
【0010】
図1、図2に示すように、一対の接続フレーム24は、後端が前端より車幅方向外側に位置するように延在され、一対のフロントサイドフレーム20の後端2002と一対のフロアサイドフレーム22の前端2202とを連結している。
接続フレーム24は、直線状に延在するフレーム前部2402およびフレーム後部2404と、それらフレーム前部2402とフレーム後部2404とを接続するフレーム傾斜部2406とを含んで構成されている。
フレーム前部2402はフロントサイドフレーム20の後端2002に連結され、フレーム後部2404はフロアサイドフレーム22の前端2202に連結され、一対の接続フレーム24のフレーム傾斜部2406は、車両後方に至るにつれて車幅方向において互いに離れる方向に変位する傾斜で設けられている。
したがって、フロアサイドフレーム22は、フロントサイドフレーム20に対して車幅方向外側にオフセットされ、フロントサイドフレーム20の車幅方向の間隔よりもフロアサイドフレーム22の車幅方向の間隔が大きくなっている。
(【0011】以降は省略されています)
この特許をJ-PlatPat(特許庁公式サイト)で参照する
関連特許
個人
カート
3か月前
個人
走行装置
4か月前
個人
電動走行車両
4か月前
個人
乗り物
5か月前
個人
発音装置
7か月前
個人
折り畳み自転車
10か月前
個人
閂式ハンドル錠
4か月前
個人
自転車用歩数計
7日前
個人
電動モビリティ
7か月前
個人
駐輪設備
1か月前
個人
自転車用傘捕捉具
11か月前
個人
ボギー・フレーム
2か月前
個人
ルーフ付きトライク
3か月前
個人
ルーフ付きトライク
1か月前
個人
三輪電動車両
7日前
個人
体重掛けリフト台車
11か月前
個人
自由方向乗車自転車
7か月前
個人
“zen-go.”
2か月前
個人
自転車用荷物台
11か月前
個人
キャンピングトライク
9か月前
個人
パワーアシスト自転車
2か月前
個人
アタッチメント
11か月前
個人
ステアリングの操向部材
9か月前
株式会社CPM
駐輪機
12か月前
株式会社三五
リアサブフレーム
10か月前
株式会社豊田自動織機
産業車両
4か月前
個人
フロントフットブレーキ。
4か月前
個人
乗用自動車のディフューザー
27日前
豊田鉄工株式会社
小型車両
3か月前
学校法人千葉工業大学
車両
10か月前
学校法人千葉工業大学
車両
10か月前
学校法人千葉工業大学
車両
10か月前
個人
ホイールハブ駆動構造
4か月前
株式会社オカムラ
搬送用什器
8か月前
個人
自動車のタイヤの位置について
2か月前
個人
ハブモーターの配線構造
1か月前
続きを見る
他の特許を見る