TOP
|
特許
|
意匠
|
商標
特許ウォッチ
Twitter
他の特許を見る
10個以上の画像は省略されています。
公開番号
2025153980
公報種別
公開特許公報(A)
公開日
2025-10-10
出願番号
2024056726
出願日
2024-03-29
発明の名称
押込試験装置、及び押込試験方法
出願人
国立大学法人東京科学大学
,
国立研究開発法人物質・材料研究機構
代理人
個人
主分類
G01N
3/42 20060101AFI20251002BHJP(測定;試験)
要約
【課題】試料のヤング率及び動的粘弾性をより正確に測定できる押込試験装置、及び押込試験方法を提供する。
【解決手段】試料に圧子を押込む、押込試験装置であって、圧子と、前記圧子を上下方向に変位させ得るアクチュエータと、前記圧子の位置を測定する変位センサと、前記圧子にかかる荷重を測定する荷重測定部と、前記圧子の温度を調節する第1温度調節部と、前記圧子の下部に配置され前記試料の温度を調節する第2温度調節部とを備える、押込試験装置。
【選択図】図1
特許請求の範囲
【請求項1】
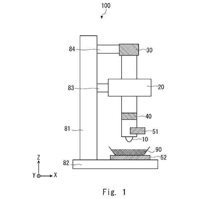
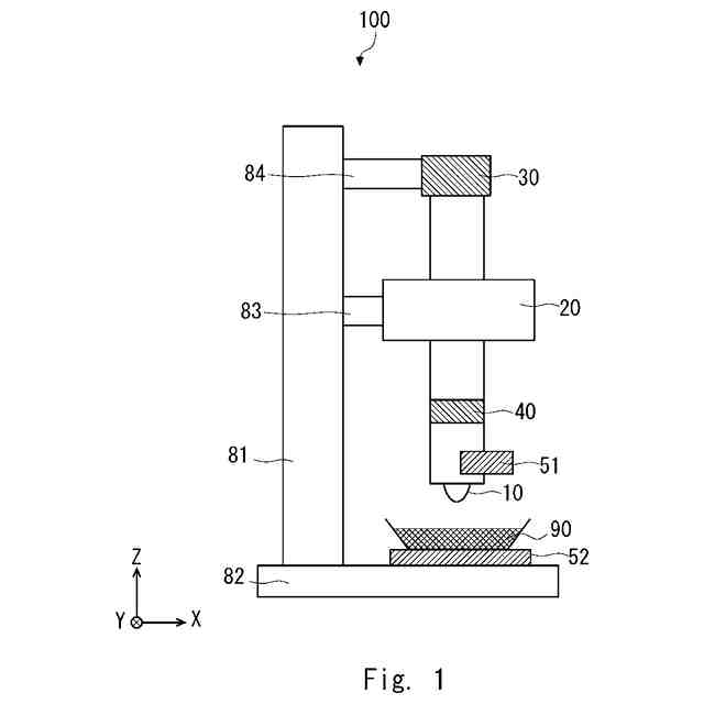
試料に圧子を押込む、押込試験装置であって、
圧子と、
前記圧子を上下方向に変位させ得るアクチュエータと、
前記圧子の位置を測定する変位センサと、
前記圧子にかかる荷重を測定する荷重測定部と、
前記圧子の温度を調節する第1温度調節部と、
前記圧子の下部に配置され、前記試料の温度を調節する第2温度調節部と、
を備える、押込試験装置。
続きを表示(約 760 文字)
【請求項2】
前記圧子の温度を測定する第1温度測定部と、
前記試料の温度を測定する第2温度測定部と、を更に備える、請求項1に記載の押込試験装置。
【請求項3】
前記荷重測定部の温度を調節する第3温度調節部を、更に備える、請求項1に記載の押込試験装置。
【請求項4】
前記第1温度調節部、及び、前記第2温度調節部がヒータであり、前記第3温度調節部がクーラーである、請求項3に記載の押込試験装置。
【請求項5】
試料のヤング率を測定する押込試験方法であって、
圧子の温度と、試料の温度を、調整し、
前記圧子を試料に押込み、
圧子にかかる荷重と、圧子の変位とを測定し、
当該荷重及び変位から、試料のヤング率を算出する、押込試験方法。
【請求項6】
試料の動的粘弾性を測定する押込試験方法であって、
圧子の温度と、試料の温度を、調整し、
前記圧子を一定の振動数で振動させながら試料に押込み、
圧子にかかる荷重と、圧子の変位とを測定し、
当該荷重及び変位から、試料の貯蔵弾性率及び損失弾性率を算出する、押込試験方法。
【請求項7】
試料の動的粘弾性を測定する押込試験方法であって、
圧子を一定の振動数で振動させながら試料に押込み、
圧子と、試料とを、加熱しながら、
圧子にかかる荷重と、圧子の変位とを測定し、
当該荷重及び変位から、試料の貯蔵弾性率及び損失弾性率の温度プロファイルを作成する、押込試験方法。
【請求項8】
前記試料が、熱可塑性樹脂及び/又は硬化性樹脂を含む、請求項5~7のいずれか一項に記載の押込試験方法。
発明の詳細な説明
【技術分野】
【0001】
本発明は、押込試験装置、及び押込試験方法に関する。
続きを表示(約 1,000 文字)
【背景技術】
【0002】
試料の硬さを計測する手法として押込試験が知られている。例えば、特許文献1~5には、圧子と、圧子の位置を変化させるアクチュエータと、圧子の荷重を測定するロードセル等を備えた、押込試験装置及び当該装置を用いた押込試験方法が開示されている。
【先行技術文献】
【特許文献】
【0003】
特開2013-88212号公報
特開2013-160662号公報
特開2017-129557号公報
特開2017-203668号公報
特開2021-103155号公報
【発明の概要】
【発明が解決しようとする課題】
【0004】
本発明は、試料のヤング率及び動的粘弾性をより正確に測定できる押込試験装置、及び押込試験方法の提供を目的とする。
【課題を解決するための手段】
【0005】
本発明に係る押込試験装置は、圧子と、前記圧子を上下方向に加振し得るアクチュエータと、前記圧子の位置を測定する変位センサと、前記圧子にかかる荷重を測定する荷重測定部と、前記圧子の温度を調節する第1温度調節部と、前記圧子の下部に配置され前記試料の温度を調節する第2温度調節部と、を備える。
【0006】
上記押込試験装置は、前記圧子の温度を測定する第1温度測定部と、前記試料の温度を測定する第2温度測定部と、を更に備えていてもよい。
【0007】
上記いずれかの押込試験装置は、前記荷重測定部の温度を調節する第3温度調節部を、更に備えていてもよい。
【0008】
上記いずれかの押込試験装置は、前記第1温度調節部、及び、前記第2温度調節部がヒータであり、前記第3温度調節部がクーラーであってもよい。
【0009】
本発明に係る押込試験方法は、試料のヤング率を測定する押込試験方法であって、
圧子の温度と試料の温度を調整し、前記圧子を試料に押込み、圧子にかかる荷重と圧子の変位とを測定し、当該荷重及び変位から試料のヤング率を算出する。
【0010】
本発明に係る別の押込試験方法は、試料の動的粘弾性を測定する押込試験方法であって、圧子の温度と試料の温度を調整し、前記圧子を一定の振動数で振動させながら試料に押込み、圧子にかかる荷重と圧子の変位とを測定し、当該荷重及び変位から試料の貯蔵弾性率及び損失弾性率を算出する。
(【0011】以降は省略されています)
特許ウォッチbot のツイートを見る
この特許をJ-PlatPat(特許庁公式サイト)で参照する
関連特許
個人
高精度同時多点測定装置
2日前
個人
アクセサリー型テスター
3日前
ダイキン工業株式会社
監視装置
7日前
トヨタ自動車株式会社
監視装置
8日前
株式会社ヨコオ
ソケット
9日前
株式会社ヨコオ
ソケット
8日前
TDK株式会社
磁気センサ
8日前
ローム株式会社
半導体装置
1日前
ローム株式会社
半導体装置
1日前
長崎県
形状計測方法
3日前
TDK株式会社
ガスセンサ
9日前
日本特殊陶業株式会社
センサ
7日前
日本特殊陶業株式会社
センサ
7日前
日本特殊陶業株式会社
センサ
7日前
中国電力株式会社
電柱管理システム
7日前
日本特殊陶業株式会社
センサ
7日前
日本特殊陶業株式会社
センサ
7日前
ダイハツ工業株式会社
移動支援装置
8日前
多摩川精機株式会社
冗長エンコーダ
8日前
三恵技研工業株式会社
融雪レドーム
8日前
TDK株式会社
電磁波センサ
9日前
株式会社デンソー
電流センサ
1日前
日鉄テックスエンジ株式会社
聴音装置
9日前
コイト電工株式会社
座席濡れ検知装置
7日前
株式会社不二越
X線測定システム
2日前
住鉱潤滑剤株式会社
液体導電率測定装置
7日前
ミツミ電機株式会社
超音波風速計
7日前
株式会社トプコン
測定装置
7日前
株式会社トプコン
測定装置
8日前
株式会社不二越
X線測定システム
1日前
株式会社トプコン
測定装置
8日前
大阪瓦斯株式会社
探査装置
8日前
株式会社東京精密
亀裂測定器
7日前
広島県
成形材料挙動検出装置
7日前
住友精密工業株式会社
慣性計測装置
7日前
住友精密工業株式会社
速度検出装置
8日前
続きを見る
他の特許を見る