TOP
|
特許
|
意匠
|
商標
特許ウォッチ
Twitter
他の特許を見る
公開番号
2025151693
公報種別
公開特許公報(A)
公開日
2025-10-09
出願番号
2024053245
出願日
2024-03-28
発明の名称
探査装置
出願人
大阪瓦斯株式会社
代理人
弁理士法人R&C
主分類
G01S
13/88 20060101AFI20251002BHJP(測定;試験)
要約
【課題】埋設管を埋設している舗装多層構造層の情報を把握できる探査装置を提供すること。
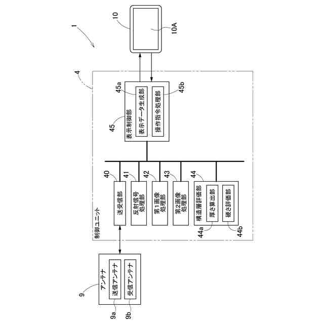
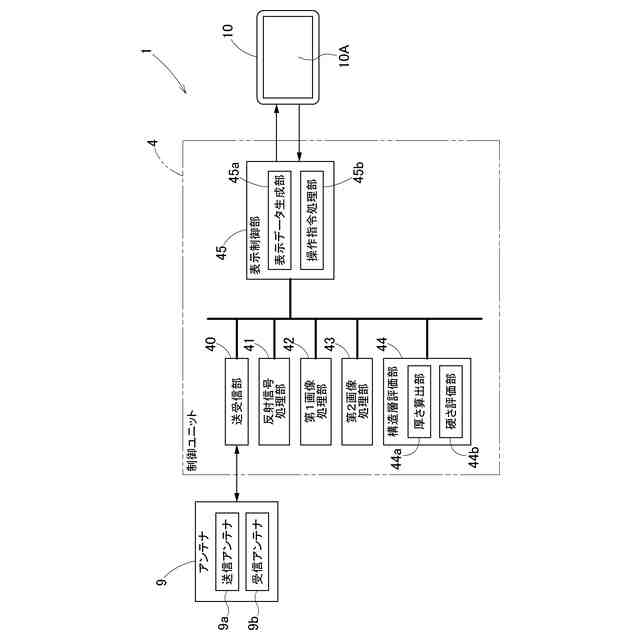
【解決手段】地中レーダを用いた探査装置では、放射したレーダビームの舗装多層構造層からの反射信号に基づいて、舗装多層構造層の断面を示す2次元画像データを生成する反射信号処理部41と、2次元画像データにおいて地表面反射信号を抑制する抑制処理によって第1画像処理データを生成する第1画像処理部42と、第1画像処理データにおける舗装多層構造層の各層の境界を鮮明化する鮮明化処理によって第2画像処理データを生成する第2画像処理部43と、第2画像処理データから、舗装の厚さと路盤の厚さとを算出する厚さ算出部44aとを備える。
【選択図】図2
特許請求の範囲
【請求項1】
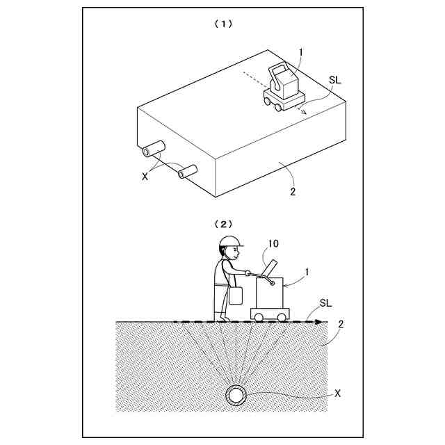
埋設管が埋設されている舗装多層構造層の表面に沿って移動しながら、地中レーダを用いて前記舗装多層構造層の状態を探査する探査装置であって、
放射したレーダビームの前記舗装多層構造層からの反射信号に基づいて、前記舗装多層構造層の断面を示す2次元画像データを生成する反射信号処理部と、
前記2次元画像データにおいて地表面反射信号を抑制する抑制処理によって第1画像処理データを生成する第1画像処理部と、
前記第1画像処理データにおける前記舗装多層構造層を構成する各層の境界を鮮明化する鮮明化処理によって第2画像処理データを生成する第2画像処理部と、
前記第2画像処理データから、舗装の厚さと路盤の厚さとを算出する厚さ算出部と、
を備えた探査装置。
続きを表示(約 660 文字)
【請求項2】
前記2次元画像データから、前記路盤における境界領域に発生する前記レーダビームの多重反射特性を求め、前記多重反射特性に基づいて前記路盤の硬さを判定する硬さ評価部が備えられている請求項1に記載の探査装置。
【請求項3】
前記抑制処理には、1次元FFT処理や相関処理が含まれる請求項1に記載の探査装置。
【請求項4】
前記鮮明化処理には、2次元FFT処理が含まれる請求項1に記載の探査装置。
【請求項5】
前記鮮明化処理は、前記第1画像処理データに対する2次元フーリエ変換とフィルタ処理と逆フーリエ変換とによって、前記境界を鮮明化した境界鮮明画像を前記第2画像処理データとして生成する請求項4に記載の探査装置。
【請求項6】
前記鮮明化処理は、前記抑制処理によって前記地表面反射信号が抑制された表面波抑制画像から、前記2次元FFT処理における横縞除去フィルタ処理と逆フーリエ変換とによって得られた横縞除去画像を引く画像引き算によって、前記舗装多層構造層の各層を鮮明化した複数の横線からなる鮮明化画像を得る処理である請求項4に記載の探査装置。
【請求項7】
探査状況を表示するモニタ装置が備えられ、前記モニタ装置は、前記第2画像処理データに基づく断面画像である探査画像を表示する探査画像表示画面と、前記舗装の厚さと前記路盤の厚さを含む探査結果を表示する探査結果表示画面とを表示する請求項1から6のいずれか一項に記載の探査装置。
発明の詳細な説明
【技術分野】
【0001】
本発明は、埋設管が埋設されている舗装多層構造層の表面に沿って移動しながら、地中レーダを用いて舗装多層構造層の状態を探査する探査装置に関する。
続きを表示(約 2,500 文字)
【背景技術】
【0002】
地中レーダを用いる探査装置は、地中に埋設された埋設管を含む探索範囲において設定された走査ラインに沿って走査されたときに、地中に向けて放射した探査用電磁波の反射波を処理し、走査ラインを含む垂直断面視での埋設管の埋設状況を示す断面データを取得し、当該断面データを表示部に表示する。例えば、特許文献1による探査装置では、探索範囲において互いに平行な複数の走査ラインに基づいて断面データが取得され、取得された断面データにおいて、埋設管が存在する可能性のある位置に埋設管マーカが設定される。
【先行技術文献】
【特許文献】
【0003】
特開2016-57235号公報
【発明の概要】
【発明が解決しようとする課題】
【0004】
ガス管や水道管などの埋設管に対する工事においては、埋設管の位置情報だけでなく、埋設管が埋設されている舗装多層構造層の状態を予測することも重要である。埋設管に対する工事では、まずは、埋設管を露出させるための掘削工事が行われる。その際、施工図面等で確認した舗装厚さよりも非常に厚いアスファルトやセメント混じりの硬い路盤があると、想定した工事費用よりも多額の費用が発生するという問題が生じる。
【0005】
しかしながら、特許文献1のような探査装置では、埋設管の位置情報は把握されるが、埋設管を埋設している舗装多層構造層の情報は把握できない。このため、埋設管を埋設している舗装多層構造層の情報を把握できる探査装置が要望されている。
【課題を解決するための手段】
【0006】
埋設管が埋設されている舗装多層構造層の表面に沿って移動しながら、地中レーダを用いて前記舗装多層構造層の状態を探査する、本発明による探査装置は、放射したレーダビームの前記舗装多層構造層からの反射信号に基づいて、前記舗装多層構造層の断面を示す2次元画像データを生成する反射信号処理部と、前記2次元画像データにおいて地表面反射信号を抑制する抑制処理によって第1画像処理データを生成する第1画像処理部と、前記第1画像処理データにおける前記舗装多層構造層を構成する各層の境界を鮮明化する鮮明化処理によって第2画像処理データを生成する第2画像処理部と、前記第2画像処理データから、舗装の厚さと路盤の厚さとを算出する厚さ算出部と、を備える。
【0007】
この構成によれば、まず、舗装多層構造層の各層からの反射信号に基づく断面画像を示す2次元画像データから、地中の各層からの反射信号ではなく、かつ大きな振幅を有する地表面反射信号が、抑制された第1画像処理データが生成される。さらに、第1画像処理データから、舗装多層構造層の各層の境界が鮮明化された第2画像処理データが生成される。舗装多層構造層には、アスファルト舗装などの舗装の層及び当該舗装を支える路盤の層が含まれているので、第2画像処理データから舗装の厚さ(舗装の厚さ)と路盤の厚さ(路盤の厚さ)とが算出可能となる。舗装及び路盤の下に埋設管が埋設されているので、埋設管を探査する探査装置によって、埋設管を埋設している舗装多層構造層の情報である舗装の厚さと路盤の厚さが把握可能となる。その結果、埋設管の工事費用の見積もりがより正確となる。なお、舗装多層構造層は、地表面から順に、舗装、路盤、路床が位置している。
【0008】
埋設管工事における舗装多層構造層の掘削では施工をスムーズに進められるように、舗装多層構造層に対して事前に切り込みが入れられる。しかしながら、事前に確認された舗装多層構造層の硬さ、特に路盤の硬さが予想以上に硬い場合、特別な器具の準備、切り込みの施工費用の増加といった、不都合が生じる。この問題を回避するためには、事前に、路盤の硬さを正確に把握しておくことが必要である。このことから、本発明では、前記2次元画像データから、前記路盤と前記路盤における境界領域に発生する前記レーダビームの多重反射特性を求め、前記多重反射特性に基づいて前記路盤の硬さを判定する硬さ評価部が備えられている。この探査装置では、路盤の硬さは、舗装と路盤との間の境界や路盤内の境界によって発生する多重反射波に基づいて判定可能である。
【0009】
探査の最初に取得される探査データである2次元画像データにおける地表面反射信号は、探査装置の走査面である地表面からの表面反射波に基づいているので、その反射点の軌跡である表面反射波は、横軸を走査方向、縦軸を舗装多層構造層の深さ方向とする断面画像において実質的に横軸方向に延びている。このことから、1次元FFT(Fast Fourier Transform:高速フーリエ変換)処理で、その表面反射波を除去(抑制)できるフィルタのパラメータを設定し、フィルタリングすることで、表面反射波が2次元画像データから実質的に除去される。あるいは、取得した2次元画像データから作成された標準的な表面反射波を当該2次元画像データで相関処理することで、表面反射波が2次元画像データから実質的に除去される。このように表面反射波が除去された断面画像は視覚的にも把握しやすくなる。このことから、本発明では、前記抑制処理には、1次元FFT処理や相関処理が含まれることが提案される。
【0010】
第1画像処理データにおける舗装多層構造層の各層の境界からの反射波は、各層の種々の深さの反射源から反射されたものであり、複雑な形状、つまり多くの周波数成分を含んでいる。つまり、その反射波は断面画像における横軸方向及び縦軸方向に拡がった波形であり、これを適切な形状に整形(フィルタリング)するためには、2次元FFT処理が好適である。このことから、本発明では、前記鮮明化処理には、2次元FFT処理が含まれることが提案される。
(【0011】以降は省略されています)
この特許をJ-PlatPat(特許庁公式サイト)で参照する
関連特許
大阪瓦斯株式会社
蓄電装置
1か月前
大阪瓦斯株式会社
探査装置
4日前
大阪瓦斯株式会社
給湯装置
14日前
大阪瓦斯株式会社
燃焼装置
5日前
大阪瓦斯株式会社
フライヤー
11日前
大阪瓦斯株式会社
ガスコンロ
14日前
大阪瓦斯株式会社
撥水性塗料
3日前
大阪瓦斯株式会社
ガラス複合体
6日前
大阪瓦斯株式会社
警報システム
5日前
大阪瓦斯株式会社
管理システム
5日前
大阪瓦斯株式会社
鮮度維持装置
24日前
大阪瓦斯株式会社
地中給電設備
24日前
大阪瓦斯株式会社
ガラス複合体
6日前
大阪瓦斯株式会社
燃料電池装置
24日前
大阪瓦斯株式会社
蓄電制御装置
4日前
大阪瓦斯株式会社
高耐熱組成物
4日前
大阪瓦斯株式会社
酸化物複合体
4日前
大阪瓦斯株式会社
蓄電制御装置
18日前
大阪瓦斯株式会社
異常診断装置
25日前
大阪瓦斯株式会社
音声出力装置
5日前
大阪瓦斯株式会社
動作制御装置
4日前
大阪瓦斯株式会社
異常診断装置
25日前
大阪瓦斯株式会社
異常診断装置
25日前
大阪瓦斯株式会社
異常診断装置
25日前
大阪瓦斯株式会社
異常診断装置
25日前
大阪瓦斯株式会社
異常診断装置
25日前
大阪瓦斯株式会社
異常診断装置
25日前
大阪瓦斯株式会社
異常診断装置
25日前
大阪瓦斯株式会社
異常診断装置
25日前
大阪瓦斯株式会社
警報システム
5日前
大阪瓦斯株式会社
蓄電池管理装置
18日前
大阪瓦斯株式会社
熱供給システム
14日前
大阪瓦斯株式会社
燃料電池システム
14日前
大阪瓦斯株式会社
加熱調理システム
11日前
大阪瓦斯株式会社
故障予兆システム
26日前
大阪瓦斯株式会社
燃料電池システム
12日前
続きを見る
他の特許を見る