TOP
|
特許
|
意匠
|
商標
特許ウォッチ
Twitter
他の特許を見る
公開番号
2025154021
公報種別
公開特許公報(A)
公開日
2025-10-10
出願番号
2024056791
出願日
2024-03-29
発明の名称
薬液組成物及び空隙充填用組成物
出願人
旭有機材株式会社
代理人
個人
,
個人
,
個人
主分類
C08G
18/18 20060101AFI20251002BHJP(有機高分子化合物;その製造または化学的加工;それに基づく組成物)
要約
【課題】ポリオールを含む組成物(薬液組成物)と、ポリイソシアネートを含む組成物とからなり、これらが接触してウレタン化反応が開始するまでの時間が十分あり、発泡後に速やかに硬化し、更に、収縮が少なく、脆性もなく、圧縮強度に優れる発泡体を与える空隙充填用組成物及びそれを含む空隙充填用キットを提供する。
【解決手段】本発明の薬液組成物は、ポリイソシアネートと組み合わせて空隙充填用組成物の調製に用いられ、ポリオール及び触媒を含有し、ポリオールが平均分子量300以下の低分子量ポリオールを含み、該低分子量ポリオールの含有割合がポリオールの全量に対して70質量%以上であり、触媒がイミダゾール化合物を含む組成物である。
【選択図】なし
特許請求の範囲
【請求項1】
ポリイソシアネートと組み合わせて空隙充填用組成物の調製に用いられる薬液組成物であって、
ポリオール及び触媒を含有し、
前記ポリオールは平均分子量が300以下の低分子量ポリオールを含み、該低分子量ポリオールの含有割合が前記ポリオールの全量に対して70質量%以上であり、
前記触媒はイミダゾール化合物を含むことを特徴とする薬液組成物。
続きを表示(約 790 文字)
【請求項2】
前記低分子量ポリオールは、平均官能基数が2.5以上の第1ポリオールを含む請求項1に記載の薬液組成物。
【請求項3】
前記低分子量ポリオールは、平均官能基数が2である第2ポリオールを含む請求項1又は2に記載の薬液組成物。
【請求項4】
前記低分子量ポリオールが前記第1ポリオール及び前記第2ポリオールを含む場合、前記第1ポリオール及び前記第2ポリオールの含有割合が、両者の合計を100質量%とした場合に、それぞれ、10~90質量%及び90~10質量%である請求項3に記載の薬液組成物。
【請求項5】
前記ポリオールが、更に、平均分子量が300を超える高分子量ポリオールを含む請求項1に記載の薬液組成物。
【請求項6】
前記ポリオールが、アミン系ポリオールを含む請求項1に記載の薬液組成物。
【請求項7】
前記ポリオールが、エチレンオキサイド単位及びプロピレンオキサイド単位を有するポリエーテルポリオールを含む請求項1に記載の薬液組成物。
【請求項8】
請求項1に記載の薬液組成物と、ポリイソシアネートを含むポリイソシアネート組成物とが組み合わされてなることを特徴とする空隙充填用組成物。
【請求項9】
請求項8に記載の空隙充填用組成物を含むことを特徴とするコーキング材組成物。
【請求項10】
請求項8に記載の空隙充填用組成物が、近接する第1室及び第2室を備える複室型容器に収容された空隙充填用キットであって、
前記第1室には請求項1に記載の薬液組成物が収容されており、前記第2室にはポリイソシアネートを含むポリイソシアネート組成物が収容されていることを特徴とする空隙充填用キット。
(【請求項11】以降は省略されています)
発明の詳細な説明
【技術分野】
【0001】
本発明は、土木現場、建築現場等における空隙部にポリウレタン樹脂発泡体を形成させる空隙充填用組成物及びその調製に用いられる薬液組成物に関する。尚、本明細書における「空隙部」は、2つ以上の物の間の空間、閉塞された空間、穴等の開口部から底部までの全体又は開口部を意味する。
続きを表示(約 3,100 文字)
【背景技術】
【0002】
従来、土木現場、建築現場等において、空隙により地盤や建築物の強度、安定性が損なわれる場合に、ポリウレタン樹脂からなる発泡体を形成することとなる薬剤を空隙部に供給し、発泡・硬化させる工法が適用されている。該薬剤を用いる工法としては、例えば、地盤の表面から内部に通じる穴の開口部を封止するために、主として開口部内に薬剤を供給してポリウレタン樹脂発泡体を形成させるコーキング法が知られている。その場合には、開口部内の所定の位置でポリウレタン樹脂発泡体を形成させるために、予め、可撓性の容器に収容した薬剤を発泡・硬化に供する方法等が適用される(特許文献1参照)。
【先行技術文献】
【特許文献】
【0003】
特開平9-221669号公報
【発明の概要】
【発明が解決しようとする課題】
【0004】
ポリウレタン樹脂発泡体の形成に用いる薬剤は、通常、ポリオールを含むポリオール組成物と、ポリイソシアネートを含むポリイソシアネート組成物とからなる。土木現場、建築現場等においてポリウレタン樹脂発泡体を形成させる薬剤を用いる場合、空隙部への供給時にポリオール組成物と、ポリイソシアネート組成物とが接触してすぐに発泡・硬化が始まると十分な作業時間の確保ができなくなるため、目的の空隙部全体への供給不良が生じないよう薬剤の組成調整が必要である。また、十分な作業時間を確保するために反応速度がゆるやかとなる組成とすると、硬化までの時間も長くなり、空隙部における供給予定部分の空間において発泡不良が生じたり、硬化が大幅に遅くなったりすることがある。従って、供給予定部分のサイズによらず、作業時間が十分とれるようにポリオール組成物と、ポリイソシアネート組成物とが接触してウレタン化反応が開始するまでの時間が十分あり、発泡後に速やかに硬化する薬剤が望まれている。このような薬剤に求められる好ましい性質として、具体的には、ポリオール組成物及びポリイソシアネート組成物の混合開始から発泡が開始されるまでの時間(以下、「クリームタイム」という)と、ポリオール組成物及びポリイソシアネート組成物の混合開始から、増粘が起こってゲル強度が出始めるまでの時間(樹脂化時間。以下、「ゲルタイム」という)との比(クリームタイム/ゲルタイム)を0.40~0.80とするものである。
【0005】
また、空隙部にポリウレタン樹脂発泡体を形成させる目的の1つは、止水効果を付与することである。そのため、収縮が少なく、脆性もなく、圧縮強度に優れる発泡体を与える薬剤が求められている。
【0006】
本発明の課題は、ポリオールを含む組成物(薬液組成物)と、ポリイソシアネートを含む組成物とからなり、これらが接触してウレタン化反応が開始するまでの時間が十分あり、発泡後に速やかに硬化し、更に、収縮が少なく、脆性もなく、圧縮強度に優れる発泡体を与える空隙充填用組成物及びそれを含む空隙充填用キットを提供することである。また、本発明の他の課題は、このような空隙充填用組成物の調製に用いる薬液組成物を提供することである。
【課題を解決するための手段】
【0007】
本発明は以下に示される。
[1]ポリイソシアネートと組み合わせて空隙充填用組成物の調製に用いられる薬液組成物であって、ポリオール及び触媒を含有し、上記ポリオールは平均分子量が300以下の低分子量ポリオールを含み、該低分子量ポリオールの含有割合が上記ポリオールの全量に対して70質量%以上であり、上記触媒はイミダゾール化合物を含むことを特徴とする薬液組成物。
[2]上記低分子量ポリオールは、平均官能基数が2.5以上の第1ポリオールを含む上記[1]に記載の薬液組成物。
[3]上記低分子量ポリオールは、平均官能基数が2である第2ポリオールを含む上記[1]又は[2]に記載の薬液組成物。
[4]上記低分子量ポリオールが上記第1ポリオール及び上記第2ポリオールを含む場合、上記第1ポリオール及び上記第2ポリオールの含有割合が、両者の合計を100質量%とした場合に、それぞれ、10~90質量%及び90~10質量%である上記[3]に記載の薬液組成物。
[5]上記ポリオールが、更に、平均分子量が300を超える高分子量ポリオールを含む上記[1]に記載の薬液組成物。
[6]上記ポリオールが、アミン系ポリオールを含む上記[1]に記載の薬液組成物。
[7]上記ポリオールが、エチレンオキサイド単位及びプロピレンオキサイド単位を有するポリエーテルポリオールを含む上記[1]に記載の薬液組成物。
[8]上記[1]に記載の薬液組成物と、ポリイソシアネートを含むポリイソシアネート組成物とが組み合わされてなることを特徴とする空隙充填用組成物。
[9]上記[8]に記載の空隙充填用組成物を含むことを特徴とするコーキング材組成物。
[10]上記[8]に記載の空隙充填用組成物が、近接する第1室及び第2室を備える複室型容器に収容された空隙充填用キットであって、
上記第1室には請求項1に記載の薬液組成物が収容されており、上記第2室にはポリイソシアネートを含むポリイソシアネート組成物が収容されていることを特徴とする空隙充填用キット。
[11]上記複室型容器が、上記第1室及び上記第2室の間に、上記第1室及び上記第2室を連通可能な仕切部を備え、上記仕切部が開放された場合に上記薬液組成物及び上記ポリイソシアネート組成物が混合されることとなる袋状容器である上記[10]に記載の空隙充填用キット。
【発明の効果】
【0008】
本発明の空隙充填用組成物を用いると、収縮が少なく、脆性もなく、圧縮強度に優れた発泡体を形成することができる。また、ポリオール組成物(薬液組成物)及びポリイソシアネート組成物が接触してウレタン化反応が開始するまでの時間が十分あり、発泡後に速やかに硬化させることができる。従って、本発明の空隙充填用組成物を、土木現場、建築現場等における空隙部に配置すると、上記性質の発泡体を形成することができるので、コーキング材組成物として用い、例えば、空隙部に止水効果を付与することができる。
【図面の簡単な説明】
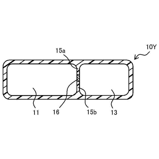
【0009】
本発明の空隙充填用組成物を収容する複室型容器の1例及びその製造方法を示す概略図である。
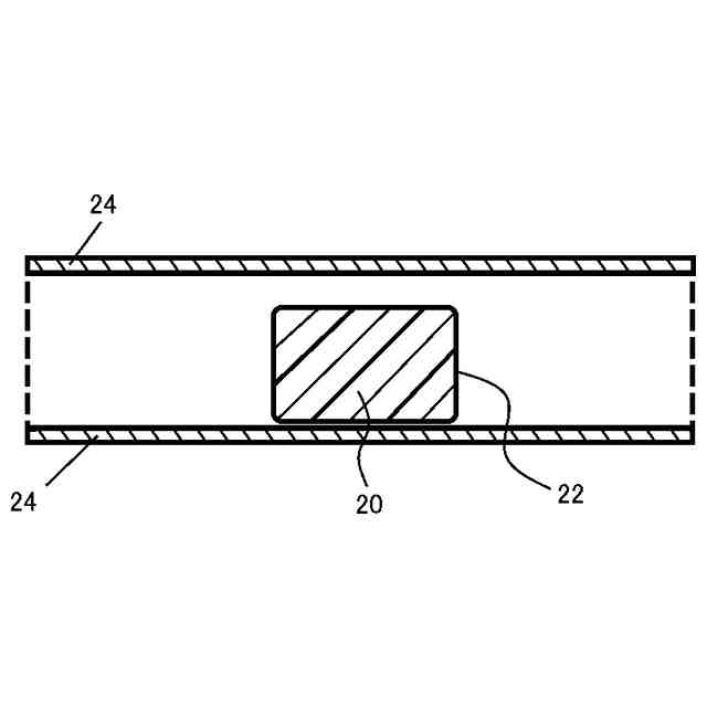
本発明の空隙充填用組成物を収容する複室型容器の他例を示す概略断面図である。
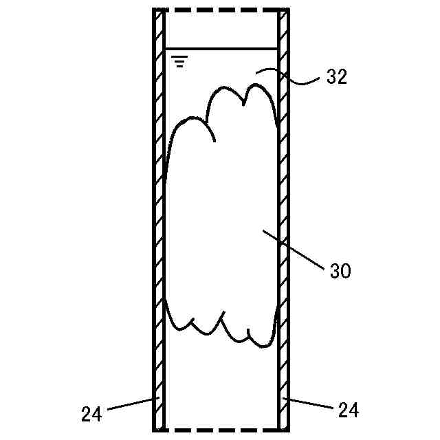
〔実施例〕における空隙充填試験を示す概略説明図である。
〔実施例〕における空隙充填試験で発泡体が形成されたことを示す概略説明図である。
【発明を実施するための形態】
【0010】
以下、本発明を説明する。ここで示す事項は例示的なもの及び本発明の実施形態を例示的に説明するためのものであり、本発明の原理と概念的な特徴とを最も有効に且つ難なく理解できる説明であると思われるものを提供する目的で述べたものである。この点で、本発明の根本的な理解のために必要で、ある程度以上に本発明の構成的な詳細を示すことを意図しておらず、本説明によって本発明の幾つかの形態が実際にどのように具現化されるかを当業者に明らかにするものである。
(【0011】以降は省略されています)
この特許をJ-PlatPat(特許庁公式サイト)で参照する
関連特許
東ソー株式会社
ペレット
9日前
ユニチカ株式会社
透明シート
25日前
株式会社コバヤシ
成形体
22日前
丸住製紙株式会社
変性パルプ
25日前
東レ株式会社
ポリエステルフィルム
29日前
住友精化株式会社
吸水剤の製造方法
1か月前
東レ株式会社
ポリエステルフィルム
7日前
東ソー株式会社
ゴム用接着性改質剤
10日前
東レ株式会社
ポリプロピレンフィルム
21日前
横浜ゴム株式会社
重荷重タイヤ
21日前
東ソー株式会社
樹脂組成物および蓋材
1か月前
東ソー株式会社
樹脂組成物および蓋材
1か月前
株式会社スリーボンド
硬化性樹脂組成物
21日前
日本特殊陶業株式会社
樹脂成形体
1か月前
アイカ工業株式会社
光硬化性樹脂組成物
21日前
UBE株式会社
衝撃吸収材
25日前
株式会社カネカ
シーリング材
14日前
住友化学株式会社
樹脂組成物
21日前
三洋化成工業株式会社
熱成形用樹脂組成物
17日前
ノリタケ株式会社
担体構造体
15日前
住友ベークライト株式会社
ポリマー
10日前
住友ベークライト株式会社
ポリマー
10日前
株式会社カネカ
硬化性組成物
1か月前
株式会社サンエー化研
フィルム
14日前
株式会社スリーボンド
湿気硬化型樹脂組成物
14日前
東ソー株式会社
温度応答性ビーズの製造方法
1か月前
ユニチカ株式会社
ポリアミド系樹脂フィルム
21日前
ハイモ株式会社
油中水型エマルジョン重合体
21日前
東レ株式会社
ポリエステル組成物の製造方法
28日前
デンカ株式会社
磁性ビーズの製造方法
21日前
東レ株式会社
二軸配向ポリプロピレンフィルム
1か月前
本田技研工業株式会社
樹脂成型品
15日前
株式会社イーテック
組成物
1か月前
アイカ工業株式会社
ビードフィラー用ゴム組成物
1か月前
TOTO株式会社
水まわり部材
15日前
アキレス株式会社
生分解性樹脂組成物及び成形体
14日前
続きを見る
他の特許を見る