TOP
|
特許
|
意匠
|
商標
特許ウォッチ
Twitter
他の特許を見る
10個以上の画像は省略されています。
公開番号
2025154312
公報種別
公開特許公報(A)
公開日
2025-10-10
出願番号
2024057235
出願日
2024-03-29
発明の名称
除草装置
出願人
本田技研工業株式会社
代理人
弁理士法人大島特許事務所
主分類
A01B
39/18 20060101AFI20251002BHJP(農業;林業;畜産;狩猟;捕獲;漁業)
要約
【課題】狭い場所の除草であっても、作物やマルチングシートを傷付けずに、作業効率よく除草ができること。
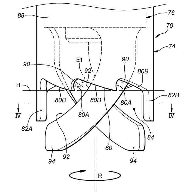
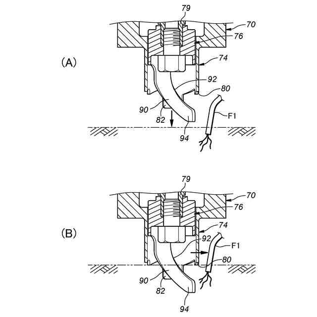
【解決手段】装置本体10に設けられたエンドエフェクタ70を有し、エンドエフェクタ70は、エフェクタ本体72に設けられた下方に向けて開放され筒状をなし、下端に外刃80を有する外刃部材74と、外刃部材74の内部にて外刃部材74に対して上下方向に延在する軸線周りに回動可能にエフェクタ本体72に支持され、外刃80と協働して雑草の剪断を行う内刃92を備えた内刃部材76とを有する。
【選択図】図3
特許請求の範囲
【請求項1】
除草装置であって、
装置本体と、
前記装置本体に設けられたエンドエフェクタとを有し、
前記エンドエフェクタは、
エフェクタ本体と、
前記エフェクタ本体に設けられた下方に向けて開放され筒状をなし、下端に外刃を有する外刃部材と、
前記外刃部材の内部にて前記外刃部材に対して上下方向に延在する軸線周りに回動可能に前記エフェクタ本体に支持され、前記外刃と協働して雑草の剪断を行う内刃を備えた内刃部材とを有する除草装置。
続きを表示(約 610 文字)
【請求項2】
前記外刃部材は、下端から下方に向けて延出する突片を含む請求項1に記載の除草装置。
【請求項3】
前記突片は、前記外刃部材の周方向の2箇所に設けられ、前記突片間に下方が開放された切欠部を画定する請求項2に記載の除草装置。
【請求項4】
前記外刃部材及び前記内刃部材の少なくとも一方を前記軸線周りに回転駆動する刃物駆動装置を更に有する請求項1又は2に記載の除草装置。
【請求項5】
前記外刃は鋸歯状に形成されている部分を含む請求項1又は2に記載の除草装置。
【請求項6】
前記内刃部材は前記外刃部材の前記下端よりも下方の位置にまで延出する攪拌片を有する請求項1又は2に記載の除草装置。
【請求項7】
前記攪拌片は螺旋形状を有する請求項6に記載の除草装置。
【請求項8】
前記エンドエフェクタは、前記装置本体に対して上下方向に移動可能に構成されている請求項1又は2に記載の除草装置。
【請求項9】
前記エンドエフェクタは、前記装置本体に対して水平方向に移動可能に構成されている請求項1又は2に記載の除草装置。
【請求項10】
前記エンドエフェクタは、前記装置本体に対して前記軸線周りに回動可能に構成されている請求項9に記載の除草装置。
(【請求項11】以降は省略されています)
発明の詳細な説明
【技術分野】
【0001】
本発明は除草装置に関する。
続きを表示(約 990 文字)
【背景技術】
【0002】
畑等に生えた雑草を除去する除草装置として、手持ち可能な棒体の下端に固定刃物と回転刃物とを有し、固定刃物に対する回転刃物の回転により、雑草を切断し、除草を行う除草装置が知られている(例えば、特許文献1)。
【0003】
また、ロボットアームの先端に、雑草を把持して引き抜く把持部或いは雑草を切断する回転刃物部を有する除草装置が知られている(例えば、特許文献2)。
【先行技術文献】
【特許文献】
【0004】
登録実用新案第3186198号公報
特開2022-64532号公報
【発明の概要】
【発明が解決しようとする課題】
【0005】
野菜等の露地栽培やハウス土耕栽培においては、作物と作物との間や敷設されたマルチングシートの周辺等の狭い場所の雑草を除去する必要がある。
【0006】
しかし、従来の除草装置は、作物を傷付けずに、作業効率よく雑草を除去することが難しい。
【0007】
本発明は、以上の背景に鑑み、狭い場所であっても、作物を傷付けずに、作業効率よく除草できる除草装置を提供することを課題とする。
【課題を解決するための手段】
【0008】
上記課題を解決するために本発明のある態様は、除草装置(10)であって、装置本体と、前記装置本体に設けられたエンドエフェクタ(70)とを有し、前記エンドエフェクタは、エフェクタ本体(72)と、前記エフェクタ本体に設けられた下方に向けて開放され筒状をなし、下端に外刃(80)を有する外刃部材(74)と、前記外刃部材の内部にて前記外刃部材に対して上下方向に延在する軸線周りに回動可能に前記エフェクタ本体に支持され、前記外刃と協働して雑草の剪断を行う内刃(92)を備えた内刃部材(76)とを有する。
【0009】
この態様によれば、筒状の外刃部材の内部に内刃部材があるため、狭い場所の除草であっても、作物を傷付けずに、作業効率よく除草することができる。
【0010】
上記の態様において、前記外刃部材は、下端から下方に向けて延出する突片(82)を含んでいてもよい。
(【0011】以降は省略されています)
この特許をJ-PlatPat(特許庁公式サイト)で参照する
関連特許
本田技研工業株式会社
車両
4日前
本田技研工業株式会社
車両
5日前
本田技研工業株式会社
車両
5日前
本田技研工業株式会社
車両
4日前
本田技研工業株式会社
清掃装置
5日前
本田技研工業株式会社
電気機器
5日前
本田技研工業株式会社
電気部品
5日前
本田技研工業株式会社
発電セル
4日前
本田技研工業株式会社
排気装置
4日前
本田技研工業株式会社
エンジン
5日前
本田技研工業株式会社
除草装置
4日前
本田技研工業株式会社
排気装置
4日前
本田技研工業株式会社
排気装置
4日前
本田技研工業株式会社
収容装置
5日前
本田技研工業株式会社
制御装置
4日前
本田技研工業株式会社
固体電池
4日前
本田技研工業株式会社
電気機器
5日前
本田技研工業株式会社
内燃機関
4日前
本田技研工業株式会社
樹脂成型品
5日前
本田技研工業株式会社
鞍乗型車両
4日前
本田技研工業株式会社
鞍乗型車両
4日前
本田技研工業株式会社
リアクトル
4日前
本田技研工業株式会社
鞍乗型車両
4日前
本田技研工業株式会社
電極積層体
4日前
本田技研工業株式会社
車両制御装置
4日前
本田技研工業株式会社
電池製造装置
4日前
本田技研工業株式会社
燃料電池構造
4日前
本田技研工業株式会社
作業システム
5日前
本田技研工業株式会社
V型エンジン
5日前
本田技研工業株式会社
鞍乗り型車両
5日前
本田技研工業株式会社
作業システム
4日前
本田技研工業株式会社
移動システム
5日前
本田技研工業株式会社
車両制御装置
4日前
本田技研工業株式会社
作業システム
4日前
本田技研工業株式会社
始動制御装置
4日前
本田技研工業株式会社
鞍乗り型車両
4日前
続きを見る
他の特許を見る