TOP
|
特許
|
意匠
|
商標
特許ウォッチ
Twitter
他の特許を見る
公開番号
2025154580
公報種別
公開特許公報(A)
公開日
2025-10-10
出願番号
2024057666
出願日
2024-03-29
発明の名称
排気装置
出願人
本田技研工業株式会社
代理人
個人
,
個人
主分類
F01N
1/08 20060101AFI20251002BHJP(機械または機関一般;機関設備一般;蒸気機関)
要約
【課題】消音効果とパワーユニットの高トルクを両立できる排気装置を提供する。
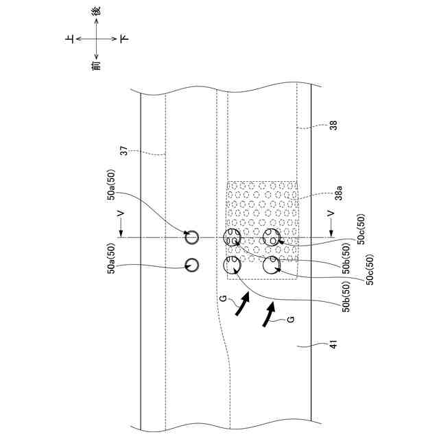
【解決手段】内燃機関を含むパワーユニット(P)の排気ガス(G)を消音するマフラ(33)を有する排気装置(30)において、前記マフラ(33)は、複数のインナパイプ(37,38)が収納された内筒(41)を、前記マフラ(33)の外殻としての外筒(36)の内側に配設した構成とされていると共に、前記内筒(41)と前記外筒(36)との間に、前記内筒(41)と前記外筒(36)との隙間を他の部分より広げることで形成された膨張室(42)が設けられており、前記膨張室(42)を構成する部分の前記内筒(41)に、複数の連通孔(50a,50b,50c)を形成する。前記連通孔(50a,50b,50c)を、前記マフラ(33)の側面視で、前記インナパイプ(37,38)の端部の近傍に形成する。
【選択図】図3
特許請求の範囲
【請求項1】
内燃機関を含むパワーユニット(P)の排気ガス(G)を消音するマフラ(33)を有する排気装置(30)において、
前記マフラ(33)は、複数のインナパイプ(37,38)が収納された内筒(41)を、前記マフラ(33)の外殻としての外筒(36)の内側に配設した構成とされていると共に、前記内筒(41)と前記外筒(36)との間に、前記内筒(41)と前記外筒(36)との隙間を他の部分より広げることで形成された膨張室(42)が設けられており、
前記膨張室(42)を構成する部分の前記内筒(41)に、複数の連通孔(50a,50b,50c)が形成されていることを特徴とする排気装置。
続きを表示(約 560 文字)
【請求項2】
前記連通孔(50a,50b,50c)は、前記マフラ(33)の側面視で、前記インナパイプ(37,38)の端部の近傍に形成されていることを特徴とする請求項1に記載の排気装置。
【請求項3】
前記膨張室(42)は、前記内筒(41)の一部を平板状の平板部(41a)とすることで構成されており、
前記連通孔(50a,50b,50c)が、前記平板部(41a)に形成されていることを特徴とする請求項1または2に記載の排気装置。
【請求項4】
前記膨張室(42)は、前記マフラ(33)の車幅方向内側に設けられていることを特徴とする請求項1または2に記載の排気装置。
【請求項5】
前記連通孔(50a,50b,50c)の直径が、前記外筒(36)と前記平板部(41a)との距離に合わせて変化することを特徴とする請求項3に記載の排気装置。
【請求項6】
前記インナパイプ(37,38)の一部に複数のパンチング孔(38a)が形成されており、
前記連通孔(50a,50b,50c)の少なくとも一部が、前記マフラ(33)の側面視で、前記パンチング孔(38a)と重なる位置に設けられていることを特徴とする請求項1または2に記載の排気装置。
発明の詳細な説明
【技術分野】
【0001】
本発明は、排気装置に係り、特に、内燃機関を含むパワーユニットの排気ガスを浄化および消音して排出する排気装置に関する。
続きを表示(約 1,100 文字)
【背景技術】
【0002】
従来から、内燃機関を含むパワーユニットの排気ガスを浄化および消音して排出する排気装置において、消音効果を高めるために、マフラの内部に配設されるインナパイプに複数のパンチング孔を設けた構成が知られている。
【0003】
特許文献1には、マフラの出口孔に連なるインナパイプの前端部に、複数のパンチング孔を設けた排気装置が開示されている。
【先行技術文献】
【特許文献】
【0004】
特開2011-214462号公報
【発明の概要】
【発明が解決しようとする課題】
【0005】
ここで、マフラの内部に配設されるインナパイプに複数のパンチング孔を設けると、消音効果が高められる一方、排気ガスの抜けがよくなることでパワーユニットのトルクが低減しやすくなり、消音効果とパワーユニットの高トルクを両立できる排気装置を得るためには、依然として工夫の余地があった。
【0006】
本発明の目的は、上記従来技術の課題を解決し、消音効果とパワーユニットの高トルクを両立できる排気装置を提供することにある。
【課題を解決するための手段】
【0007】
前記目的を達成するために、本発明は、内燃機関を含むパワーユニット(P)の排気ガス(G)を消音するマフラ(33)を有する排気装置(30)において、前記マフラ(33)は、複数のインナパイプ(37,38)が収納された内筒(41)を、前記マフラ(33)の外殻としての外筒(36)の内側に配設した構成とされていると共に、前記内筒(41)と前記外筒(36)との間に、前記内筒(41)と前記外筒(36)との隙間を他の部分より広げることで形成された膨張室(42)が設けられており、前記膨張室(42)を構成する部分の前記内筒(41)に、複数の連通孔(50a,50b,50c)が形成されている点に第1の特徴がある。
【0008】
また、前記連通孔(50a,50b,50c)は、前記マフラ(33)の側面視で、前記インナパイプ(37,38)の端部の近傍に形成されている点に第2の特徴がある。
【0009】
また、前記膨張室(42)は、前記内筒(41)の一部を平板状の平板部(41a)とすることで構成されており、前記連通孔(50a,50b,50c)が、前記平板部(41a)に形成されている点に第3の特徴がある。
【0010】
また、前記膨張室(42)は、前記マフラ(33)の車幅方向内側に設けられている点に第4の特徴がある。
(【0011】以降は省略されています)
この特許をJ-PlatPat(特許庁公式サイト)で参照する
関連特許
本田技研工業株式会社
車両
3日前
本田技研工業株式会社
車両
3日前
本田技研工業株式会社
車両
4日前
本田技研工業株式会社
車両
4日前
本田技研工業株式会社
移動体
5日前
本田技研工業株式会社
飛行体
4日前
本田技研工業株式会社
電気機器
4日前
本田技研工業株式会社
保持装置
11日前
本田技研工業株式会社
制御装置
3日前
本田技研工業株式会社
電気機器
5日前
本田技研工業株式会社
固体電池
5日前
本田技研工業株式会社
排気装置
3日前
本田技研工業株式会社
固体電池
3日前
本田技研工業株式会社
除草装置
3日前
本田技研工業株式会社
内燃機関
3日前
本田技研工業株式会社
排気装置
3日前
本田技研工業株式会社
会話装置
10日前
本田技研工業株式会社
電気部品
4日前
本田技研工業株式会社
清掃装置
4日前
本田技研工業株式会社
内燃機関
4日前
本田技研工業株式会社
収容装置
4日前
本田技研工業株式会社
排気装置
3日前
本田技研工業株式会社
電気機器
5日前
本田技研工業株式会社
エンジン
4日前
本田技研工業株式会社
電気機器
4日前
本田技研工業株式会社
ステータ
10日前
本田技研工業株式会社
発電セル
3日前
本田技研工業株式会社
切断装置
10日前
本田技研工業株式会社
全固体電池
5日前
本田技研工業株式会社
鞍乗型車両
3日前
本田技研工業株式会社
電極積層体
3日前
本田技研工業株式会社
鞍乗型車両
3日前
本田技研工業株式会社
リアクトル
3日前
本田技研工業株式会社
樹脂成型品
4日前
本田技研工業株式会社
全固体電池
5日前
本田技研工業株式会社
鞍乗型車両
3日前
続きを見る
他の特許を見る