TOP
|
特許
|
意匠
|
商標
特許ウォッチ
Twitter
他の特許を見る
公開番号
2025154615
公報種別
公開特許公報(A)
公開日
2025-10-10
出願番号
2024057717
出願日
2024-03-29
発明の名称
車両用灯具及び車両用灯具の製造方法
出願人
株式会社小糸製作所
代理人
弁理士法人シリウスIP
,
個人
主分類
F21S
45/50 20180101AFI20251002BHJP(照明)
要約
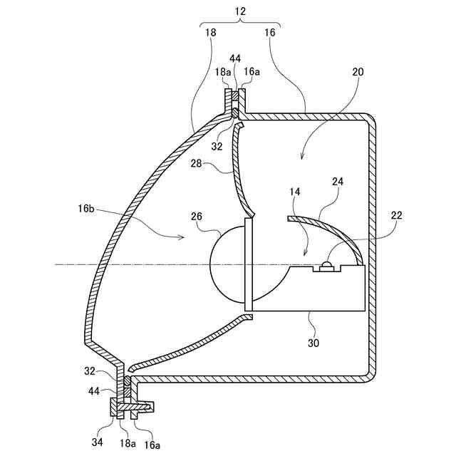
【課題】車両用灯具を構成する部品同士を固定する新たな技術を提供する。
【解決手段】車両用灯具10は、車両用灯具の灯室の一部を構成するランプボディ16と、ランプボディの開口部に装着されることで灯室20を構成する透光部材と、透光部材をランプボディ16に固定する面ファスナ44と、ランプボディ16と透光部材との間に挟持されることで灯室内が封止される封止部材32と、を備える。
【選択図】図1
特許請求の範囲
【請求項1】
車両用灯具の灯室の一部を構成するランプボディと、
前記ランプボディの開口部に装着されることで灯室を構成する透光部材と、
前記透光部材を前記ランプボディに固定する面ファスナと、
前記ランプボディと前記透光部材との間に挟持されることで灯室内が封止される封止部材と、
を備えることを特徴とする車両用灯具。
続きを表示(約 1,200 文字)
【請求項2】
前記封止部材は、前記ランプボディの開口部の縁部に全周に渡って配置されており、
前記面ファスナは、前記封止部材の外周側に配置されていることを特徴とする請求項1に記載の車両用灯具。
【請求項3】
前記面ファスナは、複数箇所に分散配置されていることを特徴とする請求項2に記載の車両用灯具。
【請求項4】
前記面ファスナは、
前記ランプボディ又は前記透光部材の一方に設けられている複数のフック部からなる係合部と、
前記ランプボディ又は前記透光部材の他方に設けられている複数のループ部からなる被係合部と、を有し、
前記係合部と前記被係合部とが接触することで前記透光部材を前記ランプボディに固定することを特徴とする請求項1乃至3のいずれか1項に記載の車両用灯具。
【請求項5】
前記封止部材は、Oリングであり、
前記フック部の高さは、前記Oリングの直径よりも小さいことを特徴とする請求項4に記載の車両用灯具。
【請求項6】
車両用灯具の灯室の一部を構成するランプボディを準備する工程と、
前記ランプボディの開口部に装着されることで灯室を構成する透光部材を準備する工程と、
前記透光部材を前記ランプボディの開口部に装着する装着工程と、を含み、
前記装着工程は、
灯室内を封止する封止部材を前記ランプボディと前記透光部材との間に挟持する挟持工程と、
前記透光部材を面ファスナで前記ランプボディに固定する固定工程と、
を有することを特徴とする車両用灯具の製造方法。
【請求項7】
前記面ファスナは、
前記ランプボディ又は前記透光部材の一方に設けられている複数のフック部からなる係合部と、
前記ランプボディ又は前記透光部材の他方に設けられている複数のループ部からなる被係合部と、を有し、
前記固定工程は、
前記透光部材を前記ランプボディに装着する際に前記係合部と前記被係合部とが固定位置で対向するまで互いが接触しないように前記係合部又は前記被係合部を遮蔽部材で覆う遮蔽工程と、
前記係合部と前記被係合部とが固定位置で対向した状態で前記遮蔽部材を除去する除去工程と、を有することを特徴とする請求項6に記載の車両用灯具の製造方法。
【請求項8】
前記ランプボディは、
前記透光部材が装着される装着方向において前記封止部材を押圧する第1の端面と、
前記第1の端面と交差し、前記係合部又は前記被係合部が設けられている第1の側面と、を有し、
前記透光部材は、
前記装着方向において前記封止部材を押圧する第2の端面と、
前記第2の端面と交差し、前記係合部又は前記被係合部が設けられている第2の側面と、を有することを特徴とする請求項7に記載の車両用灯具の製造方法。
発明の詳細な説明
【技術分野】
【0001】
本発明は、車両用灯具に関する。
続きを表示(約 1,200 文字)
【背景技術】
【0002】
従来、車両用灯具の防水のために、ランプボディの前面開口部に形成されたシール溝と前面レンズのシール脚との係合部に弾性シール材が装填されて係合部がシールされている構造が考案されている(特許文献1参照)。
【先行技術文献】
【特許文献】
【0003】
特開2004-349094号公報
【発明の概要】
【発明が解決しようとする課題】
【0004】
近年、様々な部品のリサイクルが進められており、車両用灯具もその例外ではない。しかしながら、前述の車両用灯具のように2部品の間に装填されている弾性シール材は、部品に強固に接着している場合が多く、部品同士を解体する際の作業性に改善の余地がある。
【0005】
本発明はこうした状況に鑑みてなされたものであり、その例示的な目的の一つは、車両用灯具を構成する部品同士を固定する新たな技術を提供することにある。
【課題を解決するための手段】
【0006】
上記課題を解決するために、本発明のある態様の車両用灯具は、車両用灯具の灯室の一部を構成するランプボディと、ランプボディの開口部に装着されることで灯室を構成する透光部材と、透光部材をランプボディに固定する面ファスナと、ランプボディと透光部材との間に挟持されることで灯室内が封止される封止部材と、を備える。
【0007】
この態様によると、ランプボディと透光部材とを面ファスナで簡易に固定できる。また、封止部材がランプボディと透光部材との間に挟持されることで防水性を向上できる。
【0008】
封止部材は、ランプボディの開口部の縁部に全周に渡って配置されており、面ファスナは、封止部材の外周側に配置されていてもよい。これにより、防水性を満たしつつ、面ファスナの配置の自由度が増し、部品同士の固定作業がしやすくなる。
【0009】
面ファスナは、複数箇所に分散配置されていてもよい。これにより、面ファスナを設けるためのコストや手間を低減できる。
【0010】
面ファスナは、ランプボディ又は透光部材の一方に設けられている複数のフック部からなる係合部と、ランプボディ又は透光部材の他方に設けられている複数のループ部からなる被係合部と、を有してもよい。係合部と被係合部とが接触することで透光部材をランプボディに固定してもよい。これにより、係合部と被係合部とを接触させることで、最終的には係合部と被係合部とが強固に係合され、部品同士が固定される。ここで、係合部と被係合部とが接触することで部品同士が固定されるとは、接触している係合部の一部と被係合部の一部とがミクロに見て係合している状態が含まれる。
(【0011】以降は省略されています)
この特許をJ-PlatPat(特許庁公式サイト)で参照する
関連特許
個人
室外機器
3か月前
個人
照明システム
3か月前
個人
車載機器の通気構造
1か月前
個人
気泡を用いた遊具。
5か月前
株式会社遠藤照明
照明装置
22日前
株式会社遠藤照明
照明器具
4か月前
株式会社小糸製作所
車両用灯具
4日前
個人
LEDライト
3か月前
能美防災株式会社
表示灯
1か月前
デンカ株式会社
照明装置
3か月前
株式会社小糸製作所
車両用灯具
4日前
デンカ株式会社
道路用照明
3か月前
スタンレー電気株式会社
照射用光源
8日前
株式会社小糸製作所
投光装置
1か月前
株式会社小糸製作所
投光装置
1か月前
瀧住電機工業株式会社
ダクトレール
7か月前
株式会社小糸製作所
誘導装置
15日前
アクア株式会社
冷蔵庫
2か月前
フルトラム株式会社
光学機器
3日前
株式会社小糸製作所
車両用灯具
3か月前
株式会社小糸製作所
車両用灯具
6か月前
株式会社小糸製作所
描画用灯具
6か月前
株式会社小糸製作所
車両用灯具
3か月前
株式会社小糸製作所
表示用灯具
8日前
株式会社小糸製作所
表示用灯具
8日前
株式会社小糸製作所
車両用灯具
6か月前
株式会社小糸製作所
車両用灯具
4か月前
株式会社小糸製作所
車両用灯具
4か月前
株式会社小糸製作所
車両用灯具
6か月前
株式会社小糸製作所
車両用灯具
3か月前
株式会社小糸製作所
車両用灯具
4か月前
株式会社小糸製作所
車両用灯具
3か月前
株式会社小糸製作所
車両用灯具
3か月前
株式会社小糸製作所
車両用灯具
6か月前
株式会社小糸製作所
車両用灯具
6か月前
株式会社オカムラ
間仕切り装置
7か月前
続きを見る
他の特許を見る