TOP
|
特許
|
意匠
|
商標
特許ウォッチ
Twitter
他の特許を見る
10個以上の画像は省略されています。
公開番号
2025154866
公報種別
公開特許公報(A)
公開日
2025-10-10
出願番号
2024058109
出願日
2024-03-29
発明の名称
燃料電池スタック
出願人
本田技研工業株式会社
代理人
個人
,
個人
主分類
H01M
8/2465 20160101AFI20251002BHJP(基本的電気素子)
要約
【課題】セル積層体の移動を制限する制限部材を、セル積層体に容易かつ均等に押し当てる。
【解決手段】燃料電池スタックは、複数の発電セルを所定方向に積層して構成されたセル積層体と、セル積層体を包囲する筐体と、筐体の側壁に設けられた開口を介して一端面がセル積層体の外側面に当接され、セル積層体の所定方向に直交する方向の移動を制限する制限部材と、制限部材の他端面を支持するとともに、開口を覆うように設けられた支持部材と、支持部材を側壁の表面に向けて押圧する押圧部材と、を備える。筐体は、側壁の外側に、側壁の表面から所定距離隔てて側壁と略平行に延在する外側側壁を有し、押圧部材は、制限部材がセル積層体に対し所定の押圧力を付与するように外側側壁と支持部材との間に介装されている。
【選択図】図4
特許請求の範囲
【請求項1】
複数の発電セルを所定方向に積層して構成されたセル積層体と、
前記セル積層体を包囲する筐体と、
前記筐体の側壁に設けられた開口を介して一端面が前記セル積層体の外側面に当接され、前記セル積層体の前記所定方向に直交する方向の移動を制限する制限部材と、
前記制限部材の他端面を支持するとともに、前記開口を覆うように設けられた支持部材と、
前記支持部材を前記側壁の表面に向けて押圧する押圧部材と、を備え、
前記筐体は、前記側壁の外側に、前記側壁の表面から所定距離隔てて前記側壁と略平行に延在する外側側壁を有し、
前記押圧部材は、前記制限部材が前記セル積層体に対し所定の押圧力を付与するように前記外側側壁と前記支持部材との間に介装されていることを特徴とする燃料電池スタック。
続きを表示(約 420 文字)
【請求項2】
請求項1に記載の燃料電池スタックにおいて、
前記外側側壁には、前記開口に対向して外側開口が設けられ、
前記押圧部材は、前記外側開口に対向する前記支持部材の所定領域を挟むように設けられた一対の押圧部を有することを特徴とする燃料電池スタック。
【請求項3】
請求項1に記載の燃料電池スタックにおいて、
前記支持部材は、前記側壁の前記表面に当接する第1面と、前記第1面の反対側の第2面とを有し、
前記第2面は、前記側壁の前記表面に対し傾斜した傾斜面を形成し、
前記押圧部材は、前記第2面と前記外側側壁との間に差し込まれる楔形状に構成されることを特徴とする燃料電池スタック。
【請求項4】
請求項1から3のいずれか1項に記載の燃料電池スタックにおいて、
前記開口からのガスの漏れを防止するシール部材をさらに備えることを特徴とする燃料電池スタック。
発明の詳細な説明
【技術分野】
【0001】
本発明は、燃料電池スタックに関する。
続きを表示(約 1,700 文字)
【背景技術】
【0002】
近年、より多くの人が手ごろで信頼でき、持続可能かつ先進的なエネルギへのアクセスを確保できるようにするため、エネルギの効率化に貢献する燃料電池に関する技術開発が行われている。この種の燃料電池に用いられる燃料電池スタックに関する技術として、従来、セル積層体とケースとの間に介在層を配設するようにした技術が知られている(例えば特許文献1参照)。特許文献1では、圧縮体をボルトによりケースに締結することで、圧縮体を介して介在層を押圧する。
【先行技術文献】
【特許文献】
【0003】
特許第6512118号公報
【発明の概要】
【発明が解決しようとする課題】
【0004】
しかしながら、上記特許文献1記載の技術のように、ボルトのねじ込みにより介在層を押圧する構成では、ボルトのねじ込み時の荷重の管理が難しく、介在層を均等に押し当てることが難しい。
【課題を解決するための手段】
【0005】
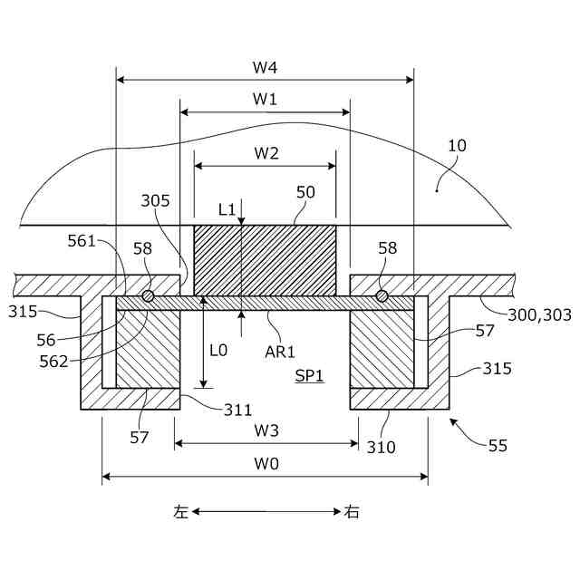
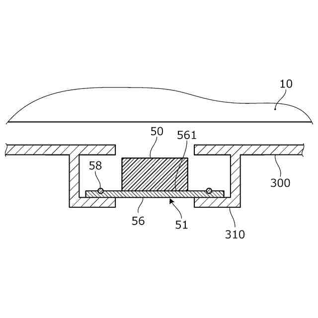
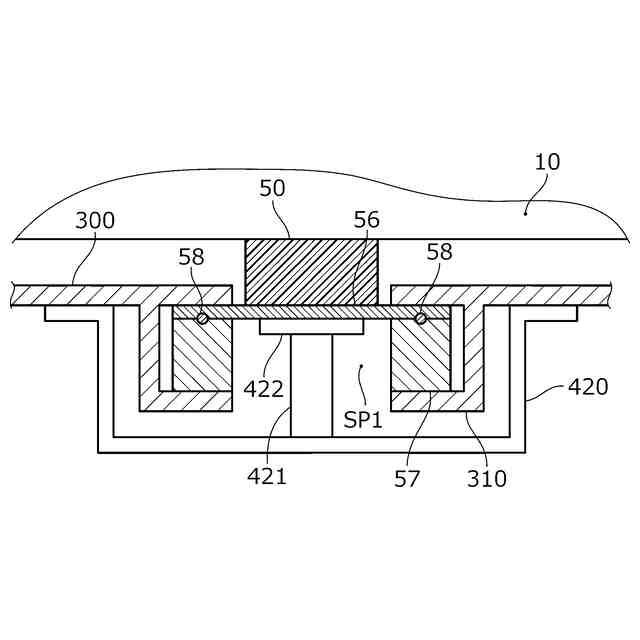
本発明の一態様である燃料電池スタックは、複数の発電セルを所定方向に積層して構成されたセル積層体と、セル積層体を包囲する筐体と、筐体の側壁に設けられた開口を介して一端面がセル積層体の外側面に当接され、セル積層体の所定方向に直交する方向の移動を制限する制限部材と、制限部材の他端面を支持するとともに、開口を覆うように設けられた支持部材と、支持部材を側壁の表面に向けて押圧する押圧部材と、を備える。筐体は、側壁の外側に、側壁の表面から所定距離隔てて側壁と略平行に延在する外側側壁を有し、押圧部材は、制限部材がセル積層体に対し所定の押圧力を付与するように外側側壁と支持部材との間に介装されている。
【発明の効果】
【0006】
本発明によれば、制限部材をセル積層体に容易かつ均等に押し当てることができる。
【図面の簡単な説明】
【0007】
本発明の実施形態に係る燃料電池スタックの全体構成を概略的に示す斜視図。
図1のII-II線に沿った断面図。
図1のIII-III線に沿った断面図。
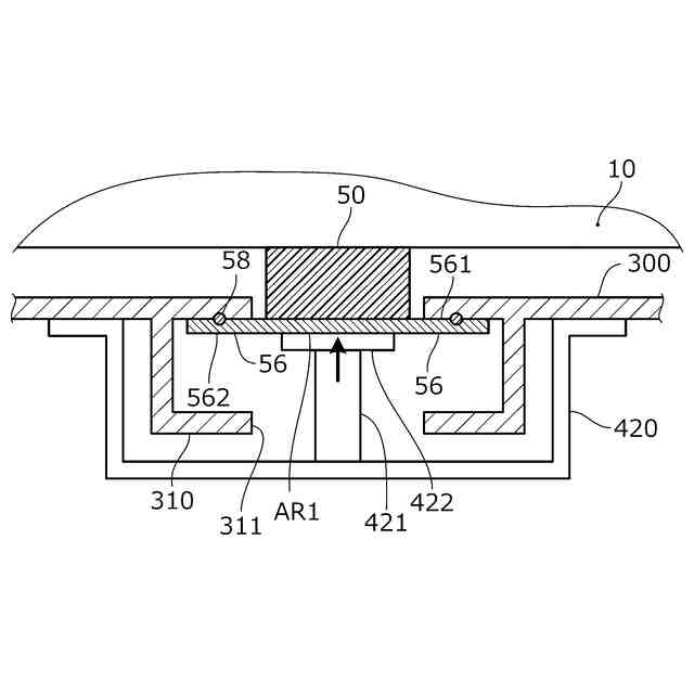
図2のIV部拡大図。
図4の支持部に含まれるシムの正面図。
図5Aの変形例を示す図。
図4の制限部材の取付手順を説明する図。
図6Aに続く制限部材の取付手順を説明する図。
図6Bに続く制限部材の取付手順を説明する図。
図5Bのシムを用いた場合の支持部の構成を説明する図。
図4の変形例を示す図。
図8の制限部材の取付手順を説明する図。
図9Aに続く制限部材の取付手順を説明する図。
【発明を実施するための形態】
【0008】
以下、図1~図9Bを参照して本発明の実施形態について説明する。本発明の実施形態に係る燃料電池スタックは、燃料電池の主たる要素を構成する。燃料電池は、例えば車両に搭載され、車両駆動用の電力を発生することができる。燃料電池は、航空機や船舶等の車両以外の移動体、ロボットの他、各種産業機械に搭載することもできる。
【0009】
図1は、本発明の実施形態に係る燃料電池スタック100の全体構成を概略的に示す斜視図である。以下では、便宜上、図示のように互いに直交する三軸方向を、前後方向、左右方向および上下方向と定義し、この定義に従い各部の構成を説明する。これらの方向は、車両の前後方向、左右方向および上下方向と同一であるとは限らない。図1の前後方向は、燃料電池スタック100の積層方向であり、燃料電池スタック100の組立時には積層方向を重力方向に一致させる。
【0010】
図1に示すように、燃料電池スタック100は、セル積層体10と、セル積層体10の前後両端部に配置されたエンドユニット40と、セル積層体10の周囲に配置されたケース30と、を有し、全体が略直方体形状を呈する。燃料電池スタック100の左右方向の長さは、上下方向の長さよりも長い。
(【0011】以降は省略されています)
特許ウォッチbot のツイートを見る
この特許をJ-PlatPat(特許庁公式サイト)で参照する
関連特許
本田技研工業株式会社
車両
3日前
本田技研工業株式会社
車両
2日前
本田技研工業株式会社
車両
3日前
本田技研工業株式会社
車両
2日前
本田技研工業株式会社
移動体
4日前
本田技研工業株式会社
飛行体
3日前
本田技研工業株式会社
固体電池
2日前
本田技研工業株式会社
エンジン
3日前
本田技研工業株式会社
除草装置
2日前
本田技研工業株式会社
電気機器
4日前
本田技研工業株式会社
排気装置
2日前
本田技研工業株式会社
発電セル
2日前
本田技研工業株式会社
制御装置
2日前
本田技研工業株式会社
内燃機関
2日前
本田技研工業株式会社
電気機器
3日前
本田技研工業株式会社
排気装置
2日前
本田技研工業株式会社
電気機器
3日前
本田技研工業株式会社
内燃機関
3日前
本田技研工業株式会社
電気部品
3日前
本田技研工業株式会社
清掃装置
3日前
本田技研工業株式会社
収容装置
3日前
本田技研工業株式会社
排気装置
2日前
本田技研工業株式会社
リアクトル
2日前
本田技研工業株式会社
鞍乗型車両
2日前
本田技研工業株式会社
樹脂成型品
3日前
本田技研工業株式会社
全固体電池
4日前
本田技研工業株式会社
全固体電池
4日前
本田技研工業株式会社
鞍乗型車両
2日前
本田技研工業株式会社
鞍乗型車両
2日前
本田技研工業株式会社
電極積層体
2日前
本田技研工業株式会社
電池製造装置
2日前
本田技研工業株式会社
作業システム
2日前
本田技研工業株式会社
作業システム
2日前
本田技研工業株式会社
車両制御装置
2日前
本田技研工業株式会社
燃料電池構造
2日前
本田技研工業株式会社
鞍乗り型車両
2日前
続きを見る
他の特許を見る