TOP
|
特許
|
意匠
|
商標
特許ウォッチ
Twitter
他の特許を見る
10個以上の画像は省略されています。
公開番号
2025154928
公報種別
公開特許公報(A)
公開日
2025-10-10
出願番号
2024058229
出願日
2024-03-29
発明の名称
バスバークランプ装置
出願人
本田技研工業株式会社
代理人
個人
,
個人
主分類
H01M
50/517 20210101AFI20251002BHJP(基本的電気素子)
要約
【課題】バスバーをクランプする作業の機能性を確保しつつも、作用対の駆動システムをシンプルに構成する。
【解決手段】バスバークランプ装置は、ベース部材と移動装置と第1作用部と2作用部と駆動装置と制御装置とを備える。移動装置は、ベース部材を移動させる。第1作用部は、ベース部材に取り付けられており、クランプするバスバーよりもX+側に配される。第2作用部は、ベース部材にX方向に相対移動可能に取り付けられており、クランプするバスバーよりもX-側に配される。駆動装置は、ベース部材に対して第2作用部をX方向に相対移動させる。制御装置は、移動装置によってベース部材をX-側に移動させて第1作用部を当該X-側に移動させてから、駆動装置によって第2作用部をX+側に移動させる。それによって、第1作用部と第2作用部とでバスバーをX方向にクランプする。
【選択図】図17
特許請求の範囲
【請求項1】
所定のX方向にバッテリセルを並べて複数備え、前記バッテリセルは、前記X方向に直交するY方向に突出するタブリードを備えるセル積層体について、
バスバーを、隣接する前記タブリードと共にクランプするバスバークランプ装置であって、
ベース部材と、
前記ベース部材を移動させる移動装置と、
前記ベース部材に取り付けられており、クランプする前記バスバーよりも、前記X方向の一方側としてのX+側に配される第1作用部と、
前記ベース部材に前記X方向に相対移動可能に取り付けられており、クランプする前記バスバーよりも、前記X+側の反対側としてのX-側に配される第2作用部と、
前記ベース部材に対して前記第2作用部を前記X方向に相対移動させる駆動装置と、
前記移動装置と前記駆動装置とを制御する制御装置と、を備え、
前記制御装置は、前記移動装置によって前記ベース部材を前記X-側に移動させて前記第1作用部を当該X-側に移動させてから、前記駆動装置によって前記第2作用部を前記X+側に移動させることによって、前記第1作用部と前記第2作用部とで前記バスバーを前記X方向にクランプする、
バスバークランプ装置。
続きを表示(約 740 文字)
【請求項2】
前記バスバーは、前記X方向に移動可能に保持されている、
請求項1に記載のバスバークランプ装置。
【請求項3】
前記第1作用部と前記第2作用部とを有する作用対を複数備え、
前記制御装置は、複数の前記作用対によって複数の前記バスバーを一括でクランプする一括クランプを行う、
請求項1又は2に記載のバスバークランプ装置。
【請求項4】
前記制御装置は、前記X+側から前記X-側に向かって奇数番目および偶数番目のうちの一方の前記バスバーについて、前記一括クランプを行ってから、前記奇数番目および偶数番目のうちの他方の前記バスバーについて、前記一括クランプを行う、
請求項3に記載のバスバークランプ装置。
【請求項5】
前記駆動装置は、前記X方向に並べて設けられており、
各前記駆動装置は、前記X方向および前記Y方向に直交するZ方向に力を加えるエアシリンダと、前記エアシリンダによる前記Z方向への力を前記X方向への力に変換して前記第2作用部に伝える動力変換機構と、を備える、
請求項1又は2に記載のバスバークランプ装置。
【請求項6】
所定の第1位置よりも前記X+側については、より前記X+側の前記駆動装置の重心ほど、当該駆動装置で駆動する前記第2作用部の重心に対する前記X+側へのずれが大きく、
前記第1位置よりも前記X-側の所定の第2位置よりも前記X-側については、より前記X-側の前記駆動装置の重心ほど、当該駆動装置で駆動する前記第2作用部の重心に対する前記X-側へのずれが大きい、
請求項1又は2に記載のバスバークランプ装置。
発明の詳細な説明
【技術分野】
【0001】
本発明は、セル積層体におけるバッテリセルのタブリードどうしを電気的に接続するための技術に関する。
続きを表示(約 1,700 文字)
【背景技術】
【0002】
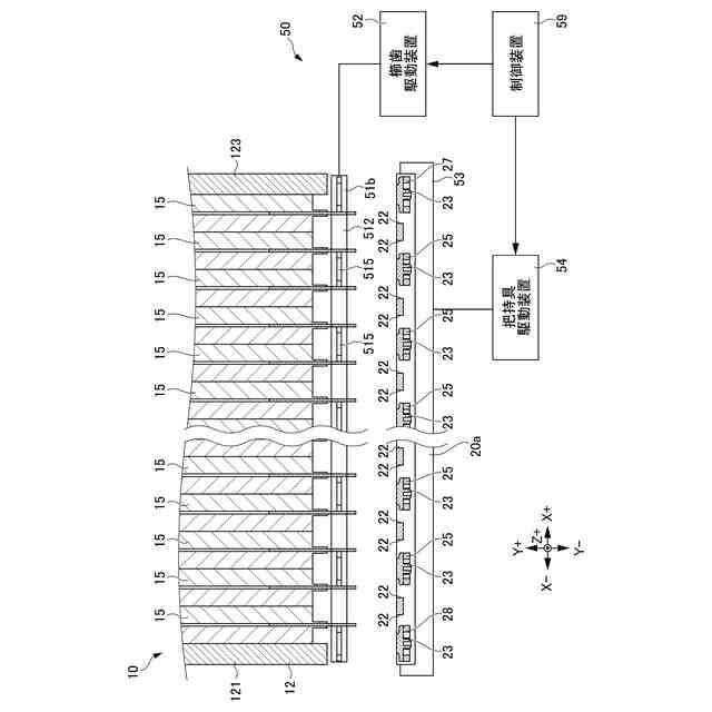
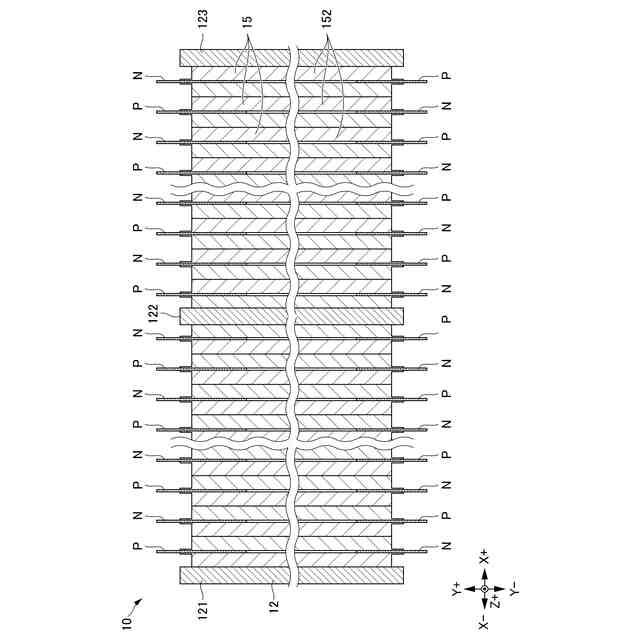
近年は、二酸化炭素の排出を低減して地球環境上の悪影響を低減する等の観点から、EVやHEV等の電動車両の普及が進んでいる。電動車両等に搭載されるバッテリの中には、X方向にバッテリセルを複数並べて備えるセル積層体を備えるものがある。各バッテリセルは、Y方向に突出するタブリードを備える。
【先行技術文献】
【特許文献】
【0003】
特開2023-148244号公報
【発明の概要】
【発明が解決しようとする課題】
【0004】
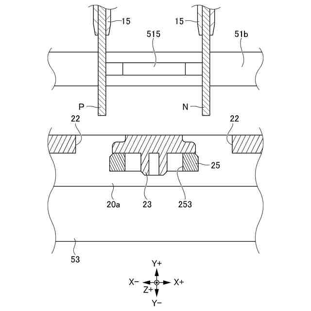
本発明者らは、このようなセル積層体におけるタブリードどうしを、次のようにして電気的に接続することを考えた。まず、セル積層体におけるY方向の端部にバスバーを配する。その状態から、第1作用部と第2作用部とを有する作用対によって、バスバーを、隣接するタブリードと共にクランプする。その状態で、当該タブリードを当該バスバーに溶接する。
【0005】
しかしながら、本発明者らは、この場合において、以下に示す課題があることに着目した。作用対の駆動システムは、設置スペースの制約などから、なるべくシンプルに構成されていることが好ましい。その反面、単に当該駆動システムをシンプルにしただけでは、バスバーをクランプする作業の機能性が低下してしまうおそれがある。
【0006】
本発明は、上記事情に鑑みてなされたものであり、バスバーをクランプする作業の機能性を確保しつつも、作用対の駆動システムをシンプルに構成することを、目的とする。
【課題を解決するための手段】
【0007】
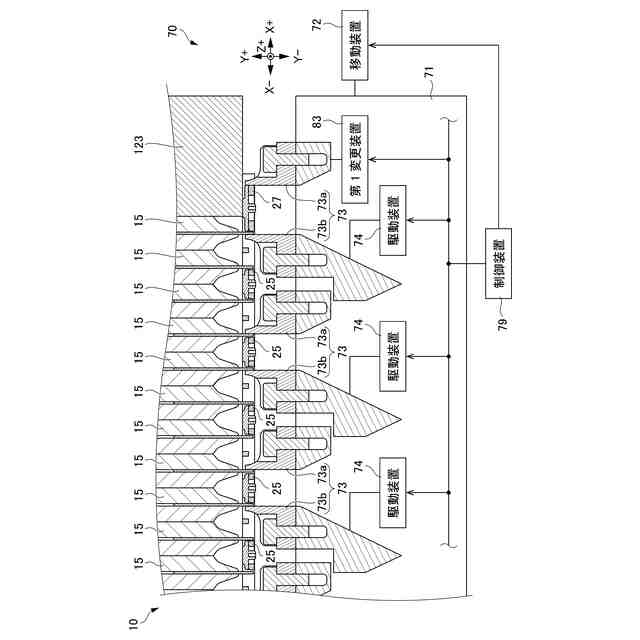
本発明者らは、第1作用部が取り付けられているベース部材をX-側に移動させてから、そのベース部材に対して第2作用部をX+側に相対移動させるようにすれば、上記の目的を達成できることを見出して、本発明に至った。本発明は、以下の(1)~(6)のバスバークランプ装置である。
【0008】
(1)所定のX方向にバッテリセルを並べて複数備え、前記バッテリセルは、前記X方向に直交するY方向に突出するタブリードを備えるセル積層体について、
バスバーを、隣接する前記タブリードと共にクランプするバスバークランプ装置であって、
ベース部材と、
前記ベース部材を移動させる移動装置と、
前記ベース部材に取り付けられており、クランプする前記バスバーよりも、前記X方向の一方側としてのX+側に配される第1作用部と、
前記ベース部材に前記X方向に相対移動可能に取り付けられており、クランプする前記バスバーよりも、前記X+側の反対側としてのX-側に配される第2作用部と、
前記ベース部材に対して前記第2作用部を前記X方向に相対移動させる駆動装置と、
前記移動装置と前記駆動装置とを制御する制御装置と、を備え、
前記制御装置は、前記移動装置によって前記ベース部材を前記X-側に移動させて前記第1作用部を当該X-側に移動させてから、前記駆動装置によって前記第2作用部を前記X+側に移動させることによって、前記第1作用部と前記第2作用部とで前記バスバーを前記X方向にクランプする、
バスバークランプ装置。
【0009】
本構成によれば、第1作用部および第2作用部のうちの第2作用部に対してのみ駆動装置があれば足りる。そのことから、第1作用部および第2作用部の両方に対して駆動装置が必要な場合に比べて、第1作用部および第2作用部を有する作用対の駆動システムをシンプルに構成できる。
【0010】
しかも、制御装置は、ベース部材をX-側に移動させて第1作用部を当該X-側に移動させてから、第2作用部をX+側に移動させることによって、第1作用部と第2作用部とでバスバーをX方向にクランプする。このように、第1作用部についても、ベース部材の移動によってX方向に移動させることによって、バスバーをクランプする作業の機能性を確保できる。
(【0011】以降は省略されています)
この特許をJ-PlatPat(特許庁公式サイト)で参照する
関連特許
本田技研工業株式会社
車両
9日前
本田技研工業株式会社
車両
8日前
本田技研工業株式会社
車両
8日前
本田技研工業株式会社
車両
1日前
本田技研工業株式会社
車両
9日前
本田技研工業株式会社
飛行体
9日前
本田技研工業株式会社
移動体
10日前
本田技研工業株式会社
電気部品
9日前
本田技研工業株式会社
二次電池
4日前
本田技研工業株式会社
内燃機関
9日前
本田技研工業株式会社
触媒装置
4日前
本田技研工業株式会社
収容装置
9日前
本田技研工業株式会社
排気装置
8日前
本田技研工業株式会社
電気機器
10日前
本田技研工業株式会社
固体電池
4日前
本田技研工業株式会社
発電セル
8日前
本田技研工業株式会社
電気機器
9日前
本田技研工業株式会社
固体電池
8日前
本田技研工業株式会社
エンジン
9日前
本田技研工業株式会社
清掃装置
9日前
本田技研工業株式会社
排気装置
8日前
本田技研工業株式会社
制御装置
8日前
本田技研工業株式会社
内燃機関
8日前
本田技研工業株式会社
排気装置
8日前
本田技研工業株式会社
除草装置
8日前
本田技研工業株式会社
固体電池
10日前
本田技研工業株式会社
電気機器
9日前
本田技研工業株式会社
電気機器
10日前
本田技研工業株式会社
樹脂成型品
9日前
本田技研工業株式会社
電動船外機
4日前
本田技研工業株式会社
リアクトル
8日前
本田技研工業株式会社
全固体電池
10日前
本田技研工業株式会社
全固体電池
4日前
本田技研工業株式会社
鞍乗型車両
8日前
本田技研工業株式会社
鞍乗型車両
8日前
本田技研工業株式会社
鞍乗型車両
8日前
続きを見る
他の特許を見る