TOP
|
特許
|
意匠
|
商標
特許ウォッチ
Twitter
他の特許を見る
公開番号
2025155023
公報種別
公開特許公報(A)
公開日
2025-10-14
出願番号
2024058337
出願日
2024-03-30
発明の名称
バッテリシステム
出願人
本田技研工業株式会社
代理人
個人
,
個人
主分類
H01M
10/48 20060101AFI20251003BHJP(基本的電気素子)
要約
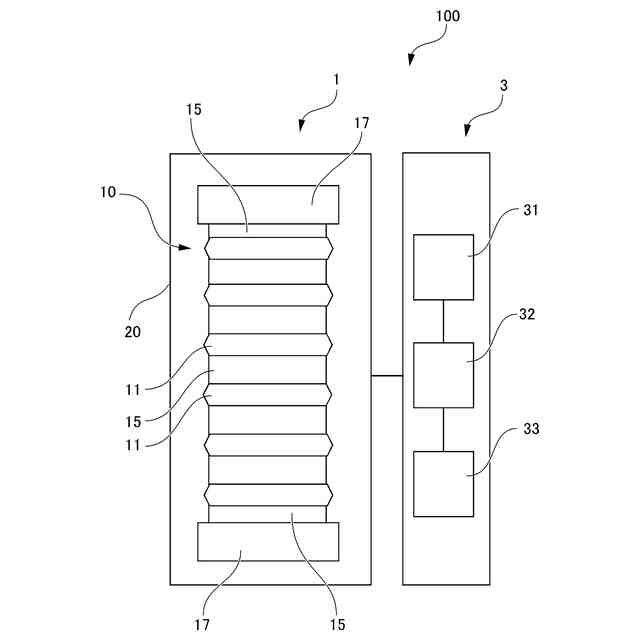
【課題】流体供給装置を特には必要とせずに小型化が容易で、流体クッションを用いて電池セルに対して所定の圧力を均一に付与することができるバッテリシステムを提供すること。
【解決手段】複数個の電池セルを積層したセル積層体と、前記セル積層体の積層方向の両端に配置された一対のエンドプレートとを含み、前記電池セルと前記電池セルとの間及び前記電池セルとエンドプレートとの間の少なくとも一方に流体クッションが配置されているバッテリモジュールと、圧力取得部と、電池セル制御部と、を備え、前記電池セルは、充電率の上昇と伴ってセル厚さが増加し、充電率の下降と伴ってセル厚さが減少し、前記圧力取得部は、前記流体クッションの内圧を取得し、前記制御部は、前記流体クッションの前記内圧に基づいて前記電池セルの充電率及び温度の少なくとも一方を制御する、バッテリシステム。
【選択図】図2
特許請求の範囲
【請求項1】
複数個の電池セルを積層したセル積層体と、前記セル積層体の積層方向の両端に配置された一対のエンドプレートとを含み、前記電池セルと前記電池セルとの間及び前記電池セルとエンドプレートとの間の少なくとも一方に流体クッションが配置されているバッテリモジュールと、
圧力取得部と、電池セル制御部と、を備え、
前記電池セルは、充電率の上昇と伴ってセル厚さが増加し、充電率の下降と伴ってセル厚さが減少し、
前記圧力取得部は、前記流体クッションの内圧を取得し、
前記電池セル制御部は、前記流体クッションの前記内圧に基づいて前記電池セルの充電率及び温度の少なくとも一方を制御する、バッテリシステム。
続きを表示(約 240 文字)
【請求項2】
前記電池セル制御部は、前記流体クッションの前記内圧が予め設定された前記内圧の基準値以上である場合は、前記電池セルの充電率が上昇しない及び温度の少なくとも一方が下降するように制御する、請求項1に記載のバッテリシステム。
【請求項3】
前記電池セル制御部は、前記流体クッションの前記内圧が予め設定された前記内圧の基準値以下である場合は、前記電池セルの充電率及び温度の少なくとも一方が上昇するように制御する、請求項1に記載のバッテリシステム。
発明の詳細な説明
【技術分野】
【0001】
本発明は、バッテリシステムに関する。
続きを表示(約 1,600 文字)
【背景技術】
【0002】
近年、より多くの人々が手ごろで信頼でき、持続可能かつ先進的なエネルギーへのアクセスを確保できるようにするため、エネルギーの効率化に貢献する二次電池に関する研究開発が行われている。電気自動車やハイブリッド電気自動車などの車両用モータの駆動用として、複数個の二次電池を組み合わせたバッテリモジュールを用いたバッテリシステムが利用されている。
【0003】
バッテリシステムでは、ハイレート特性などの電気特性を向上させるために、セル積層体の全固体電池セルに圧力を付与することが行われている。例えば、セル積層体の充電率(SOC)に基づいて、ポンプによって圧力媒体(流体)が供給・排出されることにより膨張・収縮する圧力パックを用いて、セル積層体に付与する圧力を調整することが検討されている(特許文献1)。また、セル積層体の全固体電池セルと全固体電池セルとの間に流体クッションを配置し、その流体クッションの圧力をポンプとバルブを組み合わせた流体圧力調整手段で調整することが検討されている(特許文献2)。
【先行技術文献】
【特許文献】
【0004】
特開2008-288168号公報
欧州特許出願公開第3886202号明細書
【発明の概要】
【発明が解決しようとする課題】
【0005】
ところで、二次電池を用いたバッテリシステムに関する技術においては、小型化が課題の一つである。しかしながら、従来のバッテリシステムでは、セル積層体の電池セルに対して、流体を用いて圧力を付与する場合にはポンプなどの流体供給装置を用いるため、バッテリシステムを小型化することが難しい。
【0006】
本発明は、上記の事情に鑑みてなされたものであり、流体供給装置を特には必要とせずに小型化が容易で、流体クッションを用いて電池セルに対して所定の圧力を均一に付与することができるバッテリシステムを提供することを目的としたものである。そして、延いてはエネルギーの効率化に寄与するものである。
【課題を解決するための手段】
【0007】
本発明者らは、流体クッションの内圧に基づいて電池セルの充電率及び温度の少なくとも一方を制御することによって、上記課題を解決できることを見出し、本発明を完成するに至った。したがって、本発明は、次のものを提供する。
【0008】
(1)複数個の電池セルを積層したセル積層体と、前記セル積層体の積層方向の両端に配置された一対のエンドプレートとを含み、前記電池セルと前記電池セルとの間及び前記電池セルとエンドプレートとの間の少なくとも一方に流体クッションが配置されているバッテリモジュールと、圧力取得部と、電池セル制御部と、を備え、前記電池セルは、充電率の上昇と伴ってセル厚さが増加し、充電率の下降と伴ってセル厚さが減少し、前記圧力取得部は、前記流体クッションの内圧を取得し、前記電池セル制御部は、前記流体クッションの前記内圧に基づいて前記電池セルの充電率及び温度の少なくとも一方を制御する、バッテリシステム。
【0009】
(1)のバッテリシステムは、流体クッションの内圧に基づいて、電池セルの充電率及び温度の少なくとも一方を制御することによって、流体クッションの内圧を調整するので、流体供給装置を用いることを特に必要としない。よって、(1)のバッテリシステムによれば、流体供給装置を用いないことによる小型化が可能となる。
【0010】
(2)前記電池セル制御部は、前記流体クッションの前記内圧が予め設定された前記内圧の基準値以上である場合は、前記電池セルの充電率が上昇しない及び温度の少なくとも一方が下降するように制御する、(1)に記載のバッテリシステム。
(【0011】以降は省略されています)
この特許をJ-PlatPat(特許庁公式サイト)で参照する
関連特許
本田技研工業株式会社
車両
5日前
本田技研工業株式会社
車両
5日前
本田技研工業株式会社
車両
6日前
本田技研工業株式会社
車両
6日前
本田技研工業株式会社
飛行体
6日前
本田技研工業株式会社
二次電池
1日前
本田技研工業株式会社
内燃機関
5日前
本田技研工業株式会社
排気装置
5日前
本田技研工業株式会社
除草装置
5日前
本田技研工業株式会社
制御装置
5日前
本田技研工業株式会社
内燃機関
6日前
本田技研工業株式会社
固体電池
1日前
本田技研工業株式会社
収容装置
6日前
本田技研工業株式会社
清掃装置
6日前
本田技研工業株式会社
触媒装置
1日前
本田技研工業株式会社
電気部品
6日前
本田技研工業株式会社
固体電池
5日前
本田技研工業株式会社
エンジン
6日前
本田技研工業株式会社
排気装置
5日前
本田技研工業株式会社
発電セル
5日前
本田技研工業株式会社
排気装置
5日前
本田技研工業株式会社
電気機器
6日前
本田技研工業株式会社
電気機器
6日前
本田技研工業株式会社
電極積層体
5日前
本田技研工業株式会社
電動船外機
1日前
本田技研工業株式会社
鞍乗型車両
5日前
本田技研工業株式会社
鞍乗型車両
5日前
本田技研工業株式会社
リアクトル
5日前
本田技研工業株式会社
全固体電池
1日前
本田技研工業株式会社
鞍乗型車両
5日前
本田技研工業株式会社
全固体電池
1日前
本田技研工業株式会社
樹脂成型品
6日前
本田技研工業株式会社
始動制御装置
5日前
本田技研工業株式会社
燃料電池構造
5日前
本田技研工業株式会社
燃料電池装置
5日前
本田技研工業株式会社
始動制御装置
5日前
続きを見る
他の特許を見る