TOP
|
特許
|
意匠
|
商標
特許ウォッチ
Twitter
他の特許を見る
公開番号
2025154870
公報種別
公開特許公報(A)
公開日
2025-10-10
出願番号
2024058114
出願日
2024-03-29
発明の名称
燃料電池装置
出願人
本田技研工業株式会社
代理人
個人
,
個人
主分類
H01M
8/0444 20160101AFI20251002BHJP(基本的電気素子)
要約
【課題】水素ガスのカバー内部への長期滞留を防止することができる燃料電池装置の提供。
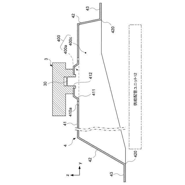
【解決手段】燃料電池装置1は、燃料電池10と、供給配管ユニット2と、水素ガスを検知する水素センサ3と、供給配管ユニット2の上方を覆い、下向きに開口する貯留空間400を有するガス収集カバー4と、を備える。ガス収集カバー4は、カバー最上部位に形成され、カバー内壁が上方に窪んだ第1凹部411と、凹部411の周囲のカバー領域に設けられ、貯留空間400と外部空間とを連通する貫通孔410aと、を有し、水素センサ3は凹部410aの底部に設けられる。
【選択図】図5
特許請求の範囲
【請求項1】
燃料電池と、
前記燃料電池に水素ガスを供給するガス供給路、発電後の余剰ガスを前記燃料電池から排出するガス排出路、および、前記ガス排出路から分岐して前記ガス供給路に接続される還流路を構成する配管ユニットと、
水素ガスを検知する水素センサと、
前記配管ユニットの上方を覆い、下向きに開口する貯留空間を有するガス収集カバーと、を備える燃料電池装置であって、
前記ガス収集カバーは、
カバー最上部位に形成され、カバー内壁が上方に窪んだ第1凹部と、
前記第1凹部の周囲のカバー領域に設けられ、前記貯留空間と外部空間とを連通する貫通孔と、を有し、
前記水素センサは前記第1凹部の底部に設けられることを特徴とする、燃料電池装置。
続きを表示(約 460 文字)
【請求項2】
請求項1に記載の燃料電池装置において、
前記配管ユニットは、前記燃料電池を収納するケース、水素ガスを貯留する水素タンク、前記水素タンクから前記ケースまでの供給配管、前記ケースから前記余剰ガスを排出する排出配管、前記還流路の還流配管、水素ガスの流量を調整する調整機器および水素ガスを噴射して前記燃料電池に供給する噴射装置の内の少なくとも一つを備えることを特徴とする、燃料電池装置。
【請求項3】
請求項1に記載の燃料電池装置において、
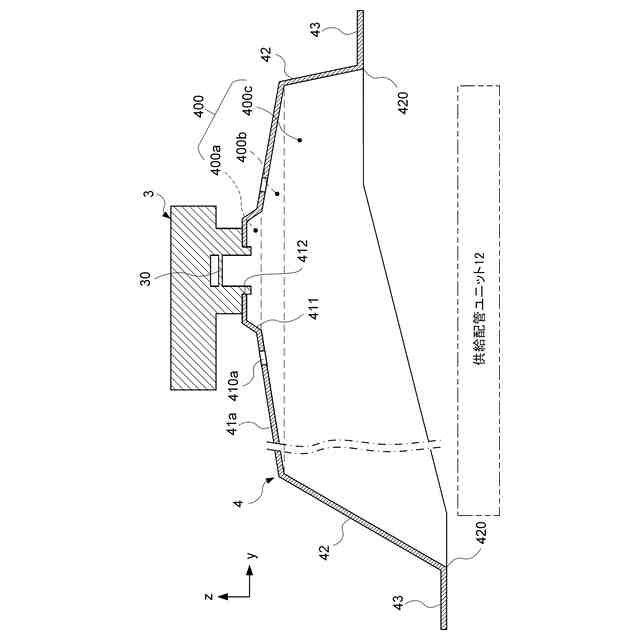
前記第1凹部の周囲の前記カバー領域は、前記貯留空間の前記開口に向けて下り傾斜の傾斜部を成すことを特徴とする、燃料電池装置。
【請求項4】
請求項3に記載の燃料電池装置において、
前記カバー最上部位には、カバー内壁が上方に窪んだ第2凹部をさらに備え、
前記第1凹部は前記第2凹部の底部から上方に窪むように形成され、
前記貫通孔は前記第2凹部の底部に設けられていることを特徴とする、燃料電池装置。
発明の詳細な説明
【技術分野】
【0001】
本発明は、燃料電池装置に関する。
続きを表示(約 2,000 文字)
【背景技術】
【0002】
燃料電池車には、水素を燃料ガスとして用いる燃料電池が搭載されている。このような燃料電池車においては、水素漏れを検知するための水素センサが設けられている。例えば、特許文献1に記載の燃料電池車においては、下向きに開口するカバー部材を燃料電池上部を覆うように設け、カバー部材内の最上部に水素を検知する水素センサを配置している。水素ガスの漏れが発生した場合には、カバー部材内を水素ガスが上昇し、カバー部材内の最上部に配置された水素センサにより検知される。水素ガスの漏れが検知されると燃料電池システムを停止し、水素ガス漏洩による危険性の回避が図られる。
【先行技術文献】
【特許文献】
【0003】
特開2011-79347号公報
【発明の概要】
【発明が解決しようとする課題】
【0004】
ところで、上述したカバー部材の構成においては、漏洩検知により燃料電池システムが停止した後も、高濃度の水素ガスが、下向きに開口するカバー部材に長時間滞留する可能性がある。また、カバー部材内の最上部に配置された水素センサが水素ガスに長時間曝されると、センサ劣化を招く可能性がある。
【課題を解決するための手段】
【0005】
本発明の一態様による燃料電池装置は、燃料電池と、燃料電池に水素ガスを供給するガス供給路、発電後の余剰ガスを燃料電池から排出するガス排出路、および、ガス排出路から分岐してガス供給路に接続される還流路を構成する配管ユニットと、水素ガスを検知する水素センサと、配管ユニットの上方を覆い、下向きに開口する貯留空間を有するガス収集カバーと、を備える。ガス収集カバーは、カバー最上部位に形成され、カバー内壁が上方に窪んだ第1凹部と、第1凹部の周囲のカバー領域に設けられ、貯留空間と外部空間とを連通する貫通孔と、を有し、水素センサは第1凹部の底部に設けられることを特徴とする。
【発明の効果】
【0006】
本発明によれば、水素ガスのカバー内部への長期滞留を防止することができる。
【図面の簡単な説明】
【0007】
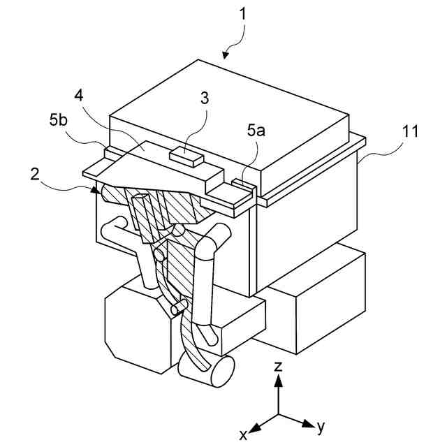
図1は、本実施形態の燃料電池装置の外観を示す図である。
図2は、燃料電池装置が搭載された車両の一例を示す図である。
図3は、図2のA-A断面を示す断面図である。
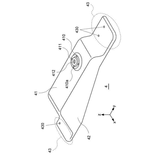
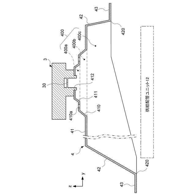
図4は、ガス収集カバーの外観を示す斜視図である。
図5は、水素センサが取り付けられたガス収集カバーの断面図である。
図6は、ガス収集カバーの変形例1を示す図である。
図7は、ガス収集カバーの変形例2を示す図である。
【発明を実施するための形態】
【0008】
以下、図を参照して本発明を実施するための形態について説明する。以下の記載および図面は、本発明を説明するための例示であって、説明の明確化のため、適宜、省略および簡略化がなされている。また、以下の説明では、同一または類似の要素および処理には同一の符号を付し、重複する説明を省略する場合がある。なお、以下に記載する内容はあくまでも本発明の実施の形態の一例を示すものであって、本発明は以下の実施の形態に限定されるものではなく、他の種々の形態でも実施をすることが可能である。
【0009】
図1は、本実施形態の燃料電池装置1の外観を示す図である。本実施形態の燃料電池装置1は、例えば、図2に示すようにトラック等の商用車に搭載されるものであるが、大型船舶や定置型電源にも使用することができる。図2に示すように、大型トラックの場合には運転席が設けられたキャビンの下方のフレーム上に配置される。また、小型トラックや中型トラックの場合には、エンジンルーム等に配置される。
【0010】
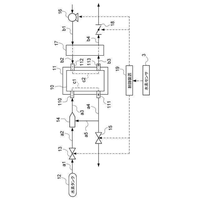
燃料電池装置1は、燃料電池と、燃料電池にアノードガスおよびカソードガスを供給するシステムと、カソードガスである水素ガスの漏洩を検知する水素検知システム等を備えている。燃料電池はケース11の内部に収納されている。図1において、ハッチングを施した部分は、カソードガス供給システムの機器や配管等をから成る供給配管ユニット2を表している。供給配管ユニット2の上方には、水素検知用の水素センサ3が設けられたガス収集カバー4が配置されている。ガス収集カバー4は、供給配管ユニット2から漏洩した水素ガスを収集するためのカバーであり、ブラケット5a,5bによりケース11に固定されている。供給配管ユニット2において水素ガスが漏れる可能性のある部位としては、樹脂で形成された部品、樹脂部品と金属部品との接続境界面、配管接続部などが考えられる。
(【0011】以降は省略されています)
この特許をJ-PlatPat(特許庁公式サイト)で参照する
関連特許
個人
フレキシブル電気化学素子
5日前
株式会社ユーシン
操作装置
5日前
ローム株式会社
半導体装置
7日前
日新イオン機器株式会社
イオン源
1日前
株式会社GSユアサ
蓄電設備
5日前
株式会社GSユアサ
蓄電設備
5日前
太陽誘電株式会社
コイル部品
5日前
オムロン株式会社
電磁継電器
6日前
ノリタケ株式会社
熱伝導シート
5日前
日東電工株式会社
積層体
6日前
トヨタ自動車株式会社
バッテリ
6日前
サクサ株式会社
電池の固定構造
5日前
トヨタ自動車株式会社
蓄電装置
5日前
株式会社ダイヘン
搬送装置
5日前
東レエンジニアリング株式会社
実装装置
6日前
古河電気工業株式会社
端子
5日前
ローム株式会社
半導体装置
7日前
日本製紙株式会社
導電性フィルム
6日前
日東電工株式会社
電子装置
8日前
ローム株式会社
半導体装置
6日前
ベストテック株式会社
装置支持具
5日前
ローム株式会社
半導体装置
7日前
日本製紙株式会社
導電性フィルム
6日前
SMK株式会社
キートップ及びスイッチ
7日前
太陽誘電株式会社
コイル部品
6日前
APB株式会社
二次電池モジュール
5日前
エイブリック株式会社
半導体集積回路装置
1日前
太陽誘電株式会社
コイル部品
1日前
APB株式会社
二次電池モジュール
5日前
太陽誘電株式会社
コイル部品
5日前
日本電気株式会社
レーザモジュール
6日前
株式会社湯原製作所
熱マネジメント用パネル
6日前
株式会社AESCジャパン
電池パック
1日前
本田技研工業株式会社
固体電池
7日前
本田技研工業株式会社
発電セル
5日前
本田技研工業株式会社
二次電池
1日前
続きを見る
他の特許を見る