TOP
|
特許
|
意匠
|
商標
特許ウォッチ
Twitter
他の特許を見る
10個以上の画像は省略されています。
公開番号
2025156441
公報種別
公開特許公報(A)
公開日
2025-10-14
出願番号
2025127825,2021160092
出願日
2025-07-31,2021-09-29
発明の名称
プログラム、コンピュータシステム及びガイダンス提示制御方法
出願人
株式会社バンダイ
代理人
個人
,
個人
,
個人
主分類
G06T
19/00 20110101AFI20251002BHJP(計算;計数)
要約
【課題】ランナーから成形品を切り離し、切り離した複数の成形品を組み立ててオブジェクトを製作する際の製作支援をするための技術を提供すること。
【解決手段】サーバシステム1100は、ランナー16から成形品14を切り離し、切り離した複数の成形品を組み立ててオブジェクトを製作する際の製作支援を行う。具体的には、サーバシステム1100は、ランナー16を撮影した撮影画像36に基づいて、製作オブジェクトを識別し、製作オブジェクトの種類別に用意された製作支援情報の中から識別された製作オブジェクトに該当する製作支援情報を選択し、当該選択した製作支援情報に基づくガイダンス35の提示制御を行う。
【選択図】図4
特許請求の範囲
【請求項1】
ランナーから成形品を切り離し、切り離した複数の成形品を組み立てることによってオブジェクトの製作が完了する前に所与のガイダンスをコンピュータシステムが行うためのプログラムであって、
前記ランナーを読み取る読取手段が読み取った読取情報に基づいて、製作オブジェクトを識別する識別手段、
前記オブジェクト別に用意されたガイダンスデータの中から、前記識別手段により識別された前記製作オブジェクトに該当するガイダンスデータを選択し、当該選択したガイダンスデータに基づくガイダンスの提示制御を行うガイダンス提示制御手段、
として前記コンピュータシステムを機能させるためのプログラム。
続きを表示(約 1,300 文字)
【請求項2】
前記識別手段は、前記読取情報に基づいて読取ランナーを識別するランナー識別手段を有し、当該読取ランナーに基づいて前記製作オブジェクトを識別する、
請求項1に記載のプログラム。
【請求項3】
前記ガイダンスデータは、前記ランナー別に対応づけられており、
前記ガイダンス提示制御手段は、前記読取ランナーに対応づけられたガイダンスデータを選択し、当該選択したガイダンスデータに基づくガイダンスの提示制御を行う、
請求項2に記載のプログラム。
【請求項4】
ランナーから成形品を切り離し、切り離した複数の成形品を組み立てることによってオブジェクトの製作が完了する前に所与のガイダンスをコンピュータシステムが行うためのプログラムであって、
前記ランナーを読み取る読取手段が読み取った読取情報に基づいて、読取ランナーを識別する識別手段、
前記ランナー別に対応づけられたガイダンスデータの中から、前記識別手段により識別された前記読取ランナーに対応づけられたガイダンスデータを選択し、当該選択したガイダンスデータに基づくガイダンスの提示制御を行うガイダンス提示制御手段、
として前記コンピュータシステムを機能させるためのプログラム。
【請求項5】
前記読取手段は、カメラであり、
前記読取情報は、撮影画像であり、
前記識別手段は、前記撮影画像に写っている前記ランナー、及び/又は、当該ランナーに接続された前記成形品に関する、色、形状、及び配置構成のうちの何れかに基づいて、前記読取ランナーを識別する、
請求項2~4の何れか一項に記載のプログラム。
【請求項6】
前記ガイダンスデータは、前記ランナーの組み合わせに対応づけられており、
前記ガイダンス提示制御手段は、前記識別手段により複数の読取ランナーが識別された場合に、当該複数の読取ランナーの組み合わせに対応するガイダンスデータに基づくガイダンスの提示制御を行う、
請求項3又は4に記載のプログラム。
【請求項7】
前記読取情報に基づいて、前記成形品の切り離し状況を検出する切り離し状況検出手段、
として前記コンピュータシステムを更に機能させ、
前記ガイダンス提示制御手段は、前記切り離し状況に基づいて前記ガイダンスの提示制御を行う、
請求項1~6の何れか一項に記載のプログラム。
【請求項8】
ユーザ情報を取得するユーザ情報取得手段、
として前記コンピュータシステムを更に機能させ、
前記ガイダンス提示制御手段は、前記ガイダンスの提示制御を前記ユーザ情報に基づいて変更する制御を行う、
請求項1~7の何れか一項に記載のプログラム。
【請求項9】
前記ユーザ情報は、ユーザの年齢、性別、及び製作経験のうちの何れかの情報を含む、
請求項8に記載のプログラム。
【請求項10】
前記ガイダンス提示制御手段は、前記ガイダンスの提示を時間経過に従って可変に制御する、
請求項1~9の何れか一項に記載のプログラム。
(【請求項11】以降は省略されています)
発明の詳細な説明
【技術分野】
【0001】
本発明は、プログラム等に関する。
続きを表示(約 1,700 文字)
【背景技術】
【0002】
カメラで物体を撮影すると、その結像位置にオブジェクトを配置した仮想空間を表示することで、実世界において組み立て中の当該物体と部品との配置を仮想空間に再現し、次の組み立て行程に係る情報を表示する技術がある(例えば、特許文献1を参照)。ユーザにとっては、部品をどのようにして物体に取り付ければよいかが分かることになる。
【先行技術文献】
【特許文献】
【0003】
特開2015-156131号公報
【発明の概要】
【発明が解決しようとする課題】
【0004】
部品を組み立てて楽しむ物の代表例としてプラスチックモデルがある。プラスチックモデルは、組み立て模型の代表格であって、ユーザ自らが合成樹脂で成形された部品を組み立て、1つの製作オブジェクト(例えば、マンガやアニメに登場するキャラクタやロボット、飛行機や自動車などの乗り物、などの造形物)を完成させることを楽しむ玩具である。
【0005】
プラスチックモデルのパッケージには、複数の部品(以下、「成形品」という)が一体的に成形された1つ又は複数のランナー(或いはランナーブロックともいう)と、組み立て手順書と、が付属している。ユーザは、組み立て手順書を参照しながら、その指示に従って、次の組み立て手順の成形品がランナーのどこにあるかを探し出し、切り離し、そして、組み立てる。こうした一連の作業がプラスチックモデルの楽しみの1つである。
【0006】
製作オブジェクトの構造が複雑になると、ランナー(或いはランナーブロック)の数は勿論のこと、成形品の数や、組み立て手順が多くなる。成形品も似たような形状のものが増える。このため、構造が複雑な製作オブジェクトのプラスチックモデルでは、ユーザが、次の組み立て手順で必要とする成形品をランナーから見つけるのが難しくなる。プラスチックモデルの組み立てに慣れていないユーザには特に難易度が高いものとなる。
【0007】
特許文献1等の従来の技術は、前提として、次に組み立てるべき部品があり、その部品をどのように組み立てるかを案内する技術である。そのため、プラスチックモデルに代表される“ランナーから成形品を探し出して切り離す”という手順を必要とするオブジェクトの製作に関して、従来の技術を適用するこができない。
【0008】
本発明が解決しようとする課題は、ランナーから成形品を切り離し、切り離した複数の成形品を組み立ててオブジェクトを製作する際の製作支援をするための技術を提供すること、である。
【課題を解決するための手段】
【0009】
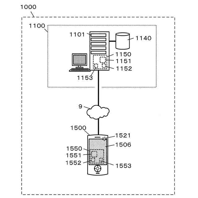
上記した課題を解決するための第1の発明は、ランナーから成形品を切り離し、切り離した複数の成形品を組み立ててオブジェクトを製作する際の製作支援をコンピュータシステムが行うためのプログラムであって、前記ランナーを読み取る読取手段が読み取った読取情報に基づいて、製作オブジェクトを識別する識別手段(例えば、図1の制御基板1150、図9のサーバ処理部200s、識別部220、図10の画像認識辞書データライブラリ510、製作オブジェクト判定基準データ519、図16のステップS12)、
前記オブジェクト別に用意された製作支援情報の中から、前記識別手段により識別された前記製作オブジェクトに該当する製作支援情報を選択し、当該選択した製作支援情報に基づくガイダンスの提示制御を行うガイダンス提示制御手段(例えば、図1の制御基板1150、図9のサーバ処理部200s、ガイダンス提示制御部230、図10のガイダンス提示制御データ610、図17のステップS54)、として前記コンピュータシステムを機能させるためのプログラムである。
【0010】
また、第2の発明は、前記識別手段が、前記読取情報に基づいて読取ランナーを識別するランナー識別手段(例えば、図9のランナー識別部222、図16のステップS12)を有し、当該読取ランナーに基づいて前記製作オブジェクトを識別する、第1の発明のプログラムである。
(【0011】以降は省略されています)
この特許をJ-PlatPat(特許庁公式サイト)で参照する
関連特許
株式会社バンダイ
物品
21日前
株式会社バンダイ
玩具
19日前
株式会社バンダイ
玩具
12日前
株式会社バンダイ
ゲーム装置
21日前
株式会社バンダイ
ゲーム装置
21日前
株式会社バンダイ
ゲーム装置
21日前
株式会社バンダイナムコエクスペリエンス
袋体供給装置
19日前
株式会社バンダイ
演出出力玩具
12日前
株式会社バンダイナムコエクスペリエンス
ゲームシステム
20日前
株式会社バンダイナムコエクスペリエンス
ゲーム装置および操作具
20日前
株式会社バンダイ
プログラム及びゲーム装置
6日前
株式会社バンダイ
プログラム及びゲーム装置
19日前
株式会社バンダイ
ゲーム装置及びプログラム
19日前
株式会社バンダイ
ゲーム装置及びプログラム
19日前
株式会社バンダイ
プログラム及びゲーム装置
19日前
株式会社バンダイ
玩具、及び制御プログラム
8日前
株式会社バンダイ
玩具、及び制御プログラム
8日前
株式会社バンダイ
プログラム、及びゲーム装置
19日前
株式会社バンダイ
プログラム、及びゲーム装置
21日前
株式会社バンダイ
ゲーム玩具、及びプログラム
20日前
株式会社バンダイ
プログラム、及びゲーム装置
21日前
株式会社バンダイ
プログラム、及びゲーム装置
19日前
株式会社バンダイ
プログラム、及びゲーム装置
21日前
株式会社バンダイ
プログラム、及びゲーム装置
13日前
株式会社バンダイ
プログラム、及びゲーム装置
21日前
株式会社バンダイ
プログラム、及びゲーム装置
21日前
株式会社バンダイナムコエンターテインメント
ゲームシステム及びプログラム
19日前
株式会社バンダイナムコエンターテインメント
ゲームシステム及びプログラム
19日前
株式会社バンダイナムコエンターテインメント
ゲームシステム及びプログラム
19日前
株式会社バンダイナムコエンターテインメント
ゲームシステム及びプログラム
19日前
株式会社バンダイナムコエンターテインメント
ゲームシステム及びプログラム
19日前
株式会社バンダイ
プログラム、装置、及びシステム
20日前
株式会社バンダイ
プログラム、装置、及びシステム
20日前
株式会社バンダイ
プログラム、装置、及びシステム
20日前
株式会社バンダイ
プログラム、装置、及びシステム
20日前
株式会社バンダイ
プログラム、装置、及びシステム
20日前
続きを見る
他の特許を見る