TOP
|
特許
|
意匠
|
商標
特許ウォッチ
Twitter
他の特許を見る
公開番号
2025157633
公報種別
公開特許公報(A)
公開日
2025-10-16
出願番号
2024041991
出願日
2024-03-18
発明の名称
正極、固体電池及び固体電池の製造方法
出願人
本田技研工業株式会社
代理人
個人
,
個人
,
個人
,
個人
,
個人
主分類
H01M
4/13 20100101AFI20251008BHJP(基本的電気素子)
要約
【課題】本発明は、固体電池として用いた場合に、正極活物質の体積変化による影響を生じにくい正極を提供することを目的とする。そして、延いてはエネルギーの効率化に寄与するものである。
【解決手段】固体電池の正極であって、
正極活物質と、固体電解質と、導電助剤とを含む正極合材が金属多孔体の孔内に充填されて形成された正極合材層を備え、
前記正極合材層には、第1層と、前記第1層よりも固体電解質層側に設けられる第2層とがあり、
前記第1層に含まれる前記正極合材の質量に対する前記第1層に含まれる前記導電助剤の質量分率よりも、前記第2層に含まれる前記正極合材の質量に対する前記第2層に含まれる前記導電助剤の質量分率の方が高い、正極。
【選択図】図1
特許請求の範囲
【請求項1】
固体電池の正極であって、
正極活物質と、固体電解質と、導電助剤とを含む正極合材が金属多孔体の孔内に充填されて形成された正極合材層を備え、
前記正極合材層には、第1層と、前記第1層よりも固体電解質層側に設けられる第2層とがあり、
前記第1層に含まれる前記正極合材の質量に対する前記第1層に含まれる前記導電助剤の質量分率よりも、前記第2層に含まれる前記正極合材の質量に対する前記第2層に含まれる前記導電助剤の質量分率の方が高い、正極。
続きを表示(約 920 文字)
【請求項2】
前記第1層に含まれる前記正極合材の質量に対する前記第1層に含まれる前記導電助剤の質量分率に対して、前記第2層に含まれる前記正極合材の質量に対する前記第2層に含まれる前記導電助剤の質量分率は、8倍以上10倍以下である、請求項1に記載の正極。
【請求項3】
前記第2層に含まれる前記導電助剤の比表面積は、150m
2
/g以上800m
2
/g未満である、請求項1に記載の正極。
【請求項4】
前記正極活物質は、MnO
2
である、請求項1に記載の正極。
【請求項5】
請求項1乃至4の何れかに記載の正極と、固体電解質層と、リチウムを含む負極とを備えた、固体電池。
【請求項6】
固体電池の製造方法であって、
正極活物質と、固体電解質と、導電助剤とを含む第1の正極合材を第1の金属多孔体に塗工する工程と、
正極活物質と、固体電解質と、導電助剤とを含む第2の正極合材を第2の金属多孔体に塗工する工程と、
前記第1の金属多孔体のうちの、前記固体電解質層側に位置する面に対して、前記第2の金属多孔体を接合する工程と、を含み、
前記第1の正極合材の質量に対する前記第1の正極合材に含まれる前記導電助剤の質量分率よりも、前記第2の正極合材の質量に対する前記第2の正極合材に含まれる前記導電助剤の質量分率の方が高い、固体電池の製造方法。
【請求項7】
固体電池の製造方法であって、
正極活物質と、固体電解質と、導電助剤とを含む第1の正極合材を金属多孔体に塗工する工程と、
前記第1の正極合材が塗工された前記金属多孔体のうちの前記固体電解質層側に位置する面に対して、正極活物質と固体電解質と導電助剤とを含む第2の正極合材を塗工する工程と、を含み、
前記第1の正極合材の質量に対する前記第1の正極合材に含まれる前記導電助剤の質量分率よりも、前記第2の正極合材の質量に対する前記第2の正極合材に含まれる前記導電助剤の質量分率の方が高い、固体電池の製造方法。
発明の詳細な説明
【技術分野】
【0001】
本発明は、正極、固体電池及び固体電池の製造方法に関する。
続きを表示(約 1,500 文字)
【背景技術】
【0002】
近年、より多くの人々が手ごろで信頼でき、持続可能かつ先進的なエネルギーへのアクセスを確保できるようにするため、エネルギーの効率化に貢献する二次電池に関する研究開発が行われている。固体電池はエネルギー密度が高く、幅広い用途で利用されている。特に、リチウムイオン二次電池は、電気自動車(EV)、ハイブリッド電気自動車(HEV)等の動力源としてその重要性はますます高まっている。
【0003】
固体電池の構成としては、容量を高めるために、リチウム二次電池の負極としてリチウムを用いる構成が知られている。この点に関して、特許文献1には、負極にリチウムが含まれ、正極における集電体の貫通孔に正極活物質および導電助剤が充填されることが開示されている。特許文献1における正極合材層は、リチウムイオンを吸蔵する。
【先行技術文献】
【特許文献】
【0004】
特開2023-142796号公報
【発明の概要】
【発明が解決しようとする課題】
【0005】
さらなるエネルギーの効率化に寄与すべく、固体電池は、充放電を繰り返した場合にも電池寿命が維持できること等も求められている。このための要求特性として、例えば、固体電池の充放電を繰り返した際に、正極活物質がリチウムイオン等を吸蔵することに伴う正極活物質の体積変化等の正極の構造変化の制御が挙げられる。正極活物質の体積変化が生じると、層間に隙間ができやすくなることにより固体電池の抵抗が増加することがあり、電子の移動経路の減少も生じ得る。特に、高容量の正極では、正極活物質の体積変化が起こりやすい。
【0006】
このような背景のもと、本発明は、固体電池として用いた場合に、正極活物質の体積変化による影響を生じにくい正極を提供することを目的とする。そして、延いてはエネルギーの効率化に寄与するものである。
【課題を解決するための手段】
【0007】
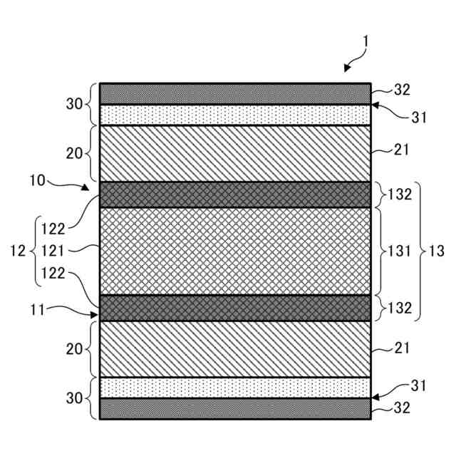
上記目的を達成するために、本発明の請求項1に係る正極は、固体電池の正極であって、正極活物質と、固体電解質と、導電助剤とを含む正極合材が金属多孔体の孔内に充填されて形成された正極合材層を備え、前記正極合材層には、第1層と、前記第1層よりも固体電解質層側に設けられる第2層とがあり、前記第1層に含まれる前記正極合材の質量に対する前記第1層に含まれる前記導電助剤の質量分率よりも、前記第2層に含まれる前記正極合材の質量に対する前記第2層に含まれる前記導電助剤の質量分率の方が高い、正極である。
【0008】
この構成によれば、正極合材層における第2層において導電助剤の質量分率が高い分だけ、正極活物質の体積変化が第2層に与える影響が小さくなり、正極界面における隙間の発生等が抑制される。したがって、固体電池として用いられた場合に、正極活物質の体積変化による影響を生じにくくすることができる。
【0009】
本発明の請求項2に係る発明は、請求項1に記載の正極において、前記第1層に含まれる前記正極合材の質量に対する前記第1層に含まれる前記導電助剤の質量分率に対して、前記第2層に含まれる前記正極合材の質量に対する前記第2層に含まれる前記導電助剤の質量分率は、8倍以上10倍以下である。
【0010】
この構成によれば、正極活物質の体積変化が生じた場合の正極界面における隙間発生の抑制と、エネルギー密度の低下の抑制とを両立することができる。
(【0011】以降は省略されています)
この特許をJ-PlatPat(特許庁公式サイト)で参照する
関連特許
本田技研工業株式会社
車両
25日前
本田技研工業株式会社
車両
18日前
本田技研工業株式会社
車両
25日前
本田技研工業株式会社
車両
26日前
本田技研工業株式会社
車両
26日前
本田技研工業株式会社
飛行体
26日前
本田技研工業株式会社
移動体
27日前
本田技研工業株式会社
排気装置
25日前
本田技研工業株式会社
制御装置
25日前
本田技研工業株式会社
発電セル
25日前
本田技研工業株式会社
固体電池
21日前
本田技研工業株式会社
電気機器
26日前
本田技研工業株式会社
内燃機関
26日前
本田技研工業株式会社
触媒装置
21日前
本田技研工業株式会社
エンジン
26日前
本田技研工業株式会社
二次電池
21日前
本田技研工業株式会社
内燃機関
25日前
本田技研工業株式会社
電気部品
26日前
本田技研工業株式会社
清掃装置
26日前
本田技研工業株式会社
電気機器
26日前
本田技研工業株式会社
収容装置
26日前
本田技研工業株式会社
固体電池
25日前
本田技研工業株式会社
電気機器
27日前
本田技研工業株式会社
電気機器
27日前
本田技研工業株式会社
排気装置
25日前
本田技研工業株式会社
排気装置
25日前
本田技研工業株式会社
除草装置
25日前
本田技研工業株式会社
固体電池
27日前
本田技研工業株式会社
鞍乗型車両
25日前
本田技研工業株式会社
リアクトル
25日前
本田技研工業株式会社
電極積層体
25日前
本田技研工業株式会社
鞍乗型車両
25日前
本田技研工業株式会社
樹脂成型品
26日前
本田技研工業株式会社
鞍乗型車両
25日前
本田技研工業株式会社
全固体電池
27日前
本田技研工業株式会社
全固体電池
27日前
続きを見る
他の特許を見る