TOP
|
特許
|
意匠
|
商標
特許ウォッチ
Twitter
他の特許を見る
10個以上の画像は省略されています。
公開番号
2025157729
公報種別
公開特許公報(A)
公開日
2025-10-16
出願番号
2024059928
出願日
2024-04-03
発明の名称
情報出力装置、情報出力方法および情報出力プログラム
出願人
日本電気株式会社
代理人
個人
,
個人
主分類
H04N
23/60 20230101AFI20251008BHJP(電気通信技術)
要約
【課題】監視の対象の移動体の監視をより容易な方法で実現することを可能にする。
【解決手段】
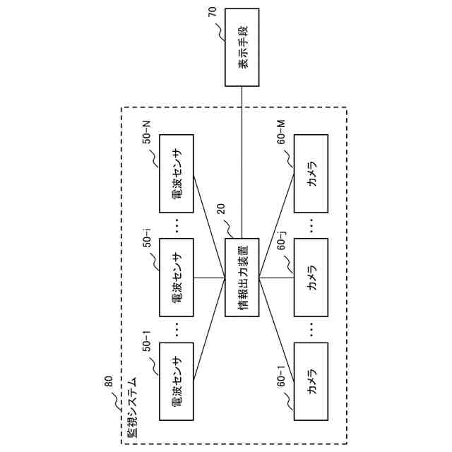
情報出力装置が、電波センサによって受信された電波である受信電波についての情報を示す受信電波情報を前記電波センサから受信し、カメラによって撮影された画像の情報である撮影画像情報を前記カメラから受信し、前記受信電波が前記撮影画像情報の出力の対象の電波である対象電波かどうかを判断するための判断条件と、前記受信電波情報とに基づいて、前記受信電波が前記対象電波かどうかを判断し、前記対象電波を受信した電波センサに対応付けられているカメラから受信した前記撮影画像情報である対象画像情報を含む出力情報を出力する。
【選択図】 図2
特許請求の範囲
【請求項1】
電波センサによって受信された電波である受信電波についての情報を示す受信電波情報を前記電波センサから受信する電波情報受信部と、
カメラによって撮影された画像の情報である撮影画像情報を前記カメラから受信する画像情報受信部と、
前記受信電波が前記撮影画像情報の出力の対象の電波である対象電波かどうかを判断するための判断条件と、前記受信電波情報とに基づいて、前記受信電波が前記対象電波かどうかを判断する判断部と、
前記対象電波を受信した電波センサに対応付けられているカメラから受信した前記撮影画像情報である対象画像情報を含む出力情報を出力する出力部と
を備える情報出力装置。
続きを表示(約 1,400 文字)
【請求項2】
前記対象電波は、監視の対象の移動体である対象移動体の移動に伴って移動する発信源から発信される電波である、
請求項1に記載の情報出力装置。
【請求項3】
前記判断部は、所定の期間に前記電波センサで受信された電波に関する情報に基づいて、前記受信電波が前記対象電波かどうかの判断を行う、
請求項1または請求項2に記載の情報出力装置。
【請求項4】
前記判断部は、前記受信電波と同じ発信源からの電波と推定される電波が、前記受信電波が受信された前記電波センサで所定の頻度より高い頻度で受信された場合に、前記受信電波が前記対象電波であると判断する、
請求項1または請求項2に記載の情報出力装置。
【請求項5】
前記判断部は、前記受信電波と同じ発信源からの電波と推定される電波が、前記受信電波が受信された前記電波センサで所定回数以上連続して受信された場合に、前記受信電波が前記対象電波であると判断する、
請求項1または請求項2に記載の情報出力装置。
【請求項6】
前記判断部は、前記受信電波が前記対象電波である可能性の度合いである合致度に基づいて、前記受信電波が前記対象電波かどうかの判断を行う、
請求項1または請求項2に記載の情報出力装置。
【請求項7】
前記判断部は、前記合致度が第一の基準以上である場合に、前記受信電波が前記対象電波であると判断する、
請求項6に記載の情報出力装置。
【請求項8】
前記判断部は、前記合致度が、前記第一の基準より低く、かつ、前記第一の基準より低い第二の基準以上である場合に、前記受信電波が前記対象電波であるかどうか曖昧であると判断する、
請求項7に記載の情報出力装置。
【請求項9】
電波センサによって受信された電波である受信電波についての情報を示す受信電波情報を前記電波センサから受信し、
カメラによって撮影された画像の情報である撮影画像情報を前記カメラから受信し、
前記受信電波が前記撮影画像情報の出力の対象の電波である対象電波かどうかを判断するための判断条件と、前記受信電波情報とに基づいて、前記受信電波が前記対象電波かどうかを判断し、
前記対象電波を受信した電波センサに対応付けられているカメラから受信した前記撮影画像情報である対象画像情報を含む出力情報を出力する、
情報出力方法。
【請求項10】
コンピュータに、
電波センサによって受信された電波である受信電波についての情報を示す受信電波情報を前記電波センサから受信する電波情報受信機能と、
カメラによって撮影された画像の情報である撮影画像情報を前記カメラから受信する画像情報受信機能と、
前記受信電波が前記撮影画像情報の出力の対象の電波である対象電波かどうかを判断するための判断条件と、前記受信電波情報とに基づいて、前記受信電波が前記対象電波かどうかを判断する判断機能と、
前記対象電波を受信した電波センサに対応付けられているカメラから受信した前記撮影画像情報である対象画像情報を含む出力情報を出力する出力機能と
を実現させる情報出力プログラム。
発明の詳細な説明
【技術分野】
【0001】
本開示は、情報出力装置、情報出力方法および情報出力プログラムに関する。
続きを表示(約 1,600 文字)
【背景技術】
【0002】
不審な行動をしている人物(不審者)や車両など、監視の対象の移動体を警察や警備員等が監視する業務がある。このような業務において、昨今では犯罪者の見た目の平凡化や、隣人との関わり合いの希薄化により、不審者に関する情報が得られにくくなっている。そのため、監視の対象の移動体を、監視カメラで撮影された画像などを用いて検知して、当該移動体の行動を監視したいというニーズがある。
【0003】
しかし、多くの監視カメラで撮影された多くの画像から監視の対象の移動体を監視者が目視で見つけることは難しい。
【0004】
所定の条件を満たす人物の検知を目的として、監視カメラ等で撮影された画像を用いて、所定の条件を満たす人物を検知する方法がある。たとえば、特許文献1に記載の方法では、検知装置が、撮像装置から入力された画像に基づいて、不審な行動をしている人物を検知する。
【先行技術文献】
【特許文献】
【0005】
国際公開第2022/091235号
【発明の概要】
【発明が解決しようとする課題】
【0006】
しかし、特許文献1のように、監視の対象の移動体を画像解析によって検知する場合、画像解析にかかる処理量が多い。
【0007】
本開示の目的は、上述した課題を鑑み、監視の対象の移動体の監視をより容易な方法で実現することを可能にする、情報出力装置、情報出力方法および情報出力プログラムを提供することにある。
【課題を解決するための手段】
【0008】
本開示の一態様において、情報出力装置は、電波センサによって受信された電波である受信電波についての情報を示す受信電波情報を前記電波センサから受信する電波情報受信部と、カメラによって撮影された画像の情報である撮影画像情報を前記カメラから受信する画像情報受信部と、前記受信電波が前記撮影画像情報の出力の対象の電波である対象電波かどうかを判断するための判断条件と、前記受信電波情報とに基づいて、前記受信電波が前記対象電波かどうかを判断する判断部と、前記対象電波を受信した電波センサに対応付けられているカメラから受信した前記撮影画像情報である対象画像情報を含む出力情報を出力する出力部とを備える。
【0009】
また、本開示の他の態様において、情報出力方法は、電波センサによって受信された電波である受信電波についての情報を示す受信電波情報を前記電波センサから受信し、カメラによって撮影された画像の情報である撮影画像情報を前記カメラから受信し、前記受信電波が前記撮影画像情報の出力の対象の電波である対象電波かどうかを判断するための判断条件と、前記受信電波情報とに基づいて、前記受信電波が前記対象電波かどうかを判断し、前記対象電波を受信した電波センサに対応付けられているカメラから受信した前記撮影画像情報である対象画像情報を含む出力情報を出力する。
【0010】
また、本開示の他の態様において、情報出力プログラムは、コンピュータに、電波センサによって受信された電波である受信電波についての情報を示す受信電波情報を前記電波センサから受信する電波情報受信機能と、カメラによって撮影された画像の情報である撮影画像情報を前記カメラから受信する画像情報受信機能と、前記受信電波が前記撮影画像情報の出力の対象の電波である対象電波かどうかを判断するための判断条件と、前記受信電波情報とに基づいて、前記受信電波が前記対象電波かどうかを判断する判断機能と、前記対象電波を受信した電波センサに対応付けられているカメラから受信した前記撮影画像情報である対象画像情報を含む出力情報を出力する出力機能とを実現させる。
【発明の効果】
(【0011】以降は省略されています)
この特許をJ-PlatPat(特許庁公式サイト)で参照する
関連特許
日本電気株式会社
監視装置
9日前
日本電気株式会社
管理装置
9日前
日本電気株式会社
監視装置
9日前
日本電気株式会社
異常検知装置
1日前
日本電気株式会社
海底分岐装置
10日前
日本電気株式会社
光集積回路素子
14日前
日本電気株式会社
超伝導量子回路装置
15日前
日本電気株式会社
ラインカード及びイジェクタ
7日前
日本電気株式会社
端末、端末の制御方法及びプログラム
7日前
日本電気株式会社
レコメンド装置およびレコメンド方法
3日前
日本電気株式会社
安否確認支援装置、方法及びプログラム
10日前
日本電気株式会社
処理システム、処理方法、およびプログラム
今日
日本電気株式会社
行動推奨装置、行動推奨方法及びプログラム
1日前
日本電気株式会社
追跡支援装置、追跡支援方法及びプログラム
14日前
日本電気株式会社
処理システム、処理方法、およびプログラム
2日前
日本電気株式会社
追跡支援装置、追跡支援方法及びプログラム
14日前
日本電気株式会社
情報処理装置、情報処理方法、及びプログラム
今日
日本電気株式会社
視線検出装置、視線検出方法、及びプログラム
今日
日本電気株式会社
情報処理装置、情報処理方法、及びプログラム
今日
日本電気株式会社
原子発振器、制御方法、制御装置、プログラム
15日前
日本電気株式会社
セルロース系樹脂組成物及びこれを用いた成形体
14日前
日本電気株式会社
補聴支援装置、補聴支援方法、及び、プログラム
7日前
日本電気株式会社
蓄電制御装置、蓄電制御方法、およびプログラム
7日前
日本電気株式会社
繊維状カーボンナノホーン集合体の接着分離方法
10日前
日本電気株式会社
サーバ装置、サーバ装置の制御方法及びプログラム
3日前
日本電気株式会社
情報管理装置、情報管理方法、及び、制御プログラム
10日前
日本電気株式会社
画像処理装置、点検システム、方法およびプログラム
10日前
日本電気株式会社
健康改善支援装置、健康改善支援方法及びプログラム
14日前
日本電気株式会社
情報出力装置、情報出力方法および情報出力プログラム
8日前
日本電気株式会社
システム
10日前
日本電気株式会社
処理装置
10日前
日本電気株式会社
情報処理システム、情報処理方法、及び情報処理プログラム
14日前
日本電気株式会社
質問提案装置、質問提案方法およびコンピュータプログラム
2日前
日本電気株式会社
改善提案装置、改善提案方法およびコンピュータプログラム
10日前
日本電気株式会社
サーバ装置、システム、サーバ装置の制御方法及びプログラム
7日前
日本電気株式会社
サーバ装置、システム、サーバ装置の制御方法及びプログラム
3日前
続きを見る
他の特許を見る