TOP
|
特許
|
意匠
|
商標
特許ウォッチ
Twitter
他の特許を見る
公開番号
2025158777
公報種別
公開特許公報(A)
公開日
2025-10-17
出願番号
2024061648
出願日
2024-04-05
発明の名称
ラインカード及びイジェクタ
出願人
日本電気株式会社
代理人
個人
主分類
H05K
7/14 20060101AFI20251009BHJP(他に分類されない電気技術)
要約
【課題】突起が他の物体と接触するおそれを抑制するラインカード及びイジェクタを提供する。
【解決手段】本開示に係るラインカードは、基板と、イジェクタと、を備える。基板は、歯車引っ掛け部を備える。イジェクタは、基板の端部に設けられた回転軸周りに回転可能なレバーと、第1の回転板と、第1の回転板に設けられた第1の突起とを備えたロック機構と、歯車と、伝達機構と、を備える。基板が装置に挿入され、レバーが基板側へ回転すると、ロック機構が、第1の突起を回転させ装置に押し当てることによって、基板を装置にロックさせる。基板がロック機構にロックされ、レバーが基板から離隔する方向に回転すると、歯車が歯車引っ掛け部に当接して回転し、伝達機構が歯車の回転による力をロック機構に伝達し、第1の突起を回転させて装置からレバー側へ離隔させる。
【選択図】図1
特許請求の範囲
【請求項1】
基板と、
イジェクタと、を備え、
前記基板は、歯車引っ掛け部を備え、
前記イジェクタは、
前記基板の端部に設けられた回転軸周りに回転可能なレバーと、
第1の回転板と、前記第1の回転板に設けられた第1の突起とを備えたロック機構と、
歯車と、
伝達機構と、を備え、
前記基板が装置に挿入され、前記レバーが前記基板側へ回転すると、前記ロック機構が、前記第1の突起を回転させ前記装置に押し当てることによって、前記基板を前記装置にロックさせ、
前記基板が前記ロック機構によってロックされ、前記レバーが前記基板から離隔する方向に回転すると、前記歯車が前記歯車引っ掛け部に当接して回転し、前記伝達機構が前記歯車の回転による力を前記ロック機構に伝達し、前記第1の突起を回転させて前記装置からレバー側へ離隔させる、
ラインカード。
続きを表示(約 1,800 文字)
【請求項2】
前記基板が前記ロック機構にロックされ、前記レバーが前記基板から離隔する方向に回転すると、前記歯車が前記歯車引っ掛け部に当接して回転し、前記伝達機構が前記歯車の回転による力を前記ロック機構に伝達し、前記第1の突起を回転させて前記装置からレバー側へ離隔させて、前記レバーの内側に収納する、
請求項1に記載のラインカード。
【請求項3】
前記レバーは、前記回転軸から前記基板の内側に延びた内側延出部と、前記回転軸から
前記基板の外側に延びた外側延出部と、を備え、
前記伝達機構は、第2の回転板と、第1及び第2の連接棒とを備え、
前記第2の回転板は、前記レバーの前記外側延出部において前記回転軸と前記第1の回転板との間に配置され、
前記第1の連接棒は、前記第1及び前記第2の回転板を連結し、
前記第2の連接棒は、前記歯車と前記第2の回転板とを連結する、
請求項1又は2に記載のラインカード。
【請求項4】
前記基板が前記ロック機構にロックされ、前記レバーが前記基板から離隔する方向に回転すると、
前記歯車が前記歯車引っ掛け部に当接して回転し、
前記第2の回転板は、前記歯車の回転による力を前記第2の連接棒を介して取得することによって、回転し、
前記第1の回転板は、前記第2の回転板の回転による力を前記第1の連接棒を介して取得することによって、回転して、
前記第1の突起が前記第1の回転板の回転に伴って回転して、前記装置から前記レバー側へ離隔する、
請求項3に記載のラインカード。
【請求項5】
第2の突起を備え、
前記第2の突起は、前記第1の回転板に設けられ、
前記基板が前記装置に挿入され、前記レバーが前記基板側へ回転すると、前記ロック機構が、前記第2の突起を回転させ前記装置に接触させて、
前記基板が前記ロック機構にロックされ、前記レバーが前記基板から離隔する方向に回転すると、前記歯車が前記歯車引っ掛け部に当接して回転し、
前記第2の回転板は、前記歯車の回転による力を前記第2の連接棒を介して取得することによって、回転し、
前記第1の回転板は、前記第2の回転板の回転による力を前記第1の連接棒を介して取得することによって、回転して、
前記第1及び前記第2の突起が前記第1の回転板の回転に伴って回転して、前記装置から前記レバー側へ離隔する、
請求項3に記載のラインカード。
【請求項6】
前記第1及び前記第2の回転板は、前記レバーの内側に収納されるように配置される、
請求項3に記載のラインカード。
【請求項7】
前記第1及び前記第2の連接棒は、前記レバーの内側に収納されるように配置される、
請求項3に記載のラインカード。
【請求項8】
前記外側延出部は、根元部と、本体とを備え、
前記根元部は、前記回転軸から前記基板の外側に延び、
前記第2の回転板は、前記根元部と前記本体とが交差した交差部に配置される、
請求項3に記載のラインカード。
【請求項9】
前記根元部と前記本体とが交差して成す角度は、直角であり、
前記本体は、前記根元部と比較して長い、
請求項8に記載のラインカード。
【請求項10】
歯車引っ掛け部が設けられた基板を備えたラインカードに設けられ、
前記基板の端部に設けられた回転軸周りに回転可能なレバーと、
第1の回転板と、前記第1の回転板に設けられた第1の突起とを備えたロック機構と、
歯車を備える伝達機構と、を備え、
前記基板が装置に挿入され、前記レバーが前記基板側へ回転すると、前記ロック機構が、前記第1の突起を回転させ前記装置に押し当てることによって、前記基板を前記装置にロックさせ、
前記基板が前記ロック機構にロックされ、前記レバーが前記基板から離隔する方向に回転すると、前記歯車が前記歯車引っ掛け部に当接して回転し、前記伝達機構が前記歯車の回転による力を前記ロック機構に伝達し、前記第1の突起を回転させて前記装置からレバー側へ離隔させる、
イジェクタ。
発明の詳細な説明
【技術分野】
【0001】
本開示はラインカード及びイジェクタに関する。
続きを表示(約 1,800 文字)
【背景技術】
【0002】
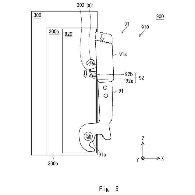
特許文献1には、基板引抜用のイジェクタを有するプリント配線板が開示されている。プリント配線板を筐体にインサートすると弾性部材を介して筐体に設けられているストッパによりプリント配線板の抜止めがなされる。プリント配線板を引抜くべくイジェクタを所定方向へ回動すると、イジェクタに設けられたストッパ解除部によりストッパによるプリント配線板の抜止めは解除される。
【先行技術文献】
【特許文献】
【0003】
特開平06-097681号公報
【発明の概要】
【発明が解決しようとする課題】
【0004】
本願発明者等は以下の技術的な課題を発見した。
基板を装置から排出させるイジェクタを備えたラインカードがある。イジェクタはレバーを備える。レバーは、基板を装置にロックするための突起を備える。ロックが解除されて、基板が装置から排出された場合、突起がイジェクタのレバーから突出している。そのため、突起が、人体や物などの他の物体と接触するおそれがある。
【0005】
本開示は、上述した課題を鑑みてなされたものであり、突起が他の物体と接触するおそれを抑制するラインカード及びイジェクタを提供するものである。
【課題を解決するための手段】
【0006】
本開示に係るラインカードは、
基板と、
イジェクタと、を備え、
前記基板は、歯車引っ掛け部を備え、
前記イジェクタは、
前記基板の端部に設けられた回転軸周りに回転可能なレバーと、
第1の回転板と、前記第1の回転板に設けられた第1の突起とを備えたロック機構と、
歯車と、
伝達機構と、を備え、
前記基板が装置に挿入され、前記レバーが前記基板側へ回転すると、前記ロック機構が、前記第1の突起を回転させ前記装置に押し当てることによって、前記基板を前記装置にロックさせ、
前記基板が前記ロック機構によってロックされ、前記レバーが前記基板から離隔する方向に回転すると、前記歯車が前記歯車引っ掛け部に当接して回転し、前記伝達機構が前記歯車の回転による力を前記ロック機構に伝達し、前記第1の突起を回転させて前記装置からレバー側へ離隔させる。
【0007】
本開示に係るイジェクタは、
歯車引っ掛け部が設けられた基板を備えたラインカードに設けられ、
前記基板の端部に設けられた回転軸周りに回転可能なレバーと、
第1の回転板と、前記第1の回転板に設けられた第1の突起とを備えたロック機構と、
歯車を備える伝達機構と、を備え、
前記基板が装置に挿入され、前記レバーが前記基板側へ回転すると、前記ロック機構が、前記第1の突起を回転させ前記装置に押し当てることによって、前記基板を前記装置にロックさせ、
前記基板が前記ロック機構にロックされ、前記レバーが前記基板から離隔する方向に回転すると、前記歯車が前記歯車引っ掛け部に当接して回転し、前記伝達機構が前記歯車の回転による力を前記ロック機構に伝達し、前記第1の突起を回転させて前記装置からレバー側へ離隔させる。
【発明の効果】
【0008】
本開示によれば、突起が他の物体と接触するおそれを抑制することができる。
【図面の簡単な説明】
【0009】
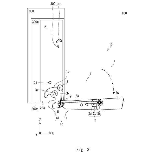
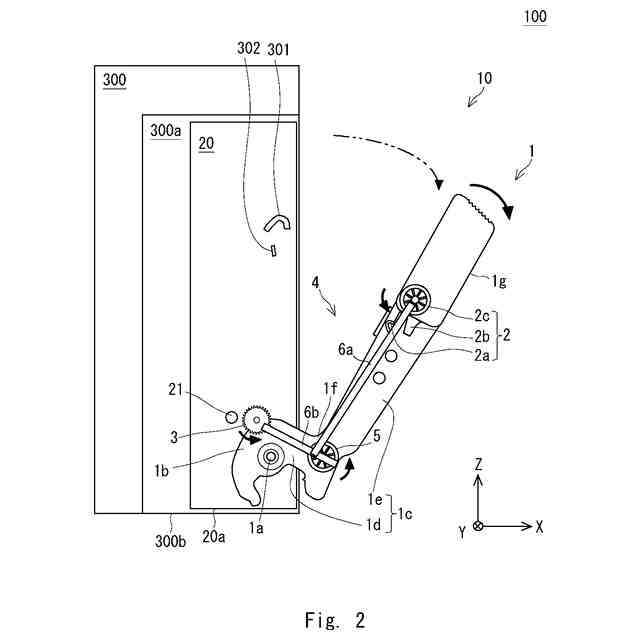
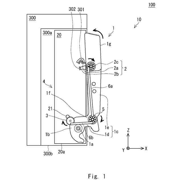
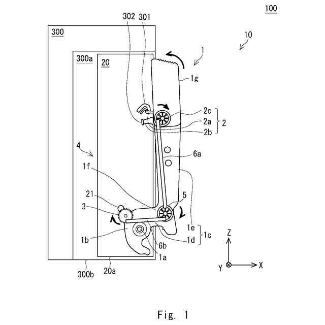
本開示にかかるラインカードの一構成例を示す概略図である。
本開示にかかるラインカードの一構成例の動作を示す概略図である。
本開示にかかるラインカードの一構成例の動作を示す概略図である。
関連技術にかかるラインカードを示す概略図である。
関連技術にかかるラインカードの動作を示す概略図である。
関連技術にかかるラインカードの動作を示す概略図である。
【発明を実施するための形態】
【0010】
(関連する技術)
本開示を適用した具体的な実施形態に先立って、図4~6を参照して、本開示に関連する技術にかかるラインカードについて説明する。図4は、関連技術にかかるラインカードを示す概略図である。図5及び図6は、関連技術にかかるラインカードの動作を示す概略
(【0011】以降は省略されています)
この特許をJ-PlatPat(特許庁公式サイト)で参照する
関連特許
日本電気株式会社
監視装置
8日前
日本電気株式会社
監視装置
8日前
日本電気株式会社
管理装置
8日前
日本電気株式会社
異常検知装置
今日
日本電気株式会社
海底分岐装置
9日前
日本電気株式会社
光集積回路素子
13日前
日本電気株式会社
レーザモジュール
14日前
日本電気株式会社
超伝導量子回路装置
14日前
日本電気株式会社
受信器および通信装置
15日前
日本電気株式会社
システム、装置及び方法
14日前
日本電気株式会社
光伝送システムおよび方法
16日前
日本電気株式会社
ラインカード及びイジェクタ
6日前
日本電気株式会社
制御装置、プログラム及び方法
14日前
日本電気株式会社
推定装置、推定方法及びプログラム
14日前
日本電気株式会社
レコメンド装置およびレコメンド方法
2日前
日本電気株式会社
端末、端末の制御方法及びプログラム
6日前
日本電気株式会社
情報処理装置、制御方法及び記憶媒体
14日前
日本電気株式会社
学習装置、学習方法及び学習プログラム
14日前
日本電気株式会社
安否確認支援装置、方法及びプログラム
9日前
日本電気株式会社
処理システム、処理方法、およびプログラム
1日前
日本電気株式会社
追跡支援装置、追跡支援方法及びプログラム
13日前
日本電気株式会社
追跡支援装置、追跡支援方法及びプログラム
13日前
日本電気株式会社
情報処理装置、計算方法、およびプログラム
14日前
日本電気株式会社
情報処理装置、提示方法、およびプログラム
14日前
日本電気株式会社
行動推奨装置、行動推奨方法及びプログラム
今日
日本電気株式会社
情報処理装置、情報処理方法及びプログラム
14日前
日本電気株式会社
原子発振器、制御方法、制御装置、プログラム
14日前
日本電気株式会社
道路監視装置、道路監視方法、及びプログラム
15日前
日本電気株式会社
認証支援装置、システム、方法及びプログラム
14日前
日本電気株式会社
セルロース系樹脂組成物及びこれを用いた成形体
13日前
日本電気株式会社
補聴支援装置、補聴支援方法、及び、プログラム
6日前
日本電気株式会社
繊維状カーボンナノホーン集合体の接着分離方法
9日前
日本電気株式会社
蓄電制御装置、蓄電制御方法、およびプログラム
6日前
日本電気株式会社
学習装置、制御装置、学習方法およびプログラム
15日前
日本電気株式会社
情報処理装置、情報処理方法、及び、プログラム
14日前
日本電気株式会社
端末装置、無線通信システム、及び無線通信方法
15日前
続きを見る
他の特許を見る