TOP
|
特許
|
意匠
|
商標
特許ウォッチ
Twitter
他の特許を見る
10個以上の画像は省略されています。
公開番号
2025159086
公報種別
公開特許公報(A)
公開日
2025-10-17
出願番号
2025133052,2021011996
出願日
2025-08-08,2021-01-28
発明の名称
MEMSデバイス
出願人
TDK株式会社
代理人
個人
,
個人
主分類
B81B
3/00 20060101AFI20251009BHJP(マイクロ構造技術)
要約
【課題】磁化方向の異なる複数の磁化領域を有する硬磁性体を含むMEMSデバイスにおいて、熱減磁の問題を解消する。
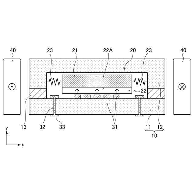
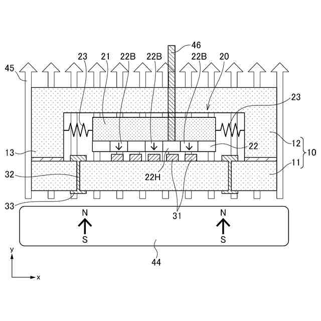
【解決手段】本発明によるMEMSデバイス1は、少なくとも一部が赤外線又は可視光線を透過する材料からなる収容体10と、収容体10の内部に収容された硬磁性体22とを備えている。硬磁性体22の面内方向をx方向と表すとき、硬磁性体22は、x方向に沿って設けられた複数の磁化領域22A、22Bを有し、且つx方向に隣り合う磁化領域22A、22Bの磁化方向が互いに異なる。収容体10の内部は気密封止されており、x方向における個々の磁化領域22A、22Bの幅が1mm以下である。
【選択図】図3
特許請求の範囲
【請求項1】
少なくとも一部が赤外線又は可視光線を透過する材料からなる収容体と、
前記収容体の内部に収容された硬磁性体と、を備え、
前記硬磁性体の面内方向をx方向と表すとき、
前記硬磁性体は、前記x方向に沿って設けられた複数の磁化領域を有し、且つ前記x方向に隣り合う前記磁化領域の磁化方向が互いに異なり、
前記収容体の内部は気密封止されており、
前記x方向における個々の磁化領域の幅が1mm以下であることを特徴とするMEMSデバイス。
続きを表示(約 440 文字)
【請求項2】
前記硬磁性体の単一の面が前記複数の磁化領域を有することを特徴とする請求項1に記載のMEMSデバイス。
【請求項3】
前記複数の磁化領域を有する硬磁性体は、前記収容体に弾性支持されていることを特徴とする請求項1又は2に記載のMEMSデバイス。
【請求項4】
前記複数の磁化領域を有する硬磁性体は、前記収容体に弾性支持された第1の硬磁性体からなる磁化領域と、前記第1の硬磁性体とは独立して前記収容体に弾性支持された第2の硬磁性体からなる磁化領域とを含むことを特徴とする請求項3に記載のMEMSデバイス。
【請求項5】
前記収容体の前記少なくとも一部は、可視光線を遮断し、赤外線を透過する材料からなることを特徴とする請求項1乃至4のいずれか一項に記載のMEMSデバイス。
【請求項6】
前記収容体の前記少なくとも一部は、シリコン又はヒ化ガリウムからなることを特徴とする請求項5に記載のMEMSデバイス。
発明の詳細な説明
【技術分野】
【0001】
本発明はMEMSデバイス及びその製造方法に関し、特に、磁化方向の異なる複数の磁化領域を有する硬磁性体を含むMEMSデバイス及びその製造方法に関する。
続きを表示(約 1,300 文字)
【背景技術】
【0002】
特許文献1及び2には、レーザー光を用いて硬磁性体を多極着磁する方法が開示されている。この方法を用いて局所的な着磁を行えば、アクチュエータやエネルギハーベスタなどの磁気デバイスを含むMEMSデバイスの磁気回路を高度にすることが可能となる。ここで、多くのMEMSデバイスは埃や水蒸気の影響を受けやすいため、これらを遮断するための気密封止が重要とされる。
【先行技術文献】
【特許文献】
【0003】
特開昭63-99509号公報
特開昭60-218809号公報
【発明の概要】
【発明が解決しようとする課題】
【0004】
しかしながら、気密封止を行う際にはMEMSデバイスが高温に晒されることが多く、レーザー光を用いて多極着磁した後に気密封止を行うと、熱減磁が生じるという問題があった。
【0005】
したがって、本発明は、磁化方向の異なる複数の磁化領域を有するMEMSデバイスにおいて、熱減磁の問題を解消することを目的とする。
【課題を解決するための手段】
【0006】
本発明によるMEMSデバイスは、少なくとも一部が赤外線又は可視光線を透過する材料からなる収容体と、収容体の内部に収容された硬磁性体とを備え、硬磁性体は磁化方向が互いに異なる複数の磁化領域を有することを特徴とする。
【0007】
本発明によれば、収容体の少なくとも一部が赤外線又は可視光線を透過する材料からなることから、気密封止した後にレーザー等の光を用いた着磁を行うことができる。これにより、複数の磁化領域の熱減磁を防止することが可能となる。
【0008】
本発明において、複数の磁化領域を有する硬磁性体は収容体に弾性支持されていても構わない。これによれば、アクチュエータやエネルギハーベスタなど可動部を有する磁気デバイスを構成することが可能となる。この場合、複数の磁化領域を有する硬磁性体は、収容体に弾性支持された第1の硬磁性体からなる磁化領域と、第1の硬磁性体とは独立して収容体に弾性支持された第2の硬磁性体からなる磁化領域とを含んでいても構わない。
【0009】
本発明において、収容体の少なくとも一部は、可視光線を遮断し、赤外線を透過する材料からなるものであっても構わない。これによれば、実使用時にMEMSデバイス内に可視光線が入射しないことから、可視光線の入射による劣化や誤動作を防止することが可能となる。この場合、収容体の少なくとも一部は、シリコン又はヒ化ガリウムからなるものであっても構わない。これによれば、収容体の加工が容易となるだけでなく、収容体の全体をシリコン又はヒ化ガリウムによって構成することにより、熱膨張係数の差に起因する応力の発生を防止することが可能となる。
【0010】
本発明によるMEMSデバイスの製造方法は、収容体の内部に硬磁性体を収容した後、磁場を印加した状態で収容体を介して硬磁性体に光を照射することにより、硬磁性体を局所的に着磁することを特徴とする。
(【0011】以降は省略されています)
この特許をJ-PlatPat(特許庁公式サイト)で参照する
関連特許
TDK株式会社
電子部品
6日前
TDK株式会社
フィルタ
11日前
TDK株式会社
電子部品
10日前
TDK株式会社
電子部品
10日前
TDK株式会社
コイル部品
10日前
TDK株式会社
コイル装置
10日前
TDK株式会社
コイル部品
10日前
TDK株式会社
コイル装置
10日前
TDK株式会社
コイル装置
10日前
TDK株式会社
コイル装置
10日前
TDK株式会社
電子デバイス
10日前
TDK株式会社
電子デバイス
10日前
TDK株式会社
積層コイル部品
11日前
TDK株式会社
積層型電子部品
11日前
TDK株式会社
積層コイル部品
10日前
TDK株式会社
フェライト焼結磁石
10日前
TDK株式会社
配線体、及び表示装置
10日前
TDK株式会社
配線体、及び表示装置
10日前
TDK株式会社
メタサーフェスレンズ
10日前
TDK株式会社
圧力センサ用金属部材
10日前
TDK株式会社
配線体、及び表示装置
10日前
TDK株式会社
積層セラミック電子部品
10日前
TDK株式会社
積層セラミック電子部品
10日前
TDK株式会社
電子部品及び電子部品の製造方法
10日前
TDK株式会社
DC-DCコンバータおよび電源回路
10日前
TDK株式会社
コイル構造体およびコイル構造用部品
10日前
TDK株式会社
インダクタおよびDC-DCコンバータ
10日前
TDK株式会社
誘電体組成物、積層電子部品およびその製造方法
10日前
TDK株式会社
圧電薄膜、圧電薄膜素子、及び圧電トランスデューサ
10日前
TDK株式会社
圧電薄膜、圧電薄膜素子、及び圧電トランスデューサ
10日前
TDK株式会社
電子部品、電子部品の製造方法および電子部品の製造装置
10日前
TDK株式会社
振動デバイス
6日前
TDK株式会社
MEMSデバイス
3日前
TDK株式会社
光合波器、光変調機能付き光合波部材、可視光光源モジュール、光学エンジン及びXRグラス
10日前
ローム株式会社
半導体装置及びその製造方法
3か月前
ローム株式会社
半導体装置およびその製造方法
6か月前
続きを見る
他の特許を見る