TOP
|
特許
|
意匠
|
商標
特許ウォッチ
Twitter
他の特許を見る
10個以上の画像は省略されています。
公開番号
2025154667
公報種別
公開特許公報(A)
公開日
2025-10-10
出願番号
2024057788
出願日
2024-03-29
発明の名称
電子部品、電子部品の製造方法および電子部品の製造装置
出願人
TDK株式会社
代理人
前田・鈴木国際特許弁理士法人
主分類
H01F
27/32 20060101AFI20251002BHJP(基本的電気素子)
要約
【課題】取り扱いが容易な電子部品を提供する。
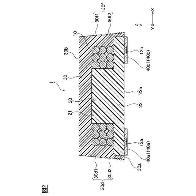
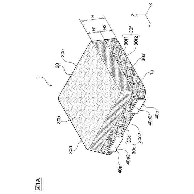
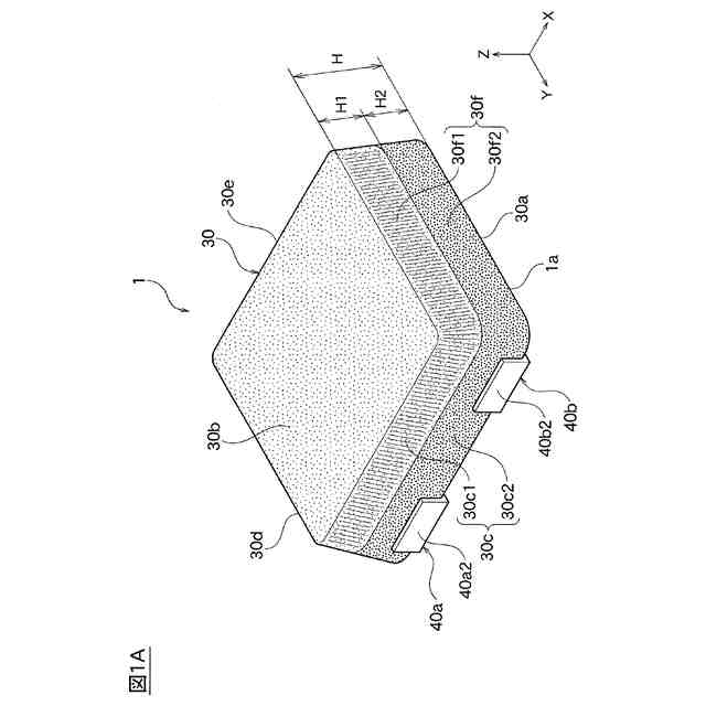
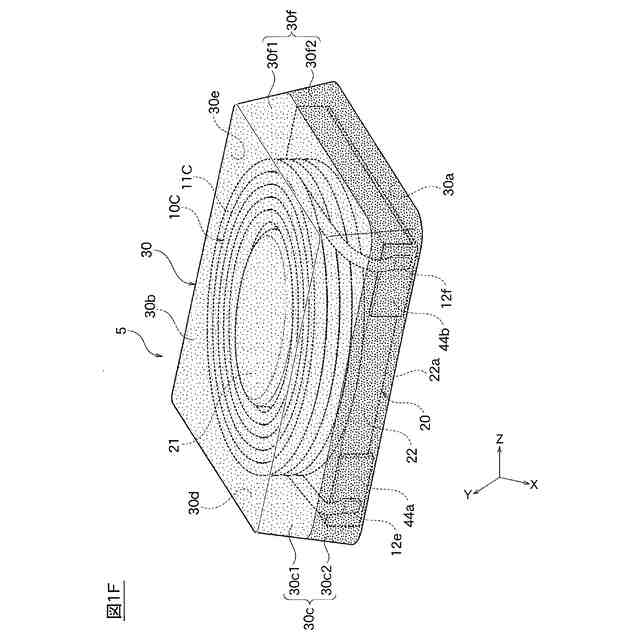
【解決手段】外装体30と、外装体30の内部に配置された素子本体10とを有する電子部品1であって、外装体30は、熱硬化性樹脂を含み、対向する第1主面1aと第2主面30b、および前記第1主面1aと前記第2主面30bを接続する1つ以上の側面30c~30fを有し、前記側面30c~30fの少なくとも1つは、第1領域30c1と、第1領域より表面粗さが大きい第2領域30c2とを含み、前記外装体30の前記第1領域30c1を形成する部分と、前記外装体30の前記第2領域30c2を形成する部分とは、同じ種類の熱硬化性樹脂を含む電子部品。
【選択図】図1A
特許請求の範囲
【請求項1】
外装体と、前記外装体の内部に配置された素子本体とを有する電子部品であって、
前記外装体は、熱硬化性樹脂を含み、対向する第1主面と第2主面、および前記第1主面と前記第2主面を接続する1つ以上の側面を有し、
前記側面の少なくとも1つは、第1領域と、前記第1領域より表面粗さが大きい第2領域とを含み、
前記外装体の前記第1領域を形成する部分と、前記外装体の前記第2領域を形成する部分とは、同じ種類の熱硬化性樹脂を含む電子部品。
続きを表示(約 690 文字)
【請求項2】
前記第1主面は実装面であり、前記第2主面は前記第1主面より面積が小さくなるように前記側面が傾斜している請求項1に記載の電子部品。
【請求項3】
前記第1主面は実装面であり、前記側面の少なくとも1つにおいて、前記第1主面に近い側の所定の範囲に前記第2領域が配置され、前記第2領域よりも前記第1主面から遠い側に前記第1領域が配置されている請求項1に記載の電子部品。
【請求項4】
前記側面の全周に沿って連続して、前記第1領域と前記第2領域を有する請求項1に記載の電子部品。
【請求項5】
端子電極をさらに有し、前記端子電極の一部が、前記外装体の前記第2領域に装着されている請求項1に記載の電子部品。
【請求項6】
前記第1主面に装着される第1主面装着部と、前記側面の少なくとも1つに装着される側面装着部とを有する端子電極をさらに有し、
前記側面装着部は、前記外装体の前記第2領域に装着されている請求項2に記載の電子部品。
【請求項7】
前記素子本体は、コイルである請求項1~6のいずれかに記載の電子部品。
【請求項8】
前記素子本体は、半導体集積回路である請求項1~6のいずれかに記載の電子部品。
【請求項9】
前記素子本体は、センサ素子である請求項1~6のいずれかに記載の電子部品。
【請求項10】
前記素子本体は、ポリマアルミ電解コンデンサ素子である請求項1~6のいずれかに記載の電子部品。
(【請求項11】以降は省略されています)
発明の詳細な説明
【技術分野】
【0001】
本開示は、電子部品、電子部品の製造方法および電子部品の製造装置に関する。
続きを表示(約 1,500 文字)
【背景技術】
【0002】
従来から、外装体の内部にコイル等の素子本体を配置した電子部品が知られている。例えば特許文献1には、インダクタ等として用いられるコイル部品として、巻芯部とともにコイルを外装体で封止したコイル部品が記載されている。
【0003】
素子本体を樹脂等の外装材で封止した電子部品は、小型化(微細化)や表面実装に適したチップ部品として広く使用されており、単体で基板等に面実装される場合の他、金属端子が取り付けられて実装される場合がある。また、基板に実装された状態でさらに外装用樹脂により被覆される場合もある。
【0004】
この種の電子部品は、製造時や、製造後の製品への組立時および実装時、その取り扱いが容易ではない場合がある。たとえば、電子部品の製造時の最終段階に近い、熱硬化樹脂のアフターキュア工程において、電子部品を長時間(数時間)高温状態に曝す場合があるが、このような工程において、狭い間隔で配列した電子部品同士が密着/接着してしまう場合があり、歩留まりの低下につながる場合がある。
【先行技術文献】
【特許文献】
【0005】
特開2003-168610号公報
【発明の概要】
【発明が解決しようとする課題】
【0006】
本開示の目的は、製造時の歩留まりを向上させることができ、また、使用時の取り扱いが容易な電子部品を提供することにある。
【課題を解決するための手段】
【0007】
本開示の一実施形態に係る電子部品は、
外装体と、前記外装体の内部に配置された素子本体とを有する電子部品であって、
前記外装体は、熱硬化性樹脂を含み、対向する第1主面と第2主面、および前記第1主面と前記第2主面を接続する1つ以上の側面を有し、
前記側面の少なくとも1つは、第1領域と、前記第1領域より表面粗さが大きい第2領域とを含み、
前記外装体の前記第1領域を形成する部分と、前記外装体の前記第2領域を形成する部分とは、同じ種類の熱硬化性樹脂を含む。
【0008】
このような電子部品においては、外装体の少なくとも1つの側面が表面の粗さが大きい第2領域を有していることにより、単に、側面同士が接触したような場合には接合性は低い。したがって、このような電子部品が狭い間隔で配列された場合にも、相互に不適当に接触し接合されてしまう(くっついてしまう)可能性を低減でき、電子部品の製造歩留まりを向上させることができる。
【0009】
一方で、このような表面粗さが大きい第2領域は、特定の条件の下では、他の部材との密着性を高めることができる。具体的には、接着剤を用いたり、溶融した樹脂を介在させたりする等の方法により、粗面である第2領域の接合性を高めることができる。例えば、外部に金属端子を取り付ける場合には、金属端子の一部を第2領域(表面粗さが大きい)に対向させて接着剤等で接合することにより、接合強度を高めることができ、金属端子の接合強度を高めることができる。その結果、電子部品全体として、強度を向上させ信頼性を高めることができる。
【0010】
また、例えば電子部品を基板等に実装した後、電子部品の周囲を含む一定の範囲、電子部品を含む周辺回路の一部、あるいは電子部品を実装した基板の全体を、さらに外装用樹脂により被覆封止するような場合に、第2領域(表面粗さが大きい)の箇所において外装用樹脂の接合強度を高めることができる。このため、電子部品を含む周辺回路等全体の信頼性を向上させることができる。
(【0011】以降は省略されています)
この特許をJ-PlatPat(特許庁公式サイト)で参照する
関連特許
TDK株式会社
センサ
8日前
TDK株式会社
フィルタ
12日前
TDK株式会社
圧電素子
2日前
TDK株式会社
電子部品
1か月前
TDK株式会社
電子部品
2日前
TDK株式会社
電子部品
1か月前
TDK株式会社
フィルタ
2日前
TDK株式会社
電子部品
1か月前
TDK株式会社
電子部品
1日前
TDK株式会社
電子部品
1か月前
TDK株式会社
電子部品
1か月前
TDK株式会社
電子部品
8日前
TDK株式会社
電子部品
2日前
TDK株式会社
電子部品
8日前
TDK株式会社
電子部品
12日前
TDK株式会社
電子部品
1日前
TDK株式会社
電子部品
12日前
TDK株式会社
コイル部品
10日前
TDK株式会社
ガスセンサ
9日前
TDK株式会社
センサ装置
9日前
TDK株式会社
ガスセンサ
3日前
TDK株式会社
ガスセンサ
12日前
TDK株式会社
光検知装置
9日前
TDK株式会社
磁気センサ
1か月前
TDK株式会社
コイル部品
4日前
TDK株式会社
コイル部品
8日前
TDK株式会社
温度センサ
23日前
TDK株式会社
圧力センサ
4日前
TDK株式会社
コイル部品
16日前
TDK株式会社
コイル装置
16日前
TDK株式会社
ガスセンサ
8日前
TDK株式会社
磁気センサ
1か月前
TDK株式会社
コイル部品
12日前
TDK株式会社
コイル部品
12日前
TDK株式会社
コイル部品
12日前
TDK株式会社
コイル部品
8日前
続きを見る
他の特許を見る