TOP
|
特許
|
意匠
|
商標
特許ウォッチ
Twitter
他の特許を見る
公開番号
2025152646
公報種別
公開特許公報(A)
公開日
2025-10-10
出願番号
2024054645
出願日
2024-03-28
発明の名称
配線体、及び表示装置
出願人
TDK株式会社
代理人
個人
,
個人
,
個人
主分類
H01Q
1/40 20060101AFI20251002BHJP(基本的電気素子)
要約
【課題】導電線の視認性への影響を抑制しつつ、伝送ロスを低減することができる配線体、及び表示装置を提供する。
【解決手段】テーパー部70は、光透過性基材1から離れる一方側へ向かうに従って、導電線50の幅が広がる。導体層5の上面側からの視線は、側面71A,71Bに遮られることを回避することができる。導体層5の上面側には、拡張部80が設けられる。拡張部80は、テーパー部70よりも幅が広く、幅方向における外側へ突出し、湾曲する部分を含むため、導体層5の上面付近において導電線50のボリュームを増やすことができる。表皮効果によって、高周波対応のアンテナにおいて、伝送ロスを低減することができる。拡張部80は、テーパー部70よりも高さ方向の一方側に配置される。導体層5の上面から深い位置に、ボリュームが大きい拡張部80が配置されることを回避することで、拡張部80の視認性への影響を低減できる。
【選択図】図6
特許請求の範囲
【請求項1】
基材と、
前記基材上に設けられ、所定の延在方向に線状に延在する導電線を有する導体層と、を備え、
前記延在方向に直交する方向で切断した断面視において、前記導電線は、
高さ方向において、前記基材から離れる一方側へ向かうに従って、前記導電線の幅が広がるテーパー部と、
前記テーパー部よりも前記一方側に配置され、前記テーパー部よりも前記幅が広い拡張部と、を有し、
前記拡張部は、幅方向における外側へ突出し、湾曲する部分を含む、配線体。
続きを表示(約 560 文字)
【請求項2】
前記導電線の前記高さ方向における前記一方側の面は、前記一方側へ突出する湾曲面であり、
前記拡張部の突出高さは、前記湾曲面の突出高さより小さい、請求項1に記載の配線体。
【請求項3】
前記基材上に設けられた樹脂層を更に備え、
前記樹脂層は、前記導電線が配置されるトレンチを有する、請求項1に記載の配線体。
【請求項4】
前記拡張部は、前記導電線の前記延在方向に沿って、前記一方側とは反対側の他方側の端部の位置が変化する、請求項1に記載の配線体。
【請求項5】
前記拡張部は、前記基材の主面と直交する方向から見て、前記拡張部の少なくとも一部は前記樹脂層で覆われている、請求項1に記載の配線体。
【請求項6】
前記導電線の高さ寸法を幅寸法で割ったアスペクト比は1より大きい、請求項1に記載の配線体。
【請求項7】
前記拡張部の高さ寸法は、前記テーパー部の高さ寸法より小さい、請求項1に記載の配線体。
【請求項8】
前記拡張部の高さ寸法を幅寸法で割ったアスペクト比は1より小さい、請求項1に記載の配線体。
【請求項9】
請求項1~8の何れか一項に記載の配線体を備える、表示装置。
発明の詳細な説明
【技術分野】
【0001】
本開示は、配線体、及び表示装置に関する。
続きを表示(約 1,100 文字)
【背景技術】
【0002】
従来、基材と、基材上に設けられたメッシュ状の導体パターンと、基材上に設けられた樹脂層と、を備える配線体が知られている(例えば、特許文献1)。樹脂層にはトレンチが形成されており、当該トレンチ内に導体パターンの導電線が形成されている。
【先行技術文献】
【特許文献】
【0003】
特開2021-163571号公報
【発明の概要】
【発明が解決しようとする課題】
【0004】
ここで、上述の配線体では、導電線の視認性への影響を抑制するために、導電線のボリュームを減らす場合、アンテナなどとして用いた場合に伝送ロスが生じてしまうという問題がある。従って、導電線の視認性への影響を抑制しつつ、伝送ロスを低減することが求められていた。
【0005】
そこで、本開示は、導電線の視認性への影響を抑制しつつ、伝送ロスを低減することができる配線体、及び表示装置を提供することを目的とする。
【課題を解決するための手段】
【0006】
本開示の一側面に係る配線体は、基材と、基材上に設けられ、所定の延在方向に線状に延在する導電線を有する導体層と、を備え、延在方向に直交する方向で切断した断面視において、導電線は、高さ方向において、基材から離れる一方側へ向かうに従って、導電線の幅が広がるテーパー部と、テーパー部よりも一方側に配置され、テーパー部よりも幅が広い拡張部と、を有し、拡張部は、幅方向における外側へ突出し、湾曲する部分を含む。
【0007】
本開示の一側面に係る表示装置は、上述の配線体を備える。
【発明の効果】
【0008】
本開示の一側面によれば、導電線の視認性への影響を抑制しつつ、伝送ロスを低減することができる配線体、及び表示装置を提供することができる。
【図面の簡単な説明】
【0009】
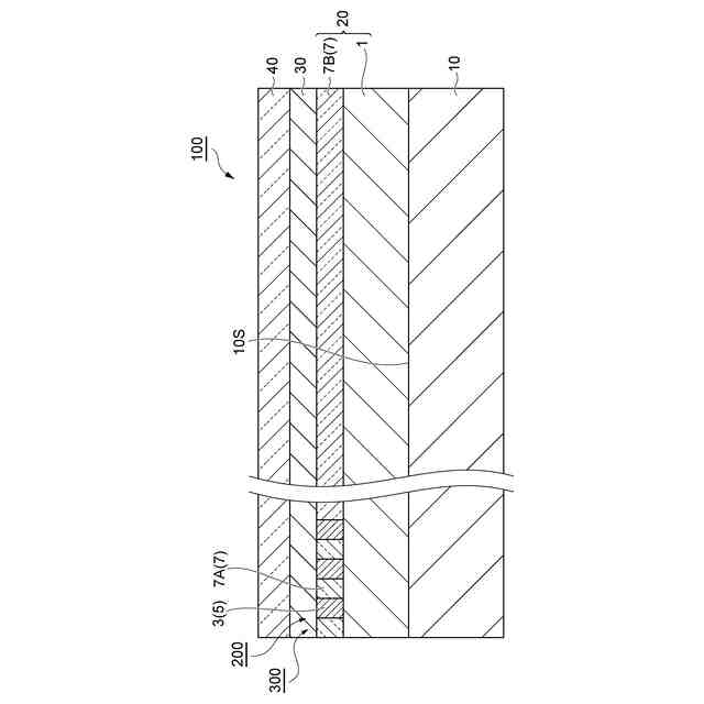
配線体を備える導電性フィルムの一実施形態を示す平面図である。
図1のII-II線に沿う断面図である。
変形例に係る導電性フィルムを示す断面図である。
表示装置の一実施形態を示す断面図である。
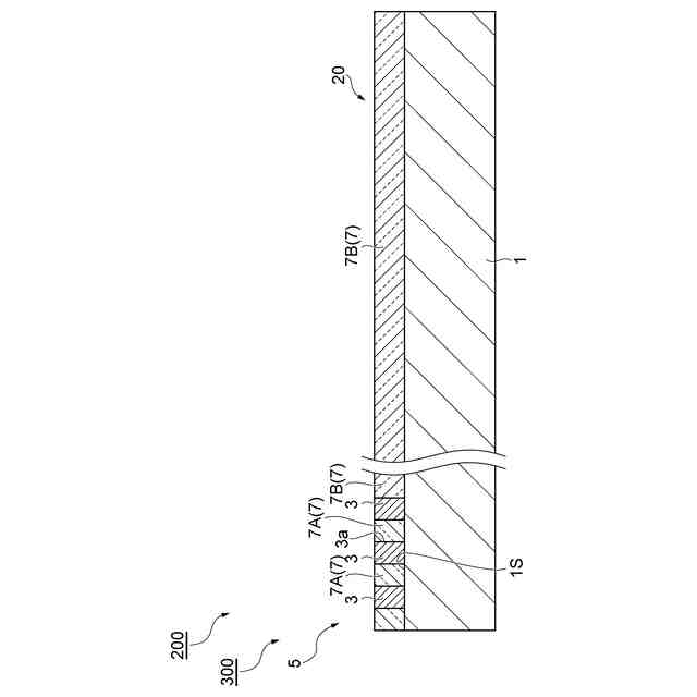
配線体を備えるアンテナの平面図である。
配線体200の拡大断面図である。
図6のうち、拡張部及び湾曲面の部分を拡大した拡大断面図である。
図6から樹脂層を除去した図である。
【発明を実施するための形態】
【0010】
以下、本開示のいくつかの実施形態について詳細に説明する。ただし、本開示は以下の実施形態に限定されるものではない。
(【0011】以降は省略されています)
この特許をJ-PlatPat(特許庁公式サイト)で参照する
関連特許
TDK株式会社
センサ
10日前
TDK株式会社
圧電素子
4日前
TDK株式会社
電子部品
1か月前
TDK株式会社
電子部品
1か月前
TDK株式会社
電子部品
3日前
TDK株式会社
電子部品
1か月前
TDK株式会社
電子部品
1か月前
TDK株式会社
フィルタ
4日前
TDK株式会社
電子部品
10日前
TDK株式会社
電子部品
14日前
TDK株式会社
電子部品
4日前
TDK株式会社
電子部品
10日前
TDK株式会社
電子部品
14日前
TDK株式会社
電子部品
4日前
TDK株式会社
フィルタ
14日前
TDK株式会社
電子部品
1か月前
TDK株式会社
電子部品
3日前
TDK株式会社
温度センサ
25日前
TDK株式会社
コイル部品
1か月前
TDK株式会社
ガスセンサ
11日前
TDK株式会社
磁気センサ
1か月前
TDK株式会社
ガスセンサ
5日前
TDK株式会社
コイル部品
12日前
TDK株式会社
コイル部品
18日前
TDK株式会社
コイル部品
6日前
TDK株式会社
コイル装置
18日前
TDK株式会社
圧力センサ
6日前
TDK株式会社
コイル部品
14日前
TDK株式会社
コイル部品
14日前
TDK株式会社
ガスセンサ
10日前
TDK株式会社
コイル部品
10日前
TDK株式会社
コイル部品
10日前
TDK株式会社
ガスセンサ
14日前
TDK株式会社
光検知装置
11日前
TDK株式会社
コイル部品
14日前
TDK株式会社
センサ装置
11日前
続きを見る
他の特許を見る