TOP
|
特許
|
意匠
|
商標
特許ウォッチ
Twitter
他の特許を見る
10個以上の画像は省略されています。
公開番号
2025152857
公報種別
公開特許公報(A)
公開日
2025-10-10
出願番号
2024055013
出願日
2024-03-28
発明の名称
コイル装置
出願人
TDK株式会社
代理人
前田・鈴木国際特許弁理士法人
主分類
H01F
17/04 20060101AFI20251002BHJP(基本的電気素子)
要約
【課題】漏れ磁束に起因する挿入損失を低減することが可能なコイル装置を提供する。
【解決手段】コイル装置1は、巻芯部11と、巻芯部11の軸方向の端部に形成された鍔部12aとを有するコア10と、コア10に取り付けられた板状コア30と、巻芯部11に巻回された第1ワイヤ50と、第1ワイヤ50と対をなすように、巻芯部11に巻回された第2ワイヤ60と、鍔部12aの少なくとも実装面に設けられた第1端子電極70aと、少なくとも実装面に設けられ、第1端子電極70aから離間する第2端子電極80aと、を有する。鍔部12aは、第1端子電極70aと第2端子電極80aとの間において、実装面から凹む凹部20aを有する。凹部20aの底面200は、巻芯部11の外周面110と面一である。第1ワイヤ50および第2ワイヤ60の対は、上記軸方向に沿って相互に離間する複数のターンを有する。
【選択図】図1A
特許請求の範囲
【請求項1】
巻芯部と、前記巻芯部の軸方向の端部に形成された鍔部とを有するコアと、
前記コアに取り付けられた板状コアと、
前記巻芯部に巻回された第1ワイヤと、
前記第1ワイヤと対をなすように、前記巻芯部に巻回された第2ワイヤと、
前記鍔部の少なくとも実装面に設けられた第1端子電極と、
少なくとも前記実装面に設けられ、前記第1端子電極から離間する第2端子電極と、を有し、
前記鍔部は、前記第1端子電極と前記第2端子電極との間において、前記実装面から凹む凹部を有し、
前記凹部の底面は、前記巻芯部の外周面と面一であり、
前記第1ワイヤおよび前記第2ワイヤの対は、前記軸方向に沿って相互に離間する複数のターンを有するコイル装置。
続きを表示(約 1,600 文字)
【請求項2】
前記鍔部は、前記巻芯部に接続された内端面と、前記軸方向に沿って前記内端面とは反対側の外端面とを有し、
前記凹部は、前記軸方向に沿って、前記内端面から前記外端面まで延在している請求項1に記載のコイル装置。
【請求項3】
前記第1ワイヤは、前記巻芯部から前記鍔部に向けて引き出された第1引出部を有し、
前記第2ワイヤは、前記巻芯部から前記鍔部に向けて引き出された第2引出部を有し、
前記第1引出部は、前記コアに接触しつつ、前記巻芯部から前記第1端子電極まで引き出され、
前記第2引出部は、前記コアに接触しつつ、前記巻芯部から前記第2端子電極まで引き出される請求項1または2に記載のコイル装置。
【請求項4】
前記第1引出部は、前記凹部を前記軸方向に沿って通過する第1直進部と、平面視において前記軸方向に垂直な方向に沿って延在し、前記凹部の底面から前記実装面に向かって立ち上がる第1立上部とを有し、
前記第2引出部は、前記凹部を前記軸方向に沿って通過する第2直進部と、平面視において前記軸方向に垂直な方向に沿って延在し、前記凹部の底面から前記実装面に向かって立ち上がる第2立上部とを有する請求項3に記載のコイル装置。
【請求項5】
前記第1引出部は、前記凹部を前記軸方向に沿って通過する直進部と、平面視において前記軸方向に垂直な方向に沿って延在し、前記凹部の底面から前記第1端子電極に向かって立ち上がる第1立上部とを有し、
前記第2引出部は、前記凹部を前記軸方向に対して斜めに通過する傾斜部と、平面視において前記軸方向に垂直な方向に沿って延在し、前記凹部の底面から前記第2端子電極に向かって立ち上がる第2立上部とを有する請求項3に記載のコイル装置。
【請求項6】
前記鍔部は、第1傾斜面と、第2傾斜面とを有し、
前記第1傾斜面は、平面視において前記軸方向に垂直な方向の一方側で、前記凹部の底面から前記実装面に向かって傾斜しており、
前記第2傾斜面は、平面視において前記軸方向に垂直な方向の他方側で、前記凹部の底面から前記実装面に向かって傾斜している請求項1または2に記載のコイル装置。
【請求項7】
前記鍔部は、第1内壁面と、第2内壁面とを有し、
前記第1内壁面は、平面視において前記軸方向に垂直な方向の一方側で、前記凹部の底面から前記実装面に向かって垂直に立ち上がり、
前記第2内壁面は、平面視において前記軸方向に垂直な方向の他方側で、前記凹部の底面から前記実装面に向かって垂直に立ち上がり、
前記軸方向において、前記第1内壁面は前記鍔部の内側に位置し、前記第1傾斜面は前記鍔部の外側に位置し、
前記軸方向において、前記第2内壁面は前記鍔部の内側に位置し、前記第2傾斜面は前記鍔部の外側に位置する請求項6に記載のコイル装置。
【請求項8】
前記鍔部は、前記巻芯部に接続された内端面と、前記軸方向に沿って前記内端面とは反対側の外端面とを有し、
前記第1引出部と前記第1端子電極との第1接続位置は、前記外端面よりも前記内端面に近接しており、
前記第2引出部と前記第2端子電極との第2接続位置は、前記外端面よりも前記内端面に近接している請求項1または2に記載のコイル装置。
【請求項9】
前記実装面は、前記第1端子電極が設けられた第1領域と、前記第2端子電極が設けられた第2領域とからなり、
前記第1領域と前記第2領域との間には、前記凹部が位置しており、
前記第1領域は、前記第1端子電極と前記凹部との間に位置する第1露出部を有し、
前記第2領域は、前記第2端子電極と前記凹部との間に位置する第2露出部を有し、
前記第1露出部および前記第2露出部では、前記実装面が露出している請求項1または2に記載のコイル装置。
発明の詳細な説明
【技術分野】
【0001】
本開示は、コイル装置に関する。
続きを表示(約 1,700 文字)
【背景技術】
【0002】
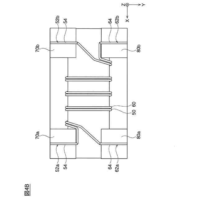
特許文献1には、コモンモードフィルタに適用可能なコイル装置に関する技術が開示されている。特許文献1のコイル装置は、表面実装型の電子部品であり、ドラムコアと、ドラムコアに取り付けられた板状コアとを有する。ドラムコアは、巻芯部と、巻芯部の軸方向の端部に形成された鍔部とを有する。巻芯部には、第1ワイヤおよび第2ワイヤが巻回されている。鍔部の実装面には、第1端子電極および第2端子電極が、相互に離間して設けられている。第1端子電極には第1ワイヤの端部が接続されており、第2端子電極には第2ワイヤの端部が接続されている。板状コアは、鍔部の実装面とは反対側の面に取り付けられている。
【0003】
特許文献1のコイル装置では、第1ワイヤおよび第2ワイヤから生じた磁束は、理想的には、巻芯部と、巻芯部の軸方向の一端の鍔部と、板状コアと、巻芯部の軸方向の他端の鍔部とを最短距離で結ぶ環状の経路を通過する。
【先行技術文献】
【特許文献】
【0004】
特開2014-99587号公報
【発明の概要】
【発明が解決しようとする課題】
【0005】
しかしながら、実際には、第1ワイヤおよび第2ワイヤから生じた磁束の一部は、上述した理想の経路を通過せず、理想の経路から外れた位置に拡散する。この拡散された磁束の一部は、漏れ磁束として、コイル装置の挿入損失を悪化させる要因となり得る。
【0006】
本開示は、漏れ磁束に起因する挿入損失を低減することが可能なコイル装置を提供する。
【課題を解決するための手段】
【0007】
本開示のコイル装置は、
巻芯部と、前記巻芯部の軸方向の端部に形成された鍔部とを有するコアと、
前記コアに取り付けられた板状コアと、
前記巻芯部に巻回された第1ワイヤと、
前記第1ワイヤと対をなすように、前記巻芯部に巻回された第2ワイヤと、
前記鍔部の少なくとも実装面に設けられた第1端子電極と、
少なくとも前記実装面に設けられ、前記第1端子電極から離間する第2端子電極と、を有し、
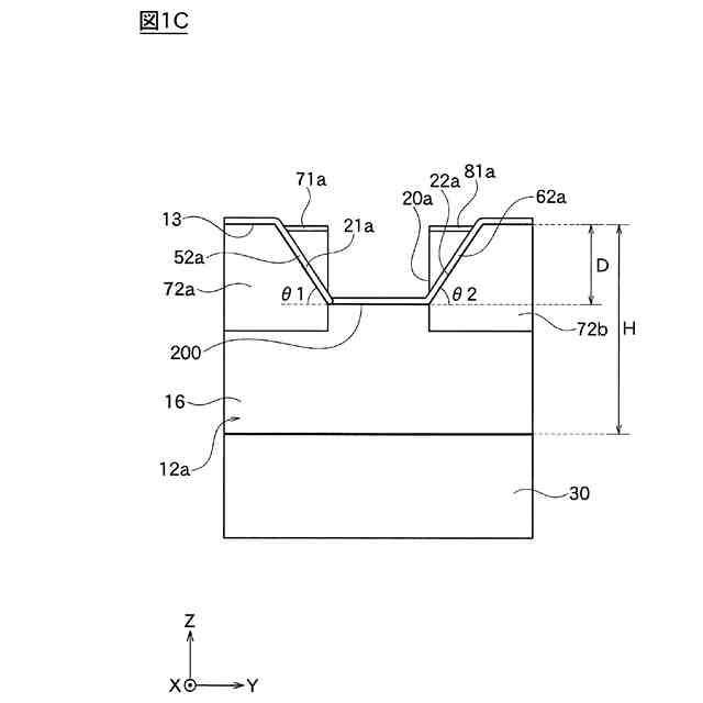
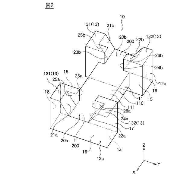
前記鍔部は、前記第1端子電極と前記第2端子電極との間において、前記実装面から凹む凹部を有し、
前記凹部の底面は、前記巻芯部の外周面と面一であり、
前記第1ワイヤおよび前記第2ワイヤの対は、前記軸方向に沿って相互に離間する複数のターンを有する。
【0008】
本開示のコイル装置では、鍔部が、第1端子電極と第2端子電極との間において、実装面から凹む凹部を有する。そのため、凹部によって、磁束を鍔部の実装面側に拡散する経路の少なくとも一部が遮断され、磁束が鍔部の実装面側に拡散されにくくなる。これにより、漏れ磁束が減少し、巻芯部と鍔部と板状コアとを最短距離で結ぶ経路を通過する磁束の量が増大する。したがって、漏れ磁束に起因するコイル装置の挿入損失を低減することができる。また、凹部の底面は、巻芯部の外周面と面一である。そのため、凹部の底面と巻芯部の外周面との間に段差が形成されず、挿入損失の要因である段差への磁束の集中を回避することができる。
【0009】
また、第2ワイヤは、第1ワイヤと対をなすように、巻芯部に巻回される。そして、第1ワイヤおよび第2ワイヤの対は、軸方向に沿って相互に離間する複数のターンを有する。そのため、第1ワイヤと第2ワイヤとの間の結合が向上し、漏れ磁束が減少する。また、軸方向に沿って隣り合うターン間の浮遊容量が減少する。これにより、漏れ磁束に起因するコイル装置の挿入損失をさらに低減することができる。
【0010】
前記鍔部は、前記巻芯部に接続された内端面と、前記軸方向に沿って前記内端面とは反対側の外端面とを有し、前記凹部は、前記軸方向に沿って、前記内端面から前記外端面まで延在していてもよい。
(【0011】以降は省略されています)
この特許をJ-PlatPat(特許庁公式サイト)で参照する
関連特許
TDK株式会社
電子部品
8日前
TDK株式会社
電子部品
4日前
TDK株式会社
フィルタ
9日前
TDK株式会社
電子部品
8日前
TDK株式会社
電子部品
9日前
TDK株式会社
圧電素子
9日前
TDK株式会社
電子部品
9日前
TDK株式会社
磁気センサ
9日前
TDK株式会社
コイル部品
9日前
TDK株式会社
コイル部品
8日前
TDK株式会社
ガスセンサ
10日前
TDK株式会社
コイル装置
8日前
TDK株式会社
コイル装置
8日前
TDK株式会社
コイル装置
8日前
TDK株式会社
コイル部品
8日前
TDK株式会社
コイル部品
11日前
TDK株式会社
圧力センサ
11日前
TDK株式会社
ガスセンサ
15日前
TDK株式会社
コイル装置
8日前
TDK株式会社
電磁波センサ
10日前
TDK株式会社
積層型分波器
10日前
TDK株式会社
熱間加工磁石
15日前
TDK株式会社
電子デバイス
8日前
TDK株式会社
電子デバイス
8日前
TDK株式会社
積層コイル部品
9日前
TDK株式会社
積層コイル部品
15日前
TDK株式会社
積層型電子部品
9日前
TDK株式会社
積層コイル部品
15日前
TDK株式会社
積層コイル部品
8日前
TDK株式会社
積層型コイル部品
11日前
TDK株式会社
積層型フィルタ装置
10日前
TDK株式会社
フェライト焼結磁石
8日前
TDK株式会社
圧電アクチュエータ
11日前
TDK株式会社
配線体、及び表示装置
8日前
TDK株式会社
圧力センサ用金属部材
8日前
TDK株式会社
メタサーフェスレンズ
8日前
続きを見る
他の特許を見る