TOP
|
特許
|
意匠
|
商標
特許ウォッチ
Twitter
他の特許を見る
10個以上の画像は省略されています。
公開番号
2025159650
公報種別
公開特許公報(A)
公開日
2025-10-21
出願番号
2024062383
出願日
2024-04-08
発明の名称
店舗情報設定システム
出願人
富士電機株式会社
代理人
個人
,
個人
主分類
G06Q
30/06 20230101AFI20251014BHJP(計算;計数)
要約
【課題】冷却装置および冷凍装置を含む店舗機器を備える店舗のレイアウトを設定する際に、店舗機器の配置情報とともに、各店舗機器間との接続情報を設定可能な店舗情報設定システムを提供する。
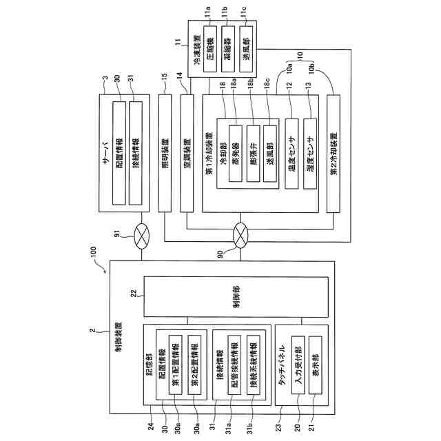
【解決手段】この店舗情報設定システム100は、入力受付部20と、店舗80内に設置される制御装置2を備え、制御装置2は、操作者の操作入力を受け付ける入力受付部20と、操作画面を表示する表示部21と、操作画面における入力受付部20からの操作入力に基づいて、店舗80における店舗機器1の配置を示す配置情報30、および、各店舗機器1間の接続状態を示す接続情報31を設定する制御を行う制御部22と、を含む。
【選択図】図2
特許請求の範囲
【請求項1】
冷却装置および冷凍装置を含む店舗機器を備える店舗のレイアウトを設定する店舗情報設定システムであって、
前記店舗内に設置される制御装置を備え、
前記制御装置は、
操作者の操作入力を受け付ける入力受付部と、
操作画面を表示する表示部と、
前記操作画面における前記入力受付部からの操作入力に基づいて、前記店舗における前記店舗機器の配置を示す配置情報、および、各店舗機器間の接続状態を示す接続情報を設定する制御を行う制御部と、を含む、店舗情報設定システム。
続きを表示(約 1,400 文字)
【請求項2】
前記配置情報は、前記店舗における前記冷却装置の位置を示す情報である第1配置情報と、前記店舗における前記冷凍装置の位置を示す情報である第2配置情報とを含み、
前記接続情報は、前記冷凍装置と前記冷却装置とを接続する冷媒配管の接続状況を示す配管接続情報を含み、
前記制御部は、前記操作画面における前記入力受付部からの操作入力に基づいて、前記第1配置情報および前記第2配置情報の設定と、前記配管接続情報の設定とを行うように構成されている、請求項1に記載の店舗情報設定システム。
【請求項3】
前記入力受付部および前記表示部は、一体的に構成されたタッチパネルであり、
前記制御部は、前記タッチパネルに表示された前記操作画面に対する操作に基づいて、前記第1配置情報および前記第2配置情報の設定と、前記配管接続情報の設定とを行うように構成されている、請求項2に記載の店舗情報設定システム。
【請求項4】
前記制御部は、
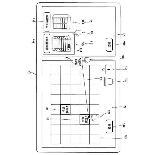
前記店舗機器を選択する機器選択領域と、前記店舗機器の配置および前記店舗機器の接続を設定する機器設定領域とを含む、店舗情報設定画面を前記表示部に表示するとともに、
前記機器選択領域において選択された前記店舗機器が、前記タッチパネルに対するドラッグ操作によって前記機器設定領域に配置されたことに基づいて、前記第1配置情報および前記第2配置情報を設定するように構成されている、請求項3に記載の店舗情報設定システム。
【請求項5】
前記接続情報は、前記冷凍装置と前記冷却装置とによって形成される冷凍サイクルのグループである接続系統を示す接続系統情報を含み、
前記制御部は、前記店舗情報設定画面において、前記冷凍装置に対して、前記接続系統情報を設定可能に構成されている、請求項4に記載の店舗情報設定システム。
【請求項6】
前記制御部は、前記店舗情報設定画面において、前記接続系統情報ごとに、前記配管接続情報を識別可能に表示するように構成されている、請求項5に記載の店舗情報設定システム。
【請求項7】
前記制御部は、前記機器設定領域において、前記店舗機器ごとに、前記制御部と通信接続されているか否かを識別可能に表示するように構成されている、請求項4に記載の店舗情報設定システム。
【請求項8】
前記制御部は、前記機器設定領域において、前記店舗機器の各々の駆動状態が、正常であるか、異常であるか、または、正常の範囲内で異常に近い状態であるかを識別可能に表示するように構成されている、請求項4に記載の店舗情報設定システム。
【請求項9】
前記店舗機器は、温度センサ、湿度センサ、空調装置、照明装置、および、什器の少なくともいずれかをさらに含み、
前記制御部は、前記配置情報として、前記温度センサ、前記湿度センサ、前記空調装置、前記照明装置、および、前記什器の少なくともいずれかの配置を設定するように構成されている、請求項1に記載の店舗情報設定システム。
【請求項10】
前記制御部は、前記機器設定領域の背景として、前記店舗のレイアウト図を表示するように構成されている、請求項4に記載の店舗情報設定システム。
(【請求項11】以降は省略されています)
発明の詳細な説明
【技術分野】
【0001】
この発明は、店舗情報設定システムに関し、特に、店舗機器を備える店舗のレイアウトを設定する店舗情報設定システムに関する。
続きを表示(約 2,300 文字)
【背景技術】
【0002】
従来、店舗機器を備える店舗のレイアウトを設定する店舗情報設定システムが知られている(たとえば、特許文献1参照)。
【0003】
特許文献1には、店舗に設けられた複数の冷蔵用のショーケースおよび冷凍機(店舗機器)の運転状態を一括して管理するために、ショーケースおよび冷凍機の設置形態(レイアウト)を設定する集中管理装置が開示されている。また、上記特許文献1に開示されている集中管理装置は、データを表示するための表示手段と、制御手段と、入力手段とを備えている。上記特許文献1に開示されている制御手段は、入力手段によって入力されたショーケースおよび冷凍機の設置形態に関するデータを作成し、作成したデータに基づいて、ショーケース冷凍機の設置形態を表示手段に表示するように構成されている。
【先行技術文献】
【特許文献】
【0004】
特開平05-264149号公報
【発明の概要】
【発明が解決しようとする課題】
【0005】
ここで、上記特許文献1に開示されているようなショーケース(冷却装置)は、冷凍機(冷凍装置)と接続されることにより冷凍サイクルを形成し、冷却装置に陳列された商品の冷却を行う。しかしながら、上記特許文献1に開示されている集中管理装置(店舗情報設定システム)は、冷却装置および冷凍装置のレイアウト(配置情報)は設定可能であるが、各々の装置間の接続関係に関しては設定可能に構成されていない。そこで、冷却装置および冷凍装置を含む店舗機器を備える店舗のレイアウトを設定する際に、冷却装置と冷凍装置との接続情報を設定可能なシステムが望まれている。
【0006】
この発明は、上記のような課題を解決するためになされたものであり、この発明の1つの目的は、冷却装置および冷凍装置を含む店舗機器を備える店舗のレイアウトを設定する際に、各店舗機器の配置情報とともに、各店舗機器間の接続情報を設定可能な店舗情報設定システムを提供することである。
【課題を解決するための手段】
【0007】
上記目的を達成するために、この発明の一の局面による店舗情報設定システムは、冷却装置および冷凍装置を含む店舗機器を備える店舗のレイアウトを設定する店舗情報設定システムであって、店舗内に設置される制御装置を備え、制御装置は、操作者の操作入力を受け付ける入力受付部と、操作画面を表示する表示部と、操作画面における入力受付部からの操作入力に基づいて、店舗における店舗機器の配置を示す配置情報、および、各店舗機器間の接続状態を示す接続情報を設定する制御を行う制御部と、を含む。
【0008】
上記一の局面による店舗情報設定システムは、上記のように、操作画面における入力受付部からの操作入力に基づいて、店舗における店舗機器の配置を示す配置情報、および、各店舗機器間の接続状態を示す接続情報を設定する制御を行う制御部を含む制御装置を備える。これにより、制御部が、操作画面における入力受付部からの操作入力に基づいて店舗機器の配置情報および接続情報を設定するように構成されているので、操作者は、店舗に設置された制御装置を操作することにより、店舗機器の配置情報、および、各店舗機器間の接続情報を設定することができる。その結果、冷却装置および冷凍装置を含む店舗機器を備える店舗のレイアウトを設定する際に、各店舗機器の配置情報とともに、各店舗機器間の接続情報を設定可能な店舗情報設定システムを提供することができる。
【0009】
上記一の局面による店舗情報設定システムにおいて、好ましくは、配置情報は、店舗における冷却装置の位置を示す情報である第1配置情報と、店舗における冷凍装置の位置を示す情報である第2配置情報とを含み、接続情報は、冷凍装置と冷却装置とを接続する冷媒配管の接続状況を示す配管接続情報を含み、制御部は、操作画面における入力受付部からの操作入力に基づいて、第1配置情報および第2配置情報の設定と、配管接続情報の設定とを行うように構成されている。このように構成すれば、操作者は、冷却装置および冷凍装置が配置された店舗に設置された制御装置の操作画面において操作を行うことにより、第1配置情報および第2配置情報と、配管接続情報とを容易に設定することができる。
【0010】
この場合、好ましくは、入力受付部および表示部は、一体的に構成されたタッチパネルであり、制御部は、タッチパネルに表示された操作画面に対する操作に基づいて、第1配置情報および第2配置情報の設定と、配管接続情報の設定とを行うように構成されている。このように構成すれば、操作者は、タッチパネルに表示された操作画面を操作することにより、第1配置情報および第2配置情報の設定と、配管接続情報の設定とを行うことができる。したがって、たとえば、マウスおよびキーボードなどを用いて第1配置情報および第2配置情報の設定と、配管接続情報の設定とを行う構成と比較して、第1配置情報および第2配置情報の設定と、配管接続情報の設定とを行う際に操作者が操作するデバイスの数を低減することができる。その結果、第1配置情報および第2配置情報の設定と、配管接続情報の設定とを行う際の操作者の利便性(ユーザビリティ)を向上させることができる。
(【0011】以降は省略されています)
この特許をJ-PlatPat(特許庁公式サイト)で参照する
関連特許
富士電機株式会社
半導体装置
5日前
富士電機株式会社
ショーケース
15日前
富士電機株式会社
金銭処理装置
今日
富士電機株式会社
学習システム
1日前
富士電機株式会社
商品収納装置
15日前
富士電機株式会社
自動販売装置
6日前
富士電機株式会社
半導体モジュール
8日前
富士電機株式会社
集積回路、電源回路
5日前
富士電機株式会社
店舗情報設定システム
1日前
富士電機株式会社
半導体装置の製造方法
7日前
富士電機株式会社
制御回路および電力供給回路
6日前
富士電機株式会社
電力変換装置及びその制御方法
15日前
富士電機株式会社
部分放電測定装置及び部分放電測定方法
5日前
富士電機株式会社
紙幣処理装置及び新紙幣搬送動作確認方法
今日
富士電機株式会社
制御支援装置、制御支援方法、及びプログラム
5日前
富士電機株式会社
異常種類提示装置、異常種類提示方法及びプログラム
19日前
富士電機株式会社
半導体モジュールおよび半導体モジュールの製造方法
6日前
富士電機株式会社
半導体装置
今日
富士電機株式会社
セキュリティテスト実施装置およびセキュリティテスト実施方法
7日前
富士電機株式会社
診断装置、診断システム、診断方法、プログラム
5日前
個人
詐欺保険
8日前
個人
縁伊達ポイン
8日前
個人
地球保全システム
21日前
個人
QRコードの彩色
12日前
個人
為替ポイント伊達夢貯
1か月前
個人
冷凍食品輸出支援構造
1か月前
個人
残土処理システム
14日前
個人
農作物用途分配システム
7日前
個人
表変換編集支援システム
1か月前
個人
知的財産出願支援システム
15日前
個人
タッチパネル操作指代替具
1日前
個人
知財出願支援AIシステム
1か月前
個人
スケジュール調整プログラム
今日
個人
携帯端末障害問合せシステム
今日
個人
パスワード管理支援システム
1か月前
個人
AIによる情報の売買の仲介
1か月前
続きを見る
他の特許を見る