TOP
|
特許
|
意匠
|
商標
特許ウォッチ
Twitter
他の特許を見る
10個以上の画像は省略されています。
公開番号
2025155123
公報種別
公開特許公報(A)
公開日
2025-10-14
出願番号
2024058590
出願日
2024-04-01
発明の名称
半導体モジュール
出願人
富士電機株式会社
代理人
インフォート弁理士法人
主分類
H01L
25/07 20060101AFI20251006BHJP(基本的電気素子)
要約
【課題】半導体モジュール毎のリードの外部端子部とケースの表面との平行度のばらつきを低減する。
【解決手段】半導体モジュール(1)は、配線板(300)と半導体素子(320)を含む回路部品と、回路部品の導体パターン(302)と接合されたリード(5)と、おもて面(421)に設けた凹部にナット(7)が収容されたケース(4)とを備える。ケースは、配線板を囲む枠体部(400)と枠体部の開口を閉じる蓋部(440)とを備える。リードは、配線板に沿って延伸する外部端子部(501)と、導体パターンと接合された被接合部(500)と、被接合部と外部端子部を接続する中間部位(502、503)とを有する。ケースには、被接合部と中間部位の境界を支点とするリードの回動による配線板に対するリードの外部端子部の延伸方向の角度の増加を阻止するようにリードと当接する当接部(401、402/423、442)が設けられている。
【選択図】図2
特許請求の範囲
【請求項1】
配線板と前記配線板に搭載された半導体素子とを含む回路部品と、
前記回路部品の導体パターンと接合されたリードと、
おもて面に設けた凹部にナットが収容されたケースと、を備え、
前記ケースは、前記配線板を囲む枠体部と、前記枠体部の開口を閉じる蓋部と、を備え、
前記リードは、前記配線板に沿って延伸する外部端子部と、前記導体パターンと接合された被接合部と、前記被接合部と前記外部端子部とを接続する中間部位と、を有し、
前記ケースに、前記被接合部と前記中間部位との境界を支点とする前記リードの前記中間部位及び前記外部端子部の回動による前記配線板に対する前記リードの前記外部端子部の延伸方向の角度の増加を阻止するように前記リードと当接する当接部が設けられている、
半導体モジュール。
続きを表示(約 1,000 文字)
【請求項2】
前記ケースは、前記枠体部の開口端に配置され前記ナットが収容された凹部を有するナットグローブを更に備え、
前記ケースの前記当接部は、前記外部端子部の回動による前記ナットグローブの前記おもて面に対する前記リードの前記外部端子部の延伸方向の角度の増加を阻止し、
前記ケースの前記当接部は、前記枠体部に設けられ、前記リードの前記中間部位における前記配線板と対向する面の裏面と当接し前記リードの前記中間部位が前記配線板から離間する方向の回動を阻止する、請求項1に記載の半導体モジュール。
【請求項3】
前記蓋部は前記ナットグローブから所定の距離だけ離間して配置され、
前記ケースの前記当接部は、前記枠体部の内周壁面から突出する突出部であり、
前記リードの前記中間部位に、前記配線板からの高さが前記突出部の高さよりも低く、前記突出部と当接する腕部が設けられている、請求項2に記載の半導体モジュール。
【請求項4】
前記ケースは、前記枠体部の開口端に配置され前記ナットが収容された凹部を有するナットグローブを更に備え、
前記ケースの前記当接部は、前記外部端子部の回動による前記ナットグローブの前記おもて面に対する前記リードの前記外部端子部の延伸方向の角度の増加を阻止し、
前記蓋部は、前記ナットグローブから所定の距離だけ離間して配置され、
前記ケースの前記当接部は、前記ナットグローブの前記おもて面に配置された第1の突起部と、前記蓋部における前記リードの前記中間部位と対向する側面に配置された第2の突起部とを含み、
前記リードの前記外部端子部が前記第1の突起部と当接し、前記リードの前記中間部位が前記第2の突起部と当接している、
請求項1に記載の半導体モジュール。
【請求項5】
前記第1の突起部及び前記第2の突起部は、前記リードと当接する先端部分が球面である、請求項4に記載の半導体モジュール。
【請求項6】
前記回路部品によるインバータ回路が形成されている、請求項1に記載の半導体モジュール。
【請求項7】
第1の面に前記回路部品及び前記ケースが配置された放熱ベースを更に備える、請求項1~6のいずれか一項に記載の半導体モジュール。
発明の詳細な説明
【技術分野】
【0001】
本発明は、半導体モジュールに関する。
続きを表示(約 2,100 文字)
【背景技術】
【0002】
インバータ装置に用いられる半導体モジュールには、一端がケース内に配置された回路部品の導体と接合され他端がケースの隙間を通って外方に延伸するリードを備えたものがある。この種の半導体モジュールには、リードにおけるケースの外方に延伸する外部端子部とケースとの位置合わせを高精度に行えるようにしたものがある(例えば、特許文献1、2)。
【先行技術文献】
【特許文献】
【0003】
国際公開2017/122473号
特開2009-21286号公報
【発明の概要】
【発明が解決しようとする課題】
【0004】
しかしながら、上述した半導体モジュールでは、リードの外部端子部とケースの表面(おもて面)との平行度に半導体モジュール毎のばらつきが生じやすい。本発明は、半導体モジュール毎のリードの外部端子部とケースの表面(おもて面)との平行度のばらつきを低減することを目的の一つとする。
【課題を解決するための手段】
【0005】
1つの態様に係る半導体モジュールは、配線板と前記配線板に搭載された半導体素子とを含む回路部品と、前記回路部品の導体パターンと接合されたリードと、おもて面に設けた凹部にナットが収容されたケースと、を備える。前記ケースは、前記配線板を囲む枠体部と、前記枠体部の開口を閉じる蓋部と、を備える。前記リードは、前記配線板に沿って延伸する外部端子部と、前記導体パターンと接合された被接合部と、前記被接合部と前記外部端子部とを接続する中間部位と、を有する。前記ケースには、前記被接合部と前記中間部位との境界を支点とする前記リードの前記中間部位及び前記外部端子部の回動による前記配線板に対する前記リードの前記外部端子部の延伸方向の角度の増加を阻止するように前記リードと当接する当接部が設けられている。
【発明の効果】
【0006】
上述の態様によれば、半導体モジュール毎のリードの外部端子部とケースの表面(おもて面)との平行度のばらつきを低減することができる。
【図面の簡単な説明】
【0007】
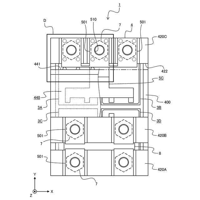
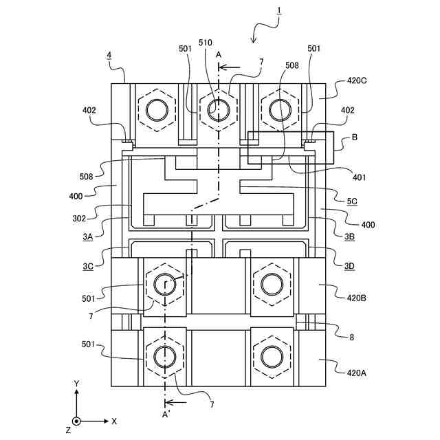
第1の実施の形態に係る半導体モジュールの平面図である。
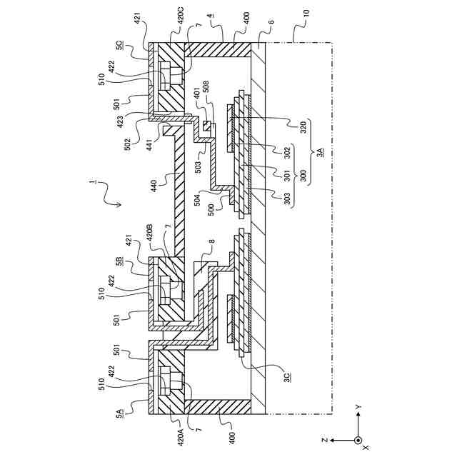
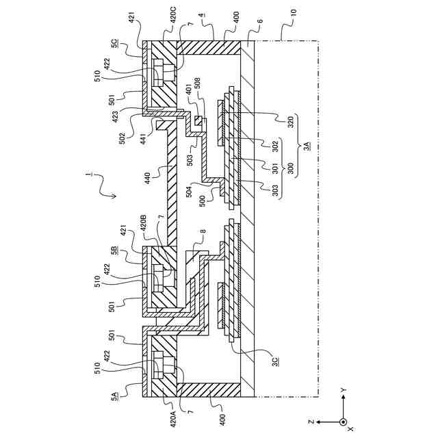
図1のA-A’線断面図である。
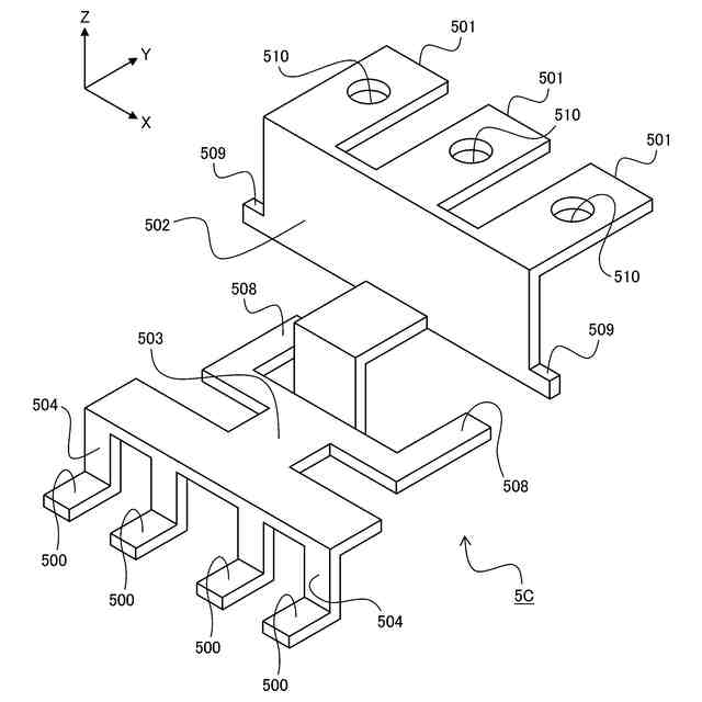
リードの形状の例を説明する斜視図である。
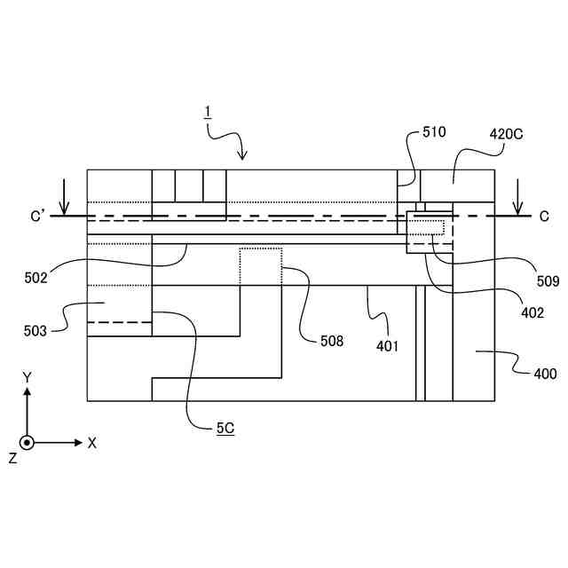
図1の領域B内を拡大した部分拡大平面図である。
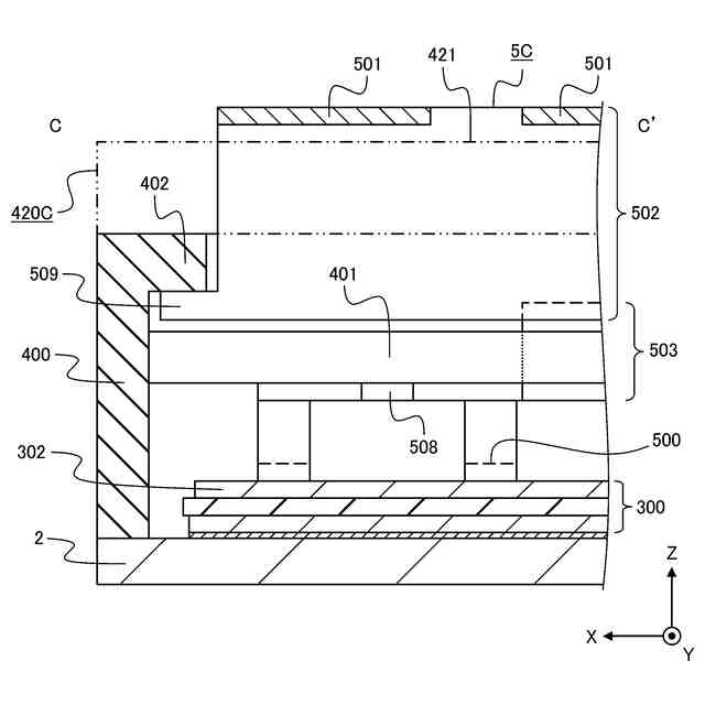
図4のC-C’線断面図である。
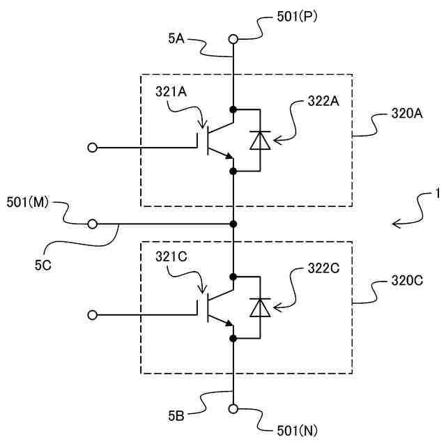
図1の半導体モジュールに形成されたインバータ回路の等価回路図である。
第1の実施の形態の半導体モジュールの製造工程を例示するフロー図である。
主端子の浮き上がりを説明する図である。
第2の実施の形態に係る半導体モジュールの平面図である。
図9の領域D内を拡大した部分拡大平面図である。
図10のE-E’線断面図である。
第2の実施の形態の半導体モジュールの製造工程を例示するフロー図である。
第2の実施の形態に係る半導体モジュールの構成による作用効果を説明する図である。
【発明を実施するための形態】
【0008】
以下、図面を参照しながら、本発明の実施の形態を詳細に説明する。以下の説明における「半導体モジュール」は、半導体チップ、ダイ等と呼ばれることもある半導体素子を絶縁材料により封止したものである。半導体モジュールは、「半導体装置」等と呼ばれてもよい。
【0009】
図中のX軸、Y軸、及びZ軸は、図示した半導体モジュール等における平面や方向を定義する目的で示されている。X軸、Y軸、及びZ軸は、互いに直交し、右手系をなすものとする。以下の説明では、X軸に平行な方向、Y軸に平行な方向、及びZ軸に平行な方向を、それぞれ、X方向、Y方向、及びZ方向と称する。また、X方向、Y方向、及びZ方向の各方向は、図示されるX軸、Y軸、及びZ軸の矢印(正負)の方向と関連付ける場合には、「正側」又は「負側」が付される。
【0010】
本明細書では、Z方向を上下方向と称することがある。本明細書において、「上」や「上方」は、基準となる面、部材、位置等よりもZ方向正側であることを意図し、「下」や「下方」は、基準となる面、部材、位置等よりもZ方向負側であることを意図する。例えば、「部材Aの上に部材Bが配置される」と記載されるとき、部材Bは、部材AからみてZ方向正側に配置される。また、「部材Aの上面」と記載されるとき、その面は、部材AにおけるZ方向正側の端に位置しZ方向正側を向いた面であり得る。これらの方向、及び方向と関連付けられる面は、説明の便宜上用いる文言であり、半導体モジュールの取付姿勢等によっては、X軸、Y軸、及びZ軸の方向のそれぞれとの対応関係が変わることがある。例えば、本明細書では、半導体素子における配線板と向かい合う面を下面と呼び、下面とは反対の面を上面と呼ぶが、これに限らず、配線板と向かい合う面が上面と呼ばれ、その反対の面が下面と呼ばれてもよい。
(【0011】以降は省略されています)
この特許をJ-PlatPat(特許庁公式サイト)で参照する
関連特許
富士電機株式会社
冷却装置
1か月前
富士電機株式会社
整流装置
2か月前
富士電機株式会社
溶接装置
21日前
富士電機株式会社
冷却装置
24日前
富士電機株式会社
搬送機構
21日前
富士電機株式会社
冷却装置
1か月前
富士電機株式会社
回路遮断器
18日前
富士電機株式会社
エンコーダ
18日前
富士電機株式会社
半導体装置
2か月前
富士電機株式会社
半導体装置
21日前
富士電機株式会社
半導体装置
2か月前
富士電機株式会社
半導体装置
3日前
富士電機株式会社
半導体装置
2か月前
富士電機株式会社
半導体装置
2か月前
富士電機株式会社
半導体装置
1か月前
富士電機株式会社
半導体装置
1か月前
富士電機株式会社
半導体装置
17日前
富士電機株式会社
半導体装置
2か月前
富士電機株式会社
半導体装置
1か月前
富士電機株式会社
電磁接触器
17日前
富士電機株式会社
電磁接触器
17日前
富士電機株式会社
自動販売機
1か月前
富士電機株式会社
半導体装置
2か月前
富士電機株式会社
半導体装置
2か月前
富士電機株式会社
電磁接触器
17日前
富士電機株式会社
電磁接触器
17日前
富士電機株式会社
電磁接触器
17日前
富士電機株式会社
硬貨処理装置
2か月前
富士電機株式会社
商品収納装置
13日前
富士電機株式会社
電力変換装置
1か月前
富士電機株式会社
ショーケース
13日前
富士電機株式会社
冷却システム
1か月前
富士電機株式会社
分析システム
1か月前
富士電機株式会社
ショーケース
1か月前
富士電機株式会社
自動販売装置
4日前
富士電機株式会社
電力変換システム
1か月前
続きを見る
他の特許を見る