TOP
|
特許
|
意匠
|
商標
特許ウォッチ
Twitter
他の特許を見る
公開番号
2025146184
公報種別
公開特許公報(A)
公開日
2025-10-03
出願番号
2024046824
出願日
2024-03-22
発明の名称
異常種類提示装置、異常種類提示方法及びプログラム
出願人
富士電機株式会社
代理人
個人
,
個人
主分類
G05B
23/02 20060101AFI20250926BHJP(制御;調整)
要約
【課題】異常検知対象に発生した異常の種類を提示すること。
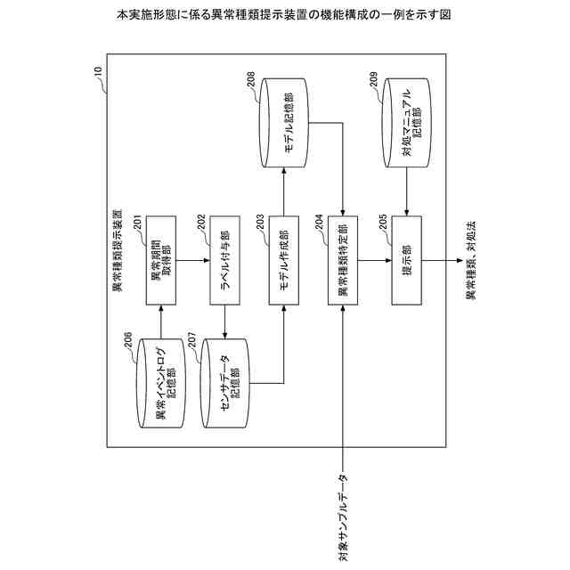
【解決手段】対象に発生した過去の異常の発生日時と前記異常の種類を表す異常種類とが含まれる異常イベントログに基づいて、前記発生日時を基準とする期間を少なくとも含む異常期間と、前記異常種類とを取得する取得部と、前記異常期間と前記異常種類とに基づいて、前記対象の過去の状態を計測した第1のサンプルデータに対して正常又は前記異常種類を表す第1のラベルを付与する付与部と、前記第1のラベルが付与された第1のサンプルデータに基づいて、前記第1のサンプルデータを入力としたときに前記第1のラベルを予測するモデルを作成する作成部と、前記対象の第2のサンプルデータが与えられたときに、前記モデルと前記第2のサンプルデータとに基づいて、正常又は異常種類を表す第2のラベルを特定する特定部と、前記第2のラベルが異常種類を表すものである場合、前記異常種類を少なくとも提示する提示部と、を有する。
【選択図】図6
特許請求の範囲
【請求項1】
対象に発生した過去の異常の発生日時と前記異常の種類を表す異常種類とが含まれる異常イベントログに基づいて、前記発生日時を基準とする期間を少なくとも含む異常期間と、前記異常種類とを取得する取得部と、
前記異常期間と前記異常種類とに基づいて、前記対象の過去の状態を計測した第1のサンプルデータに対して正常又は前記異常種類を表す第1のラベルを付与する付与部と、
前記第1のラベルが付与された第1のサンプルデータに基づいて、前記第1のサンプルデータを入力としたときに前記第1のラベルを予測するモデルを作成する作成部と、
前記対象の第2のサンプルデータが与えられたときに、前記モデルと前記第2のサンプルデータとに基づいて、正常又は異常種類を表す第2のラベルを特定する特定部と、
前記第2のラベルが異常種類を表すものである場合、前記異常種類を少なくとも提示する提示部と、
を有する異常種類提示装置。
続きを表示(約 1,500 文字)
【請求項2】
前記付与部は、
計測日時が前記異常期間に含まれる第1のサンプルデータに対しては前記異常期間に対応する異常種類を表す第1のラベルを付与し、計測日時がいずれの前記異常期間にも含まれない第1のサンプルデータに対しては正常を表す第1のラベルを付与する、請求項1に記載の異常種類提示装置。
【請求項3】
前記作成部は、
前記第1のサンプルデータを入力データ、前記第1のラベルを教師データとして、教師あり学習の手法により、前記モデルを作成する、請求項1又は2に記載の異常種類提示装置。
【請求項4】
前記提示部は、
異常種類と前記異常種類の異常が発生したときの対処法とが含まれる対処マニュアルに基づいて、前記第2のラベルが表す異常種類と、前記異常種類の異常が発生したときの対処法とを提示する、請求項1に記載の異常種類提示装置。
【請求項5】
前記対処マニュアルには、前記対処法の想定対処時間が更に含まれ、
前記提示部は、
前記想定対処時間を更に提示する、請求項4に記載の異常種類提示装置。
【請求項6】
前記異常イベントログには、前記異常種類の異常が発生したときの対処法が更に含まれ、
前記提示部は
前記第2のラベルが表す異常種類と、前記異常種類の異常が発生したときの対処法とを提示する、請求項1に記載の異常種類提示装置。
【請求項7】
対象に発生した過去の異常の発生日時と前記異常の種類を表す異常種類とが含まれる異常イベントログに基づいて、前記発生日時を基準とする期間を少なくとも含む異常期間と、前記異常種類とを取得する取得手順と、
前記異常期間と前記異常種類とに基づいて、前記対象の過去の状態を計測した第1のサンプルデータに対して正常又は前記異常種類を表す第1のラベルを付与する付与手順と、
前記第1のラベルが付与された第1のサンプルデータに基づいて、前記第1のサンプルデータを入力としたときに前記第1のラベルを予測するモデルを作成する作成手順と、
前記対象の第2のサンプルデータが与えられたときに、前記モデルと前記第2のサンプルデータとに基づいて、正常又は異常種類を表す第2のラベルを特定する特定手順と、
前記第2のラベルが異常種類を表すものである場合、前記異常種類を少なくとも提示する提示手順と、
をコンピュータが実行する異常種類提示方法。
【請求項8】
対象に発生した過去の異常の発生日時と前記異常の種類を表す異常種類とが含まれる異常イベントログに基づいて、前記発生日時を基準とする期間を少なくとも含む異常期間と、前記異常種類とを取得する取得手順と、
前記異常期間と前記異常種類とに基づいて、前記対象の過去の状態を計測した第1のサンプルデータに対して正常又は前記異常種類を表す第1のラベルを付与する付与手順と、
前記第1のラベルが付与された第1のサンプルデータに基づいて、前記第1のサンプルデータを入力としたときに前記第1のラベルを予測するモデルを作成する作成手順と、
前記対象の第2のサンプルデータが与えられたときに、前記モデルと前記第2のサンプルデータとに基づいて、正常又は異常種類を表す第2のラベルを特定する特定手順と、
前記第2のラベルが異常種類を表すものである場合、前記異常種類を少なくとも提示する提示手順と、
をコンピュータに実行させるプログラム。
発明の詳細な説明
【技術分野】
【0001】
本開示は、異常種類提示装置、異常種類提示方法及びプログラムに関する。
続きを表示(約 2,100 文字)
【背景技術】
【0002】
プラント等を対象として、異常の発生を検知する技術が知られている。例えば、非特許文献1には、プラントの正常な運転状態を表す運転データから多変量解析によって正常状態をモデル化した上で、そのモデルから異常の発生を検知する技術が開示されている。
【先行技術文献】
【非特許文献】
【0003】
加納 学,「多変量統計的プロセス管理」,インターネット<URL:http://manabukano.brilliant-future.net/research/report/Report2005_MSPC.pdf>
【発明の概要】
【発明が解決しようとする課題】
【0004】
しかしながら、従来技術は異常の発生を検知することができる一方で、異常が発生した場合にその異常の種類を特定することはできなかった。一般に異常の種類によってその異常に対する対処方法が異なるため、異常の種類を特定できることが求められる。
【0005】
本開示は、上記の点に鑑みてなされたもので、異常検知対象に発生した異常の種類を提示することを目的とする。
【課題を解決するための手段】
【0006】
本開示の一態様による異常種類提示装置は、対象に発生した過去の異常の発生日時と前記異常の種類を表す異常種類とが含まれる異常イベントログに基づいて、前記発生日時を基準とする期間を少なくとも含む異常期間と、前記異常種類とを取得する取得部と、前記異常期間と前記異常種類とに基づいて、前記対象の過去の状態を計測した第1のサンプルデータに対して正常又は前記異常種類を表す第1のラベルを付与する付与部と、前記第1のラベルが付与された第1のサンプルデータに基づいて、前記第1のサンプルデータを入力としたときに前記第1のラベルを予測するモデルを作成する作成部と、前記対象の第2のサンプルデータが与えられたときに、前記モデルと前記第2のサンプルデータとに基づいて、正常又は異常種類を表す第2のラベルを特定する特定部と、前記第2のラベルが異常種類を表すものである場合、前記異常種類を少なくとも提示する提示部と、を有する。
【発明の効果】
【0007】
異常検知対象に発生した異常の種類を提示することができる。
【図面の簡単な説明】
【0008】
本実施形態に係る異常種類提示装置のハードウェア構成の一例を示す図である。
本実施形態に係る異常種類提示装置の機能構成の一例を示す図である。
異常イベントログの一例を示す図である。
対処マニュアルの一例を示す図である。
本実施形態に係るモデル作成処理の一例を示すフローチャートである。
本実施形態に係る異常種類提示処理の一例を示すフローチャートである。
【発明を実施するための形態】
【0009】
以下、本発明の一実施形態について、図面を参照しながら詳細に説明する。以下の実施形態では、プラントや設備、機器、装置等を異常検知対象として、異常検知対象の異常発生有無と異常が発生した場合はその種類とその種類の異常に対する対処法とをオペレータ等のユーザに提示する異常種類提示装置10について説明する。これにより、ユーザは、異常発生有無に加えて、異常が発生した場合はその種類と対処法とを知ることができるため、異常に対する復旧作業等を早期に実施することが可能となる。なお、異常検知対象とは、異常の発生有無と異常が発生した場合はその種類とをユーザに提示する対象のことであり、例えば、「異常診断対象」等と呼ばれてもよい。
【0010】
また、以下では、異常検知対象の過去の異常イベントログとセンサデータとが存在していることを前提とする。異常イベントログとは、異常検知対象に異常が発生したときの発生日時や終了日時、異常種類等が含まれるログデータのことである。センサデータとは、異常検知対象に設置等された各種センサの計測値で構成されるサンプルデータの時系列データのことである。以下、サンプルデータをxとして、サンプルデータxにはn個の変数x
1
,・・・,x
n
が含まれるものとする。また、日時tにおけるサンプルデータをx(t)=(x
1
(t),・・・,x
n
(t))と表すことにする。このとき、センサデータをXとすれば、X={x(t)|t∈T}と表される。ここで、Tは日時集合であり、例えば、計測開始日時をT
s
、計測終了日時をT
e
とすればT=[T
s
,T
e
]等と表される。なお、センサデータは、例えば、「運転データ」や「状態データ」等と呼ばれもよい。また、変数x
1
,・・・,x
n
は、例えば、「状態変数」等と呼ばれてもよい。
(【0011】以降は省略されています)
この特許をJ-PlatPat(特許庁公式サイト)で参照する
関連特許
富士電機株式会社
溶接装置
10日前
富士電機株式会社
搬送機構
10日前
富士電機株式会社
冷却装置
13日前
富士電機株式会社
エンコーダ
7日前
富士電機株式会社
回路遮断器
7日前
富士電機株式会社
半導体装置
10日前
富士電機株式会社
半導体装置
28日前
富士電機株式会社
半導体装置
6日前
富士電機株式会社
半導体装置
29日前
富士電機株式会社
電磁接触器
6日前
富士電機株式会社
電磁接触器
6日前
富士電機株式会社
電磁接触器
6日前
富士電機株式会社
電磁接触器
6日前
富士電機株式会社
電磁接触器
6日前
富士電機株式会社
冷却システム
29日前
富士電機株式会社
商品収納装置
2日前
富士電機株式会社
ショーケース
2日前
富士電機株式会社
チャンネルベース
6日前
富士電機株式会社
チャンネルベース
6日前
富士電機株式会社
電力変換システム
10日前
富士電機株式会社
電力変換システム
6日前
富士電機株式会社
エレベータ制御装置
8日前
富士電機株式会社
エレベータ制御装置
8日前
富士電機株式会社
冷却器及び半導体装置
6日前
富士電機株式会社
測定方法及び製造方法
13日前
富士電機株式会社
自動販売機の保護装置
13日前
富士電機株式会社
半導体モジュール及び車両
14日前
富士電機株式会社
測定装置および冷却システム
8日前
富士電機株式会社
半導体装置及びその製造方法
6日前
富士電機株式会社
冷却装置および電力変換装置
14日前
富士電機株式会社
店舗用冷却装置制御システム
14日前
富士電機株式会社
冷却器及び半導体モジュール
6日前
富士電機株式会社
窒化物半導体装置の製造方法
6日前
富士電機株式会社
店舗内位置情報取得システム
7日前
富士電機株式会社
炭化珪素半導体装置の製造方法
6日前
富士電機株式会社
電力変換装置及びその制御方法
2日前
続きを見る
他の特許を見る