TOP
|
特許
|
意匠
|
商標
特許ウォッチ
Twitter
他の特許を見る
10個以上の画像は省略されています。
公開番号
2025160449
公報種別
公開特許公報(A)
公開日
2025-10-22
出願番号
2025129777
出願日
2025-08-01
発明の名称
端末及び通信方法
出願人
株式会社NTTドコモ
代理人
弁理士法人ITOH
主分類
H04W
72/1273 20230101AFI20251015BHJP(電気通信技術)
要約
【課題】ネットワークがシステム情報を繰り返し送信する場合の端末動作を明確にすること。
【解決手段】端末は、SIB1(System Information Block 1)-PDSCH(Physical Downlink Shared Channel)の繰り返し間に、タイムギャップがあることを想定しないか、あるいは特定の数以下のシンボル数で構成されるタイムギャップがあることを想定する制御部と、前記タイムギャップに係る想定に基づいて、あるSSB(SS/PBCH Block)に対応するSIB1-PDSCH繰り返しをスケジューリングするPDCCH(Physical Downlink Control Channel)及びSIB1-PDSCH繰り返しを受信する受信部とを有する。
【選択図】図7
特許請求の範囲
【請求項1】
SIB1(System Information Block 1)-PDSCH(Physical Downlink Shared Channel)の繰り返し間に、タイムギャップがあることを想定しないか、あるいは特定の数以下のシンボル数で構成されるタイムギャップがあることを想定する制御部と、
前記タイムギャップに係る想定に基づいて、あるSSB(SS/PBCH Block)に対応するSIB1-PDSCH繰り返しをスケジューリングするPDCCH(Physical Downlink Control Channel)及びSIB1-PDSCH繰り返しを受信する受信部とを有する端末。
続きを表示(約 850 文字)
【請求項2】
前記制御部は、SIB再送のタイムギャップに係るスケジューリング制限は、連続する2スロットにおけるSIB1インタースロット繰り返し以外に適用されると想定する請求項1記載の端末。
【請求項3】
前記制御部は、SIB再送のタイムギャップに係るスケジューリング制限は、SIB1以外のSIBに適用されると想定する請求項1記載の端末。
【請求項4】
前記制御部は、SIB再送のタイムギャップに係るスケジューリング制限は、タイプ0A-PDCCH-CSS(Common Search Space)セット内のSI-RNTI(Radio Network Temporary Identifier)によりスクランブリングされるCRC(Cyclic Redundancy Check)を伴うDCI(Downlink Control Information)フォーマットに対応するPDSCHに適用されると想定する請求項1記載の端末。
【請求項5】
前記制御部は、連続する2スロットのSIB1インタースロット繰り返しは、2つの送信の間に所定のタイムギャップのスケジューリング制限が適用される再送ではないと想定する請求項1記載の端末。
【請求項6】
SIB1(System Information Block 1)-PDSCH(Physical Downlink Shared Channel)の繰り返し間に、タイムギャップがあることを想定しないか、あるいは特定の数以下のシンボル数で構成されるタイムギャップがあることを想定する手順と、
前記タイムギャップに係る想定に基づいて、あるSSB(SS/PBCH Block)に対応するSIB1-PDSCH繰り返しをスケジューリングするPDCCH(Physical Downlink Control Channel)及びSIB1-PDSCH繰り返しを受信する手順とを端末が実行する通信方法。
発明の詳細な説明
【技術分野】
【0001】
本発明は、無線通信システムにおける端末及び通信方法に関する。
続きを表示(約 2,000 文字)
【背景技術】
【0002】
LTE(Long Term Evolution)の後継システムであるNR(New Radio)(「5G」ともいう。)においては、要求条件として、大容量のシステム、高速なデータ伝送速度、低遅延、多数の端末の同時接続、低コスト、省電力等を満たす技術が検討されている(例えば非特許文献1)。
【0003】
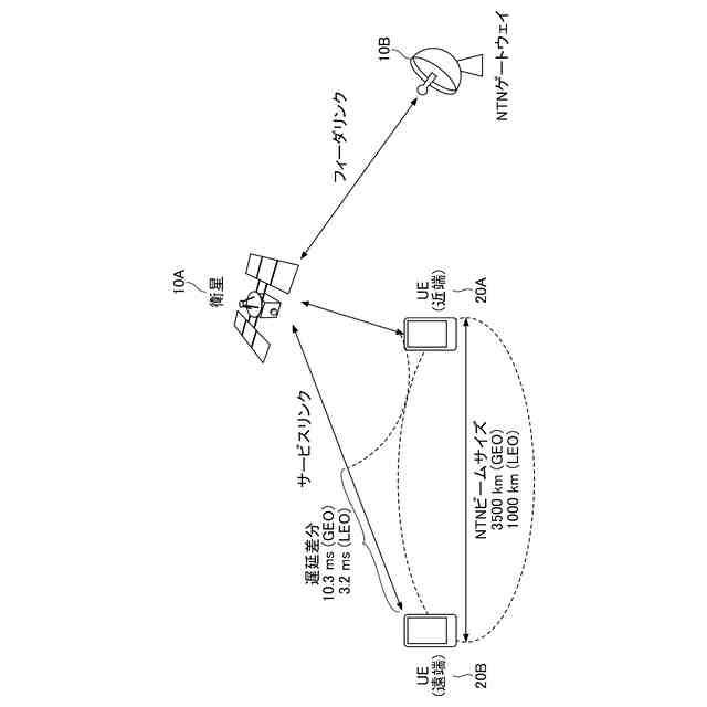
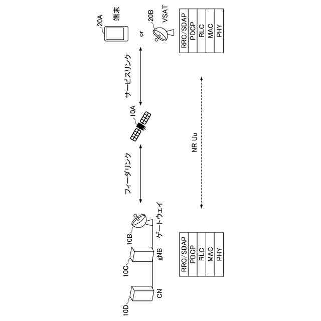
また現在、NTN(Non-Terrestrial Network)が検討されている。NTNとは、衛星等の非地上型ネットワークを使用して、地上型5Gネットワークでは主にコスト面でカバーできないエリアにサービスを提供するものである(例えば非特許文献2及び非特許文献3)。
【先行技術文献】
【非特許文献】
【0004】
3GPP TS 38.300 V18.4.0 (2024-12)
3GPP TR 38.821 V16.2.0 (2023-03)
小西 他,"HAPS移動通信システムにおける下りリンク周波数共用に関する一検討",電子情報通信学会総合大会,B-17-1,2020年
【発明の概要】
【発明が解決しようとする課題】
【0005】
システム情報ブロックの再送に関するスケジューリング上の制限が存在する。UEは、システム情報ブロックを運ぶPDSCH(Physical Downlink Shared Channel)の最終シンボルから開始される所定の期間内においてPDSCHを復号することを想定しない。一方、例えばNTN向けに新たに導入されたSIB1(System Information Block 1)-PDSCHのインタースロット繰り返しでは、先に送信されたSIB1-PDSCHに後続するSIB1-PDSCHが当該所定の期間内に含まれる可能性がある。
【0006】
本発明は上記の点に鑑みてなされたものであり、ネットワークがシステム情報を繰り返し送信する場合の端末動作を明確にすることを目的とする。
【課題を解決するための手段】
【0007】
開示の技術によれば、SIB1(System Information Block 1)-PDSCH(Physical Downlink Shared Channel)の繰り返し間に、タイムギャップがあることを想定しないか、あるいは特定の数以下のシンボル数で構成されるタイムギャップがあることを想定する制御部と、前記タイムギャップに係る想定に基づいて、あるSSB(SS/PBCH Block)に対応するSIB1-PDSCH繰り返しをスケジューリングするPDCCH(Physical Downlink Control Channel)及びSIB1-PDSCH繰り返しを受信する受信部とを有する端末が提供される。
【発明の効果】
【0008】
開示の技術によれば、ネットワークがシステム情報を繰り返し送信する場合の端末動作を明確にすることができる。
【図面の簡単な説明】
【0009】
NTNの例(1)を示す図である。
NTNの例(2)を示す図である。
NTNの例(3)を示す図である。
NTNの例(4)を示す図である。
本発明の実施の形態におけるシステム情報スケジューリングの例(1)を示す図である。
本発明の実施の形態におけるシステム情報スケジューリングの例(2)を示す図である。
本発明の実施の形態におけるシステム情報スケジューリングの例(3)を示す図である。
本発明の実施の形態におけるシステム情報受信動作の例(1)を説明するためのフローチャートである。
本発明の実施の形態におけるシステム情報受信動作の例(2)を説明するためのフローチャートである。
本発明の実施の形態におけるシステム情報受信動作の例(3)を説明するためのフローチャートである。
本発明の実施の形態におけるシステム情報受信動作の例(4)を説明するためのフローチャートである。
本発明の実施の形態におけるシステム情報受信動作の仕様変更の例を示す図である。
本発明の実施の形態における基地局10の機能構成の一例を示す図である。
本発明の実施の形態における端末20の機能構成の一例を示す図である。
本発明の実施の形態における基地局10又は端末20のハードウェア構成の一例を示す図である。
【発明を実施するための形態】
【0010】
以下、図面を参照して本発明の実施の形態を説明する。なお、以下で説明する実施の形態は一例であり、本発明が適用される実施の形態は、以下の実施の形態に限られない。
(【0011】以降は省略されています)
この特許をJ-PlatPat(特許庁公式サイト)で参照する
関連特許
株式会社NTTドコモ
端末
14日前
株式会社NTTドコモ
端末
15日前
株式会社NTTドコモ
端末
14日前
株式会社NTTドコモ
端末
14日前
株式会社NTTドコモ
端末
15日前
株式会社NTTドコモ
端末
14日前
株式会社NTTドコモ
端末
14日前
株式会社NTTドコモ
基地局
14日前
株式会社NTTドコモ
デバイス
14日前
株式会社NTTドコモ
デバイス
14日前
株式会社NTTドコモ
デバイス
14日前
株式会社NTTドコモ
装置及び方法
12日前
株式会社NTTドコモ
情報処理装置
7日前
株式会社NTTドコモ
情報処理装置
1日前
株式会社NTTドコモ
基地局及び端末
14日前
株式会社NTTドコモ
基地局及び端末
14日前
株式会社NTTドコモ
端末及び基地局
14日前
株式会社NTTドコモ
端末及び基地局
14日前
株式会社NTTドコモ
端末及び基地局
14日前
株式会社NTTドコモ
端末及び通信方法
14日前
株式会社NTTドコモ
端末及び通信方法
14日前
株式会社NTTドコモ
端末及び通信方法
14日前
株式会社NTTドコモ
端末及び通信方法
14日前
株式会社NTTドコモ
端末及び通信方法
14日前
株式会社NTTドコモ
端末及び通信方法
14日前
株式会社NTTドコモ
端末及び通信方法
14日前
株式会社NTTドコモ
端末及び通信方法
14日前
株式会社NTTドコモ
端末及び通信方法
14日前
株式会社NTTドコモ
端末及び通信方法
14日前
株式会社NTTドコモ
端末及び通信方法
14日前
株式会社NTTドコモ
端末及び通信方法
14日前
株式会社NTTドコモ
端末及び通信方法
14日前
株式会社NTTドコモ
端末及び通信方法
14日前
株式会社NTTドコモ
端末及び通信方法
14日前
株式会社NTTドコモ
端末及び通信方法
14日前
株式会社NTTドコモ
端末及び通信方法
14日前
続きを見る
他の特許を見る