TOP
|
特許
|
意匠
|
商標
特許ウォッチ
Twitter
他の特許を見る
公開番号
2025160716
公報種別
公開特許公報(A)
公開日
2025-10-23
出願番号
2024063458
出願日
2024-04-10
発明の名称
樹脂組成物、硬化物及び積層体
出願人
株式会社レゾナック
代理人
個人
,
個人
,
個人
,
個人
主分類
C08F
2/44 20060101AFI20251016BHJP(有機高分子化合物;その製造または化学的加工;それに基づく組成物)
要約
【課題】絶縁部材に対する硬化物の密着性を向上させることが可能な樹脂組成物、及び、当該樹脂組成物又はその硬化物を用いた積層体を提供する。
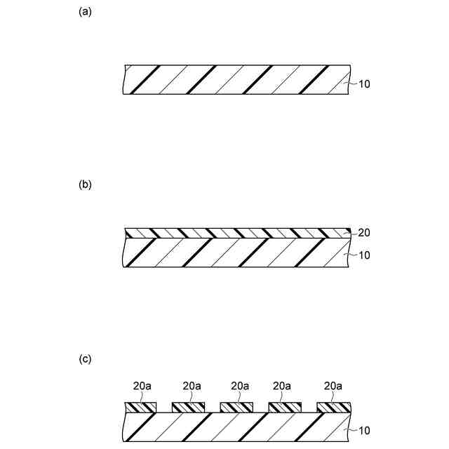
【解決手段】スチレン系重合体と、エチレン性不飽和結合及びアミド結合を有する重合性化合物と、(メタ)アクリル化合物(前記重合性化合物を除く)と、重合開始剤と、を含有する、樹脂組成物。基材フィルムと、当該基材フィルム上に配置された樹脂層と、を備え、前記樹脂層が、前記樹脂組成物及びその硬化物からなる群より選ばれる少なくとも一種を含む、積層体。前記樹脂組成物の硬化物10と、硬化物10上において硬化物10に接する絶縁パターン(絶縁部材)20aと、を備える、積層体。
【選択図】図1
特許請求の範囲
【請求項1】
スチレン系重合体と、エチレン性不飽和結合及びアミド結合を有する重合性化合物と、(メタ)アクリル化合物(前記重合性化合物を除く)と、重合開始剤と、を含有する、樹脂組成物。
続きを表示(約 710 文字)
【請求項2】
前記スチレン系重合体が、スチレン化合物及びブタジエンを単量体単位として有する共重合体を含む、請求項1に記載の樹脂組成物。
【請求項3】
前記スチレン系重合体の含有量が、樹脂組成物の全質量を基準として50質量%以上である、請求項1に記載の樹脂組成物。
【請求項4】
前記重合性化合物がラクタム化合物を含む、請求項1に記載の樹脂組成物。
【請求項5】
前記重合性化合物がN-ビニルラクタム化合物を含む、請求項1に記載の樹脂組成物。
【請求項6】
前記(メタ)アクリル化合物がアルカンジオールジ(メタ)アクリレートを含む、請求項1に記載の樹脂組成物。
【請求項7】
前記(メタ)アクリル化合物が、下記一般式(I)で表される化合物を含む、請求項1に記載の樹脂組成物。
JPEG
2025160716000007.jpg
22
149
[式中、R
1
は、9以下の炭素原子及び2以上の酸素原子を含む基を表し、R
2a
及びR
2b
は、それぞれ独立に水素原子又はメチル基を表す。]
【請求項8】
前記(メタ)アクリル化合物がノナンジオールジ(メタ)アクリレートを含む、請求項1に記載の樹脂組成物。
【請求項9】
前記重合開始剤が熱重合開始剤を含む、請求項1に記載の樹脂組成物。
【請求項10】
前記重合開始剤が光重合開始剤を含む、請求項1に記載の樹脂組成物。
(【請求項11】以降は省略されています)
発明の詳細な説明
【技術分野】
【0001】
本開示は、樹脂組成物、硬化物、積層体等に関する。
続きを表示(約 2,700 文字)
【背景技術】
【0002】
電子機器、半導体パッケージ、画像表示装置、自動車、建物、透明アンテナ等の各種用途の構成部材として樹脂組成物の硬化物を用いる場合がある。このような樹脂組成物としては、各種成分を含有する組成物が検討されている(例えば、下記特許文献1参照)。
【先行技術文献】
【特許文献】
【0003】
特表2020-528471号公報
【発明の概要】
【発明が解決しようとする課題】
【0004】
各種用途の構成部材として用いることが可能な硬化物に対しては、被着体に対する密着性を向上させることが求められる場合がある。例えば、このような硬化物に対しては、絶縁部材に対する密着性を向上させることが求められる場合がある。
【0005】
本開示の一側面は、絶縁部材に対する硬化物の密着性を向上させることが可能な樹脂組成物を提供することを目的とする。本開示の他の一側面は、このような樹脂組成物の硬化物を提供することを目的とする。本開示の他の一側面は、このような樹脂組成物又はその硬化物を用いた積層体を提供することを目的とする。
【課題を解決するための手段】
【0006】
本開示は、下記の[1]~[14]等に関する。
[1]スチレン系重合体と、エチレン性不飽和結合及びアミド結合を有する重合性化合物と、(メタ)アクリル化合物(前記重合性化合物を除く)と、重合開始剤と、を含有する、樹脂組成物。
[2]前記スチレン系重合体が、スチレン化合物及びブタジエンを単量体単位として有する共重合体を含む、[1]に記載の樹脂組成物。
[3]前記スチレン系重合体の含有量が、樹脂組成物の全質量を基準として50質量%以上である、[1]又は[2]に記載の樹脂組成物。
[4]前記重合性化合物がラクタム化合物を含む、[1]~[3]のいずれか一つに記載の樹脂組成物。
[5]前記重合性化合物がN-ビニルラクタム化合物を含む、[1]~[4]のいずれか一つに記載の樹脂組成物。
[6]前記(メタ)アクリル化合物がアルカンジオールジ(メタ)アクリレートを含む、[1]~[5]のいずれか一つに記載の樹脂組成物。
[7]前記(メタ)アクリル化合物が、下記一般式(I)で表される化合物を含む、[1]~[6]のいずれか一つに記載の樹脂組成物。
JPEG
2025160716000002.jpg
22
149
[式中、R
1
は、9以下の炭素原子及び2以上の酸素原子を含む基を表し、R
2a
及びR
2b
は、それぞれ独立に水素原子又はメチル基を表す。]
[8]前記(メタ)アクリル化合物がノナンジオールジ(メタ)アクリレートを含む、[1]~[7]のいずれか一つに記載の樹脂組成物。
[9]前記重合開始剤が熱重合開始剤を含む、[1]~[8]のいずれか一つに記載の樹脂組成物。
[10]前記重合開始剤が光重合開始剤を含む、[1]~[9]のいずれか一つに記載の樹脂組成物。
[11][1]~[10]のいずれか一つに記載の樹脂組成物の硬化物。
[12]基材フィルムと、当該基材フィルム上に配置された樹脂層と、を備え、前記樹脂層が、[1]~[10]のいずれか一つに記載の樹脂組成物及びその硬化物からなる群より選ばれる少なくとも一種を含む、積層体。
[13][11]に記載の硬化物と、前記硬化物上において前記硬化物に接する絶縁部材と、を備える、積層体。
[14]前記硬化物上において前記硬化物に接する導電部材を更に備える、[13]に記載の積層体。
【発明の効果】
【0007】
本開示の一側面によれば、絶縁部材に対する硬化物の密着性を向上させることが可能な樹脂組成物を提供することができる。本開示の他の一側面によれば、このような樹脂組成物の硬化物を提供することができる。本開示の他の一側面によれば、このような樹脂組成物又はその硬化物を用いた積層体を提供することができる。
【図面の簡単な説明】
【0008】
半導体パッケージの製造方法の一例を示す模式断面図である。
半導体パッケージの製造方法の一例を示す模式断面図である。
半導体パッケージの製造方法の一例を示す模式断面図である。
【発明を実施するための形態】
【0009】
以下、本開示の実施形態について詳細に説明する。但し、本開示は以下の実施形態に限定されるものではない。
【0010】
本明細書において、「~」を用いて示された数値範囲は、「~」の前後に記載される数値をそれぞれ最小値及び最大値として含む範囲を示す。数値範囲の「A以上」とは、A、及び、Aを超える範囲を意味する。数値範囲の「A以下」とは、A、及び、A未満の範囲を意味する。本明細書に段階的に記載されている数値範囲において、ある段階の数値範囲の上限値又は下限値は、他の段階の数値範囲の上限値又は下限値と任意に組み合わせることができる。本明細書に記載されている数値範囲において、その数値範囲の上限値又は下限値は、実施例に示されている値に置き換えてもよい。「A又はB」とは、A及びBのどちらか一方を含んでいればよく、両方とも含んでいてもよい。本明細書に例示する材料は、特に断らない限り、一種を単独で又は二種以上を組み合わせて用いることができる。本明細書において、組成物中の各成分の含有量は、組成物中に各成分に該当する物質が複数存在する場合、特に断らない限り、組成物中に存在する当該複数の物質の合計量を意味する。「層」との語は、平面図として観察したときに、全面に形成されている形状の構造に加え、一部に形成されている形状の構造も包含される。「工程」との語は、独立した工程だけではなく、他の工程と明確に区別できない場合であってもその工程の所期の作用が達成されれば、本用語に含まれる。「(メタ)アクリレート」とは、アクリレート、及び、それに対応するメタクリレートの少なくとも一方を意味する。「(メタ)アクリル」等の他の類似の表現においても同様である。(メタ)アクリル化合物の含有量は、アクリル化合物及びメタクリル化合物の合計量を意味する。
(【0011】以降は省略されています)
この特許をJ-PlatPat(特許庁公式サイト)で参照する
関連特許
株式会社レゾナック
繊維強化樹脂のリサイクル方法
今日
株式会社レゾナック
半導体用接着剤、及び半導体装置
2日前
東ソー株式会社
ペレット
15日前
ユニチカ株式会社
透明シート
2か月前
ユニチカ株式会社
透明シート
1か月前
株式会社コバヤシ
成形体
28日前
東レ株式会社
熱硬化性樹脂組成物
2か月前
東レ株式会社
ポリエステルフィルム
13日前
住友精化株式会社
吸水剤の製造方法
1か月前
東ソー株式会社
ゴム用接着性改質剤
16日前
東レ株式会社
ポリエステルフィルム
1か月前
丸住製紙株式会社
変性パルプ
1か月前
東レ株式会社
引抜成形品の製造方法
2か月前
東ソー株式会社
樹脂組成物および蓋材
1か月前
東レ株式会社
ポリプロピレンフィルム
27日前
横浜ゴム株式会社
重荷重タイヤ
27日前
東ソー株式会社
樹脂組成物および蓋材
1か月前
アイカ工業株式会社
光硬化性樹脂組成物
27日前
日本特殊陶業株式会社
樹脂成形体
1か月前
株式会社コバヤシ
光硬化性組成物
2か月前
UBE株式会社
衝撃吸収材
1か月前
株式会社スリーボンド
硬化性樹脂組成物
27日前
住友ベークライト株式会社
ポリマー
16日前
ノリタケ株式会社
担体構造体
21日前
住友ベークライト株式会社
ポリマー
16日前
株式会社カネカ
シーリング材
20日前
住友化学株式会社
樹脂組成物
27日前
株式会社カネカ
硬化性組成物
2か月前
三洋化成工業株式会社
熱成形用樹脂組成物
23日前
株式会社カネカ
硬化性組成物
1か月前
デンカ株式会社
磁性ビーズの製造方法
27日前
ハイモ株式会社
油中水型エマルジョン重合体
27日前
東ソー株式会社
温度応答性ビーズの製造方法
1か月前
ユニチカ株式会社
ポリアミド系樹脂フィルム
27日前
株式会社サンエー化研
フィルム
20日前
伯東株式会社
ビニル化合物中の重合防止方法
2か月前
続きを見る
他の特許を見る