TOP
|
特許
|
意匠
|
商標
特許ウォッチ
Twitter
他の特許を見る
10個以上の画像は省略されています。
公開番号
2025163231
公報種別
公開特許公報(A)
公開日
2025-10-28
出願番号
2025132192,2024166271
出願日
2025-08-07,2020-09-16
発明の名称
半導体用接着剤、及び半導体装置
出願人
株式会社レゾナック
代理人
個人
,
個人
,
個人
,
個人
主分類
H01L
21/60 20060101AFI20251021BHJP(基本的電気素子)
要約
【課題】半導体用接着剤を介して複数の半導体チップを被搭載部材上に仮固定し、一括して硬化と封止を行うプロセスにおいて、半導体用接着剤中に残存するボイドを低減する。
【解決手段】熱可塑性樹脂、熱硬化性樹脂、反応基を有する硬化剤及び酸基を有するフラックス化合物を含む半導体用接着剤であって、半導体用接着剤を10℃/分の昇温速度で加熱する示差走査熱量測定により得られるDSC曲線の60~155℃の発熱量Q1が、20J/g以下である。
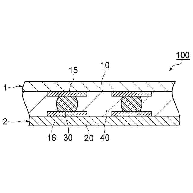
【選択図】図2
特許請求の範囲
【請求項1】
熱可塑性樹脂、熱硬化性樹脂、反応基を有する硬化剤及び酸基を有するフラックス化合物を含む半導体用接着剤であって、
前記半導体用接着剤を10℃/分の昇温速度で加熱する示差走査熱量測定により得られるDSC曲線の60~155℃の発熱量が、20J/g以下である、半導体用接着剤。
続きを表示(約 620 文字)
【請求項2】
前記熱可塑性樹脂の重量平均分子量が、10000以上である、請求項1に記載の半導体用接着剤。
【請求項3】
前記熱可塑性樹脂の含有量が、前記半導体用接着剤の固形分全量を基準として、1~30質量%である、請求項1又は2に記載の半導体用接着剤。
【請求項4】
前記硬化剤が、アミン系硬化剤を含む、請求項1~3のいずれか一項に記載の半導体用接着剤。
【請求項5】
前記硬化剤が、イミダゾール系硬化剤を含む、請求項1~4のいずれか一項に記載の半導体用接着剤。
【請求項6】
前記硬化剤の含有量が、前記半導体用接着剤の固形分全量を基準として、2.3質量%以下である、請求項1~5のいずれか一項に記載の半導体用接着剤。
【請求項7】
前記フラックス化合物の融点が、25~230℃である、請求項1~6のいずれか一項に記載の半導体用接着剤。
【請求項8】
前記熱硬化性樹脂が、エポキシ樹脂を含有する、請求項1~7のいずれか一項に記載の半導体用接着剤。
【請求項9】
前記熱硬化性樹脂が、35℃で液状のエポキシ樹脂を実質的に含有しない、請求項1~8のいずれか一項に記載の半導体用接着剤。
【請求項10】
フィルム状である、請求項1~9のいずれか一項に記載の半導体用接着剤。
(【請求項11】以降は省略されています)
発明の詳細な説明
【技術分野】
【0001】
本発明は、半導体用接着剤及びその製造方法、並びに、半導体装置及びその製造方法に関する。
続きを表示(約 1,700 文字)
【背景技術】
【0002】
従来、半導体チップと基板とを接続するには、金ワイヤ等の金属細線を用いるワイヤーボンディング方式が広く適用されてきた。
【0003】
近年、半導体装置に対する高機能化、高集積化、高速化等の要求に対応するため、半導体チップ又は基板にバンプと呼ばれる導電性突起を形成して、半導体チップと基板とを直接接続するフリップチップ接続方式(FC接続方式)が広まりつつある。
【0004】
例えば、半導体チップ及び基板間の接続に関して、BGA(Ball Grid Array)、CSP(Chip Size Package)等に盛んに用いられているCOB(Chip On Board)型の接続方式もFC接続方式に該当する。FC接続方式は、半導体チップ上に接続部(バンプ又は配線)を形成して、半導体チップ間を接続するCOC(Chip On Chip)型、及び、半導体ウェハ上に接続部(バンプ又は配線)を形成して、半導体チップと半導体ウェハとの間を接続するCOW(Chip On Wafer)型の接続方式にも広く用いられている(例えば、特許文献1参照)。
【0005】
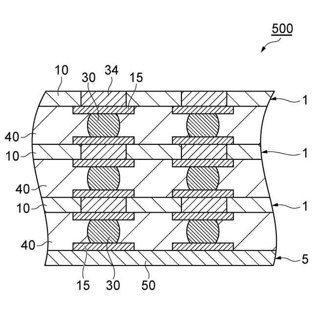
さらなる小型化、薄型化及び高機能化が強く要求される半導体パッケージでは、上述した接続方式を積層・多段化したチップスタック型パッケージ、POP(Package On Package)、TSV(Through-Silicon Via)等も広く普及し始めている。このような積層・多段化技術は、半導体チップ等を三次元的に配置することから、二次元的に配置する手法と比較して半導体パッケージを小さくできる。半導体の性能向上、ノイズ低減、実装面積の削減、省電力化等にも有効であることから、次世代の半導体配線技術として積層・多段化技術が注目されている。
【0006】
ところで、一般に接続部同士の接続には、接続信頼性(例えば絶縁信頼性)を充分に確保する観点から、金属接合が用いられている。上記接続部(例えば、バンプ及び配線)に用いられる主な金属としては、はんだ、スズ、金、銀、銅、ニッケル等があり、これらの複数種を含んだ導電材料も用いられている。接続部に用いられる金属は、表面が酸化して酸化膜が生成してしまうこと、及び、表面に酸化物等の不純物が付着してしまうことにより、接続部の接続面に不純物が生じる場合がある。このような不純物が残存すると、半導体チップと基板との間、又は2つの半導体チップの間における接続信頼性(例えば絶縁信頼性)が低下し、上述した接続方式を採用するメリットが損なわれてしまうことが懸念される。
【0007】
これらの不純物の発生を抑制する方法として、OSP(Organic Solderbility Preservatives)処理等で知られる接続部を酸化防止膜でコーティングする方法があるが、この酸化防止膜は接続プロセス時のはんだ濡れ性の低下、接続性の低下等の原因となる場合がある。
【0008】
そこで上述の酸化膜及び不純物を除去する方法として、半導体用接着剤にフラックス剤を含有させる方法が提案されている(例えば、特許文献2参照)。
【先行技術文献】
【特許文献】
【0009】
特開2008-294382号公報
国際公開第2013/125086号
【発明の概要】
【発明が解決しようとする課題】
【0010】
近年、生産性を向上させる観点から、半導体用接着剤を介して複数の半導体チップを被搭載部材(半導体チップ、半導体ウェハ、配線回路基板等)の上に搭載し仮固定した後、一括して硬化と封止を行うプロセスが提案されている。このプロセスでは、半導体用接着剤が流動可能な程度にステージに熱(60~155℃程度)を加えることで、被搭載部材に半導体チップを仮固定した後、接続部の融点以上の温度(例えば260℃程度)でのリフローにより、半導体用接着剤を一括して硬化する。このプロセスによれば、複数個の半導体パッケージを効率良く作製することができる。
(【0011】以降は省略されています)
この特許をJ-PlatPat(特許庁公式サイト)で参照する
関連特許
東ソー株式会社
絶縁電線
13日前
APB株式会社
蓄電セル
11日前
個人
フレキシブル電気化学素子
25日前
株式会社東芝
端子台
5日前
日新イオン機器株式会社
イオン源
21日前
ローム株式会社
半導体装置
1か月前
ローム株式会社
半導体装置
12日前
株式会社ユーシン
操作装置
25日前
ローム株式会社
半導体装置
27日前
マクセル株式会社
電源装置
5日前
株式会社GSユアサ
蓄電設備
25日前
株式会社GSユアサ
蓄電設備
25日前
株式会社GSユアサ
蓄電装置
6日前
株式会社GSユアサ
蓄電装置
6日前
太陽誘電株式会社
全固体電池
1か月前
株式会社ホロン
冷陰極電子源
19日前
株式会社GSユアサ
蓄電装置
1か月前
太陽誘電株式会社
コイル部品
25日前
オムロン株式会社
電磁継電器
26日前
株式会社ホロン
冷陰極電子源
1か月前
TDK株式会社
電子部品
1か月前
ノリタケ株式会社
熱伝導シート
25日前
サクサ株式会社
電池の固定構造
25日前
トヨタ自動車株式会社
蓄電装置
6日前
トヨタ自動車株式会社
バッテリ
26日前
日東電工株式会社
積層体
26日前
トヨタ自動車株式会社
蓄電装置
25日前
日新イオン機器株式会社
基板処理装置
8日前
日本特殊陶業株式会社
保持装置
1か月前
トヨタ自動車株式会社
バッテリ
11日前
日本特殊陶業株式会社
保持装置
1か月前
トヨタ自動車株式会社
冷却構造
13日前
北道電設株式会社
配電具カバー
11日前
日本特殊陶業株式会社
保持装置
14日前
株式会社デンソー
電子装置
8日前
日本特殊陶業株式会社
電極
1か月前
続きを見る
他の特許を見る