TOP
|
特許
|
意匠
|
商標
特許ウォッチ
Twitter
他の特許を見る
10個以上の画像は省略されています。
公開番号
2025161061
公報種別
公開特許公報(A)
公開日
2025-10-24
出願番号
2024063947
出願日
2024-04-11
発明の名称
冷却器及び半導体モジュール
出願人
富士電機株式会社
代理人
インフォート弁理士法人
主分類
H01L
23/473 20060101AFI20251017BHJP(基本的電気素子)
要約
【課題】冷媒の流通方向に沿った発熱体の温度を均一化する。
【解決手段】冷却器(1)は、冷媒の流路(100)に面する第1の面(201)を有し第1の面の裏面に発熱体(5)が配置される天板部(2)と、天板部の第1の面と対向する第2の面(301)を有する底板部(300)と、天板部の第1の面と底板部の第2の面との間に配置された複数のフィン(410)と、天板部と底板部との間に設けられ複数のフィンを囲む壁面を有する枠部(320)と、を備える。複数のフィンは、冷媒の流路における第1の区間(101A)内のフィンの配置密度と、第1の区間よりも下流側の第2の区間(101B、101C)内のフィンの配置密度とが同一であり、第1の区間内でのフィンと天板部との接触面積が、第2の区間内でのフィンと天板部との接触面積よりも小さくなるように、天板部の第1の面と底板部の第2の面との間に配置されている。
【選択図】図9
特許請求の範囲
【請求項1】
冷媒の流路に面する第1の面を有し前記第1の面の裏面に発熱体が配置される天板部と、
前記天板部の前記第1の面と対向する第2の面を有する底板部と、
前記天板部の前記第1の面と前記底板部の前記第2の面との間に配置された複数のフィンと、
前記天板部と前記底板部との間に設けられ前記複数のフィンを囲む壁面を有する枠部と、を備え、
前記複数のフィンは、
前記冷媒の流路における第1の区間内のフィンの配置密度と、前記第1の区間よりも下流側の第2の区間内のフィンの配置密度とが同一であり、
前記第1の区間内でのフィンと前記天板部との接触面積が、前記第2の区間内でのフィンと前記天板部との接触面積よりも小さくなるように、前記天板部の前記第1の面と前記底板部の前記第2の面との間に配置されている、
冷却器。
続きを表示(約 1,100 文字)
【請求項2】
前記複数のフィンは、前記冷媒の流路における冷媒の流通方向と直交する方向に並べて配置された複数の板状部を有し、
前記複数の板状部は、各板状部が前記冷媒の流通方向に延伸しており、
前記複数の板状部のうちのいくつかの板状部は、前記冷媒の流路における冷媒の流入口側の上流端と流出口側の下流端との間の所定位置よりも前記流入口側の前記第1の区間内において前記天板部の前記第1の面から離間し、前記所定位置よりも下流側の前記第2の区間内において前記天板部の前記第1の面と接続している、
請求項1に記載の冷却器。
【請求項3】
前記複数の板状部は、前記上流端から前記下流端までの全領域が前記天板部の前記第1の面と接続している第1の板状部と、前記第1の区間内において前記天板部の前記第1の面から離間している第2の板状部と、を含む、請求項2に記載の冷却器。
【請求項4】
前記第2の板状部は、前記冷媒の流通方向における前記天板部の前記第1の面から離間している領域の長さが異なる複数の板状部を含む、請求項3に記載の冷却器。
【請求項5】
前記複数のフィンは、板状の熱伝導部材を波形に折り曲げて形成したコルゲートフィンにおける複数の板状部であり、前記フィンと前記天板部との接触面積は、隣り合う板状部を接続する折り曲げ部と前記天板部との接触面積である、請求項1に記載の冷却器。
【請求項6】
前記天板部と接触する前記折り曲げ部は、前記第1の区間内において前記天板部と接触している第1の折り曲げ部と、前記第1の区間内において前記天板部と離間している第2の折り曲げ部とを含む、請求項5に記載の冷却器。
【請求項7】
前記第2の折り曲げ部は、前記第1の区間内において上流側に向かうに従い前記天板部の前記第1の面からの距離が増加する、請求項6に記載の冷却器。
【請求項8】
前記第2の折り曲げ部は、前記第1の区間内の部分と前記第2の区間内の部分との間に段差を有する、請求項6に記載の冷却器。
【請求項9】
前記第2の折り曲げ部は、前記第2の区間内の部分が前記天板部の前記第1の面に向かって凸の曲面状であり、前記第1の区間内の部分が前記天板部の前記第1の面から離間した平坦面である、請求項8に記載の冷却器。
【請求項10】
前記第2の折り曲げ部は、前記底板部の前記第2の面からの高さが上流端から下流端まで同じであり、
前記天板部の前記第1の面に、前記第1の区間内において前記天板部を前記第2の折り曲げ部から離間させる溝が形成されている、請求項6に記載の冷却器。
(【請求項11】以降は省略されています)
発明の詳細な説明
【技術分野】
【0001】
本発明は、冷却器及び半導体モジュールに関する。
続きを表示(約 2,700 文字)
【背景技術】
【0002】
半導体装置等の電子部品を冷却する冷却器には、冷媒を流通させる冷媒流路に複数のフィンが配置されたものがある。この種の冷却器には、冷媒流路における冷媒の流入口から流出口に向かうに従って冷却効率が低下することを抑制するために、流入口から流出口へ向かうに従ってフィンの密度を徐々に高くしたものがある(例えば、特許文献1)。
【先行技術文献】
【特許文献】
【0003】
特開2010-153785号公報
【発明の概要】
【発明が解決しようとする課題】
【0004】
上述の冷却器では、流入口から流出口に向かうに従い冷媒の温度が徐々に上昇するので、流入口に近い位置での発熱体の温度と流出口に近い位置での発熱体の温度を均一化させることが難しい。
【0005】
本発明は、かかる点に鑑みてなされたものであり、冷媒の流通方向に沿った発熱体の温度の均一化を一つの目的とする。
【課題を解決するための手段】
【0006】
本発明の一態様に係る冷却器は、冷媒の流路に面する第1の面を有し前記第1の面の裏面に発熱体が配置される天板部と、前記天板部の前記第1の面と対向する第2の面を有する底板部と、前記天板部の前記第1の面と前記底板部の前記第2の面との間に配置された複数のフィンと、前記天板部と前記底板部との間に設けられ前記複数のフィンを囲む壁面を有する枠部と、を備える。前記複数のフィンは、前記冷媒の流路における第1の区間内のフィンの配置密度と、前記第1の区間よりも下流側の第2の区間内のフィンの配置密度とが同一であり、前記第1の区間内でのフィンと前記天板部との接触面積が、前記第2の区間内でのフィンと前記天板部との接触面積よりも小さくなるように、前記天板部の前記第1の面と前記底板部の前記第2の面との間に配置されている。
【発明の効果】
【0007】
本発明によれば、冷媒の流通方向に沿った発熱体の温度を均一化ができる。
【図面の簡単な説明】
【0008】
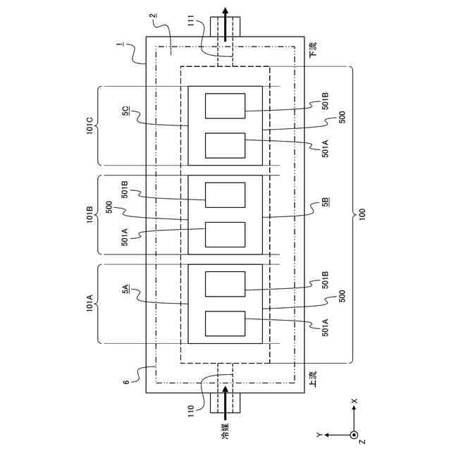
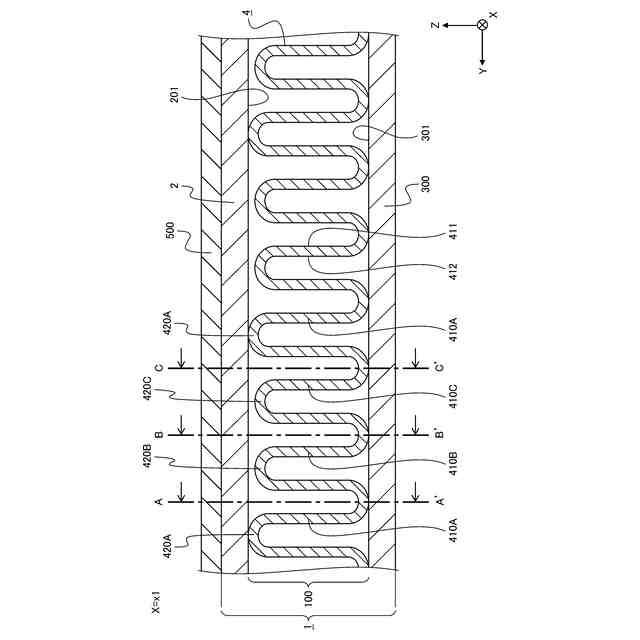
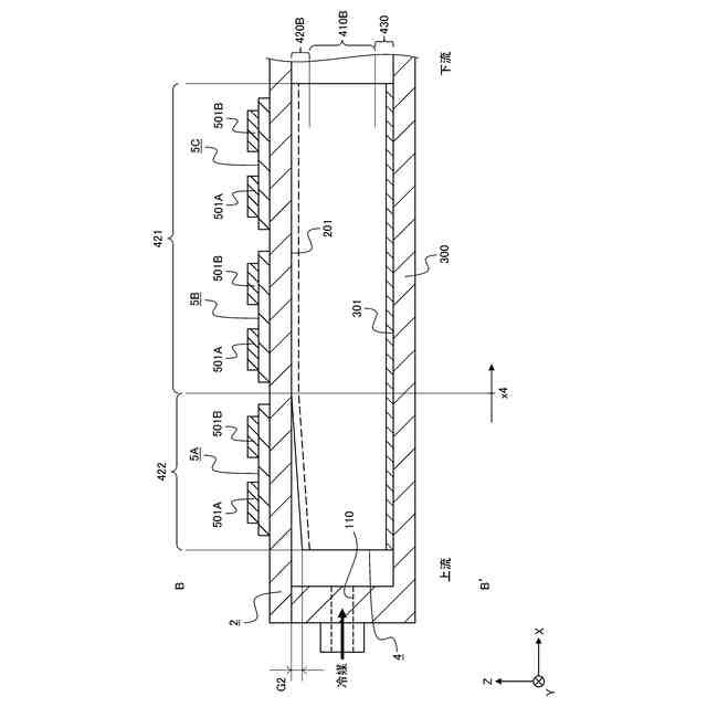
第1の実施の形態に係る冷却器の平面図である。
冷媒の流路を例示する平面図である。
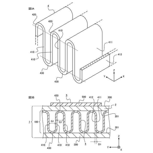
コルゲートフィンの構成例を説明する斜視図(図3A)及び断面図(図3B)である。
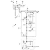
発熱体を含む半導体モジュールの回路構成例を説明する回路図である。
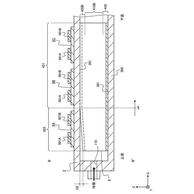
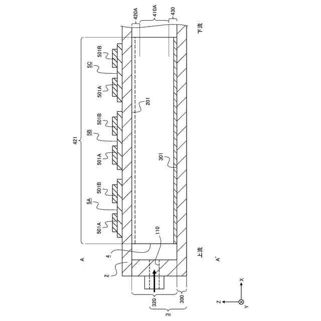
上流部の第1の熱交換区間内におけるコルゲートフィンの波形状を例示する断面図である。
中流部の第2の熱交換区間内におけるコルゲートフィンの波形状を例示する断面図である。
下流部の第3の熱交換区間内におけるコルゲートフィンの波形状を例示する断面図である。
天板の下面とコルゲートフィンの上方折り曲げ部との第1の接触状態を例示する側面断面図である。
天板の下面とコルゲートフィンの上方折り曲げ部との第2の接触状態を例示する側面断面図である。
天板の下面とコルゲートフィンの上方折り曲げ部との第3の接触状態を例示する側面断面図である。
コルゲートフィンの形状と半導体素子の温度との関係を例示するグラフである。
熱遮断領域の有無と半導体素子の温度との関係を例示するグラフである。
第2の実施の形態に係る冷却器の平面図である。
コルゲートフィンの波形状及び天板の下面の形状を例示する側面断面図である。
天板の下面とコルゲートフィンの上方折り曲げ部との第2の接触状態を例示する側面断面図である。
第3の実施の形態に係る冷却器におけるコルゲートフィンの波形状及び天板の下面の形状を例示する側面断面図である。
天板の下面とコルゲートフィンの上方折り曲げ部との第2の接触状態を例示する側面断面図である。
第4の実施の形態に係る冷却器におけるコルゲートフィンの波形状及び天板の下面の形状を例示する側面断面図である。
図19A及び図19Bは、上流部の第1の熱交換区間内での天板の下面とコルゲートフィンの上方折り曲げ部との接触状態を例示する側面断面図である。
中流部の第2の熱交換区間内での天板の下面とコルゲートフィンの上方折り曲げ部との接触状態を例示する側面断面図である。
下流部の第3の熱交換区間内での天板の下面とコルゲートフィンの上方折り曲げ部との接触状態を例示する側面断面図である。
図22A~図22Cは、第5の実施の形態に係る冷却器のフィンを例示する断面図である。
【発明を実施するための形態】
【0009】
以下、図面を参照しながら、本発明の実施の形態を詳細に説明する。なお、参照する各図におけるX軸、Y軸、及びZ軸は、例示する冷却器等における平面や方向を定義する目的で示されている。X軸、Y軸、及びZ軸は、互いに直交し右手系を成している。以下の説明では、X軸に平行な方向をX方向と称し、Y軸に平行な方向をY方向と称し、Z軸に平行な方向をZ方向と称する。また、X方向、Y方向、及びZ方向の各方向は、図示されるX軸、Y軸、及びZ軸の矢印(正負)の方向と関連付ける場合には、「正側」又は「負側」が付される。
【0010】
本明細書では、Z方向を上下方向と称することがある。本明細書において、「上」や「上方」は、基準となる面、部材、位置等よりもZ方向正側であることを意図し、「下」や「下方」は、基準となる面、部材、位置等よりもZ方向負側であることを意図する。例えば、「部材Aの上に部材Bが配置される」と記載されるとき、部材Bは、部材AからみてZ方向正側に配置される。また、「部材Aの上面」と記載されるとき、その面は、部材AにおけるZ方向正側の端に位置し、Z方向正側を向いた面である。これらの方向や面は、説明の便宜上用いる文言であり、冷却器の取付姿勢等によっては、X軸、Y軸、及びZ軸の方向のそれぞれとの対応関係が変わることがある。例えば、冷却器における配線板及び半導体素子が配置される面は、本明細書では冷却器の上面と呼ぶが、これに限らず、冷却器の下面、側面等と呼ばれてもよい。また、印刷紙面の図が実際の物を反時計方向に90度回転させた図(例えば図5等)であるときの上下方向及び左右方向は、印刷紙面における上下方向及び左右方向を半時計方向に90度回転させた方向とする。例えば、図5における「図の左側」及び「図の右側」は、それぞれ、印刷紙面における「図の下側」及び「図の上側」を指す。
(【0011】以降は省略されています)
この特許をJ-PlatPat(特許庁公式サイト)で参照する
関連特許
富士電機株式会社
駆動回路
2日前
富士電機株式会社
自動販売機
9日前
富士電機株式会社
半導体装置
15日前
富士電機株式会社
金銭処理装置
10日前
富士電機株式会社
学習システム
11日前
富士電機株式会社
飲料抽出装置
4日前
富士電機株式会社
ショーケース
25日前
富士電機株式会社
硬貨処理装置
2日前
富士電機株式会社
硬貨処理装置
2日前
富士電機株式会社
自動販売装置
16日前
富士電機株式会社
半導体モジュール
18日前
富士電機株式会社
ガス処理システム
5日前
富士電機株式会社
半導体モジュール
8日前
富士電機株式会社
集積回路、電源回路
15日前
富士電機株式会社
制御装置、制御方法
2日前
富士電機株式会社
半導体装置の製造方法
17日前
富士電機株式会社
店舗情報設定システム
11日前
富士電機株式会社
セーフリスト管理方法
2日前
富士電機株式会社
冷却器及び半導体モジュール
8日前
富士電機株式会社
制御回路および電力供給回路
16日前
富士電機株式会社
店舗内ショーケース制御システム
9日前
富士電機株式会社
スイッチング制御回路、電源回路
5日前
富士電機株式会社
ガス回収システム及びガス回収方法
4日前
富士電機株式会社
電力変換装置、制御装置及び制御方法
4日前
富士電機株式会社
半導体装置の製造方法及び治具セット
4日前
富士電機株式会社
部分放電測定装置及び部分放電測定方法
15日前
富士電機株式会社
紙幣処理装置及び新紙幣搬送動作確認方法
10日前
富士電機株式会社
制御支援装置、制御支援方法、及びプログラム
15日前
富士電機株式会社
半導体モジュールおよび半導体モジュールの製造方法
16日前
富士電機株式会社
管理システム、発電システムおよび太陽光パネルの管理方法
2日前
富士電機株式会社
半導体装置
10日前
富士電機株式会社
セキュリティテスト実施装置およびセキュリティテスト実施方法
17日前
富士電機株式会社
セキュリティ監視装置、セキュリティ監視方法、及びプログラム
3日前
富士電機株式会社
リアルタイムシミュレーター及びリアルタイムシミュレーション方法
3日前
富士電機株式会社
診断装置、診断システム、診断方法、プログラム
15日前
東ソー株式会社
絶縁電線
10日前
続きを見る
他の特許を見る