TOP
|
特許
|
意匠
|
商標
特許ウォッチ
Twitter
他の特許を見る
10個以上の画像は省略されています。
公開番号
2025162951
公報種別
公開特許公報(A)
公開日
2025-10-28
出願番号
2024130787
出願日
2024-08-07
発明の名称
ガス回収システム及びガス回収方法
出願人
富士電機株式会社
代理人
弁理士法人ITOH
主分類
B01D
53/22 20060101AFI20251021BHJP(物理的または化学的方法または装置一般)
要約
【課題】
性
能低下を抑制することが可能なガス回収システムを提供する。
【解決手段】ガス回収システム100は、原料ガスを供給する原料ガス供給部10と、原料ガスから二酸化炭素を分離する分離槽20と、分離槽20から第1ガスを排出する第1排出部30と、分離槽20から第1ガスよりも二酸化炭素濃度が高い第2ガスを排出する第2排出部と、パージガスを供給するパージガス供給部50と、を備え、二酸化炭素を分離する通常運転の後に、パージガスを分離槽20に供給するパージ処理を実行する。
【選択図】図1
特許請求の範囲
【請求項1】
原料ガスを供給する原料ガス供給部と、
前記原料ガスから二酸化炭素を分離する分離槽と、
前記分離槽から第1ガスを排出する第1排出部と、
前記分離槽から前記第1ガスよりも二酸化炭素濃度が高い第2ガスを排出する第2排出部と、
パージガスを供給するパージガス供給部と、を備え、
二酸化炭素を分離する通常運転の後に、前記パージガスを前記分離槽に供給するパージ処理を実行するガス回収システム。
続きを表示(約 1,700 文字)
【請求項2】
前記原料ガス供給部は、
前記原料ガスを送風する送風機と、
前記送風機に接続され、前記原料ガスを前記分離槽に供給する原料ガス供給配管と、
前記原料ガス供給配管に設けられた第1開閉弁と、を有し、
前記パージガス供給部は、
前記原料ガス供給配管に接続され、前記パージガスを前記分離槽に供給するパージガス供給配管と、
前記パージガス供給配管に設けられた第2開閉弁と、を有し、
前記パージ処理を実行する場合に、前記第1開閉弁を閉状態とし、前記第2開閉弁を開状態として、前記パージガスを前記分離槽に供給する請求項1に記載のガス回収システム。
【請求項3】
前記第1排出部は、
前記分離槽に接続され前記第1ガスを前記分離槽から排出する第1排出配管を有し、
前記第2排出部は、
前記分離槽に接続され前記第2ガスを前記分離槽から排出する第2排出配管と、
前記第2排出配管に接続された差圧駆動機構と、
前記第2排出配管に設けられた第3開閉弁と、
前記第2排出配管から分岐し、前記パージガスを排出するパージガス排出配管と、を有し、
前記パージ処理を実行する場合に、前記第3開閉弁により流路を切り替えて、前記パージガス排出配管を通じて、前記パージガスを排出する請求項1又は2に記載のガス回収システム。
【請求項4】
前記パージ処理における運転を制御する制御部を備え、
前記制御部は、
前記分離槽の内部の水蒸気濃度及び露点温度に基づいて、予め設定された終了条件が成立しているか否かを判定し、前記終了条件が成立している場合に、前記パージ処理を終了し、
前記制御部は、前記分離槽の処理能力に応じて異なる終了条件を用いて、前記パージガスの終了を決定する請求項3に記載のガス回収システム。
【請求項5】
前記分離槽の内部の露点温度を検出可能な露点計を備え、
前記制御部は、前記露点計による検出結果である前記露点温度を用いて、前記終了条件が成立しているか否かを判定する請求項4に記載のガス回収システム。
【請求項6】
原料ガスを供給する原料ガス供給部と、
前記原料ガスから二酸化炭素を分離する分離槽と、
前記分離槽から第1ガスを排出する第1排出部と、
前記分離槽から前記第1ガスよりも二酸化炭素濃度が高い第2ガスを排出する第2排出部と、
パージガスを供給するパージガス供給部と、を備え、
次回の運転開始前に、前記パージガスを前記分離槽に供給するパージ処理を実行し、前記パージ処理の後に、二酸化炭素を分離する通常運転に移行するガス回収システム。
【請求項7】
前記分離槽の内部には、複数種類の分離膜が設けられている請求項1に記載のガス回収システム。
【請求項8】
前記パージ処理の実行時間の長さを算出するための演算式を記憶する記憶部を備え、
前記演算式は、
前記分離槽内の水蒸気を前記分離槽の外部に排出するために必要な第1実行時間の長さを算出するための第1演算式と、
前記分離槽内に堆積した塵埃を外部に排出するために必要な第2実行時間の長さを算出するための第2演算式と、を含み、
前記制御部は、前記演算式に基づいて、前記実行時間の長さを算出し、
前記終了条件は、前記実行時間を超過したことを含む請求項4に記載のガス回収システム。
【請求項9】
前記分離槽は、分離膜を含み、
前記原料ガスは、下方から上向きに流れて前記分離膜に供給され、
前記分離膜を透過しない未透過ガスである前記第1ガスは、上方から上向きに排出される請求項1に記載のガス回収システム。
【請求項10】
前記パージガス供給部は、前記第1排出部に接続され、
前記パージガスは、前記分離槽に接続され前記第1ガスを前記分離槽から排出する第1排出配管を介して、前記分離槽に供給される請求項1に記載のガス回収システム。
(【請求項11】以降は省略されています)
発明の詳細な説明
【技術分野】
【0001】
本発明は、ガス回収システム及びガス回収方法に関する。
続きを表示(約 1,900 文字)
【背景技術】
【0002】
例えば、原料ガスに含まれる二酸化炭素を吸着、吸収又は透過のいずれかによって分離する第1処理部と、第1処理部によって分離された二酸化炭素を含む処理ガスから水蒸気の少なくとも一部を取り除く第2処理部と、を備える二酸化炭素の回収装置が知られている。
【先行技術文献】
【特許文献】
【0003】
特開2021-133354号公報
【発明の概要】
【発明が解決しようとする課題】
【0004】
二酸化炭素を分離して回収するシステムにおいて、運転を停止した際に、原料ガスに含まれる水蒸気が冷却して凝縮した水分が分離膜、吸収材又は吸着材のいずれかの分離媒体を収容する収容容器に滞留する。分離媒体を収容する収容容器に滞留する水滴は、分離媒体に含まれる塵埃と混ざり合い凝集して、収容容器を通過するガスの障害物となり、吸着、吸収又は透過を阻害して性能の低下を引き起こすおそれがある。
【0005】
本発明は、性能低下を抑制することが可能なガス処理システムを提供することを目的とする。
【課題を解決するための手段】
【0006】
本発明に係るガス回収システムは、原料ガスを供給する原料ガス供給部と、原料ガスから二酸化炭素を分離する分離槽と、分離槽から第1ガスを排出する第1排出部と、分離槽から第1ガスよりも二酸化炭素濃度が高い第2ガスを排出する第2排出部と、パージガスを供給するパージガス供給部と、を備え、二酸化炭素を分離する通常運転の後に、パージガスを分離槽に供給するパージ処理を実行する。
【発明の効果】
【0007】
本発明は、性能低下を抑制することが可能なガス回収システムを提供することができる。
【図面の簡単な説明】
【0008】
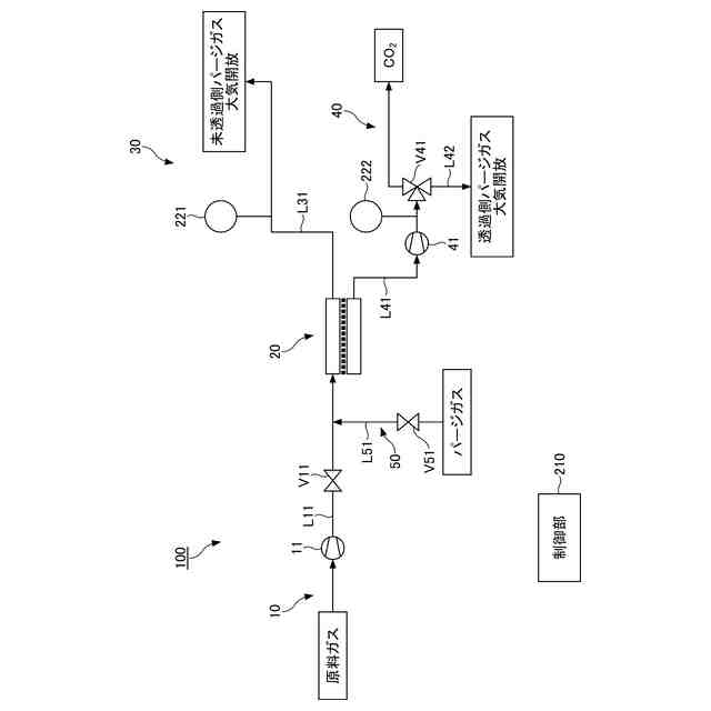
第1実施形態に係るガス回収システムを例示する概略図である。
第1実施形態に係るガス回収システムのハードウェア構成を例示するブロック図である。
ガス回収システムの通常運転の終了時におけるパージ処理の手順を例示するフローチャートである。
ガス回収システムの通常運転の開始時におけるパージ処理の手順を例示するフローチャートである。
実施形態に係る分離槽を例示する概略斜視図である。
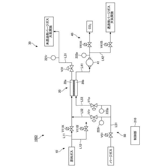
第2実施形態に係るガス回収システムを例示する概略図である。
第3実施形態に係るガス回収システムを例示する概略図である。
第4実施形態に係るガス回収システムを例示する概略図である。
第4実施形態に係るガス回収システムのハードウェア構成を例示するブロック図である。
第4実施形態に係るガス回収システムにおけるパージ処理の手順を例示するフローチャートである。
第5実施形態に係るガス回収システムのハードウェア構成を例示するブロック図である。
第6実施形態に係るガス回収システムのハードウェア構成を例示するブロック図である。
第7実施形態に係るガス回収システムを例示する概略図である。
第7実施形態に係るガス回収システムのハードウェア構成を例示するブロック図である。
第8実施形態に係るガス回収システムを例示する概略図である。
第9実施形態に係るガス回収システムを例示する概略図である。
第10実施形態に係るガス回収システムを例示する概略図である。
【発明を実施するための形態】
【0009】
以下、実施形態に係るガス回収システムについて、添付の図面を参照しながら説明する。尚、本明細書及び図面において、実質的に同一の構成要素については、同一の符号を付することにより重複した説明を省く場合がある。
【0010】
[第1実施形態に係るガス回収システム100]
図1は、第1実施形態に係るガス回収システム100を例示する概略図である。図1に示すガス回収システム100は、原料ガスに含まれる二酸化炭素を分離して、二酸化炭素を回収するシステムである。ガス回収システム100は、例えば、燃焼器から排出された燃焼排ガスである原料ガス中の二酸化炭素を分離して回収するシステムでもよい。原料ガスは、燃焼器から排出された燃焼排ガスに限定されず、その他の機器から排出されたガスでもよい。ガス回収システム100は、例えば、工場、発電所、船舶などに設置される。ガス回収システム100の設置場所は、特に限定されない。ガス回収システム100は、ガス処理システムの一例である。
(【0011】以降は省略されています)
この特許をJ-PlatPat(特許庁公式サイト)で参照する
関連特許
富士電機株式会社
冷却装置
1か月前
富士電機株式会社
溶接装置
1か月前
富士電機株式会社
駆動回路
6日前
富士電機株式会社
搬送機構
1か月前
富士電機株式会社
電磁接触器
1か月前
富士電機株式会社
エンコーダ
1か月前
富士電機株式会社
半導体装置
1か月前
富士電機株式会社
半導体装置
1か月前
富士電機株式会社
半導体装置
19日前
富士電機株式会社
電磁接触器
1か月前
富士電機株式会社
回路遮断器
1か月前
富士電機株式会社
電磁接触器
1か月前
富士電機株式会社
電磁接触器
1か月前
富士電機株式会社
半導体装置
1か月前
富士電機株式会社
半導体装置
1か月前
富士電機株式会社
電磁接触器
1か月前
富士電機株式会社
自動販売機
13日前
富士電機株式会社
学習システム
15日前
富士電機株式会社
自動販売装置
20日前
富士電機株式会社
金銭処理装置
14日前
富士電機株式会社
商品収納装置
29日前
富士電機株式会社
ショーケース
29日前
富士電機株式会社
飲料抽出装置
8日前
富士電機株式会社
硬貨処理装置
6日前
富士電機株式会社
硬貨処理装置
6日前
富士電機株式会社
冷却システム
1か月前
富士電機株式会社
電力変換システム
1か月前
富士電機株式会社
半導体モジュール
22日前
富士電機株式会社
ガス処理システム
9日前
富士電機株式会社
チャンネルベース
1か月前
富士電機株式会社
チャンネルベース
1か月前
富士電機株式会社
電力変換システム
1か月前
富士電機株式会社
半導体パッケージ
1か月前
富士電機株式会社
半導体モジュール
1日前
富士電機株式会社
半導体モジュール
12日前
富士電機株式会社
エレベータ制御装置
1か月前
続きを見る
他の特許を見る