TOP
|
特許
|
意匠
|
商標
特許ウォッチ
Twitter
他の特許を見る
公開番号
2025161360
公報種別
公開特許公報(A)
公開日
2025-10-24
出願番号
2024064481
出願日
2024-04-12
発明の名称
光学フィルムの検査装置、検査方法及び製造方法
出願人
日東電工株式会社
代理人
弁理士法人まこと国際特許事務所
主分類
G01N
21/892 20060101AFI20251017BHJP(測定;試験)
要約
【課題】光学フィルムに発生し得るクラック等の欠陥を精度良く検出可能な光学フィルムの検査装置を提供する。
【解決手段】検査装置100は、光学フィルム10の法線方向の一方側に配置され、光学フィルムに対して光を照射する第1光源1及び第2光源2と、他方側に配置され、光学フィルムを撮像することで撮像画像を生成する撮像部3と、撮像画像に基づき、光学フィルムに存在する欠陥を検出する画像処理部4と、を備える。第1光源は、光学フィルムの法線方向から見た場合に、第1光源の光軸が光学フィルムの搬送方向に沿うように配置され、第2光源は、第2光源の光軸が搬送方向に対して直交する方向に沿うように配置され、撮像部は、第1光源及び第2光源から出射した光を直接受光しないように配置され、なお且つ、第1光源及び第2光源から光学フィルムに対して照射された光の正透過光を受光しないように配置されている。
【選択図】図2
特許請求の範囲
【請求項1】
所定の搬送方向に搬送される光学フィルムの検査装置であって、
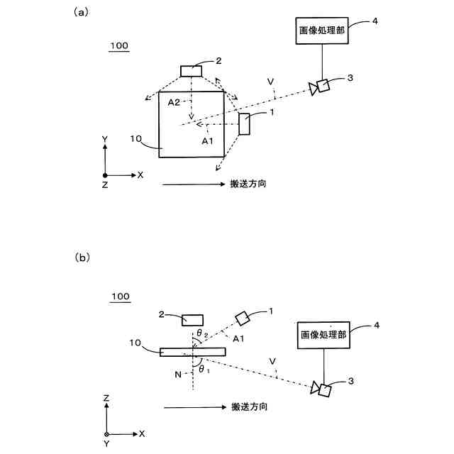
前記光学フィルムの法線方向の一方側に配置され、前記光学フィルムに対して光を照射する第1光源及び第2光源と、
前記光学フィルムの法線方向の他方側に配置され、前記光学フィルムを撮像することで撮像画像を生成する撮像部と、
前記撮像画像に基づき、前記光学フィルムに存在する欠陥を検出する画像処理部と、を備え、
前記第1光源は、前記光学フィルムの法線方向から見た場合に、前記第1光源の光軸が前記搬送方向に沿うように配置され、
前記第2光源は、前記光学フィルムの法線方向から見た場合に、前記第2光源の光軸が前記搬送方向に対して直交する方向に沿うように配置され、
前記撮像部は、前記第1光源及び前記第2光源から出射した光を直接受光しないように配置され、なお且つ、前記第1光源及び前記第2光源から前記光学フィルムに対して照射された光の正透過光を受光しないように配置されている、
光学フィルムの検査装置。
続きを表示(約 1,600 文字)
【請求項2】
前記撮像部は、前記第1光源及び前記第2光源のうち、前記第1光源のみから前記光学フィルムに対して光を照射した状態で前記光学フィルムを撮像することで第1撮像画像を生成すると共に、前記第2光源のみから前記光学フィルムに対して光を照射した状態で前記光学フィルムを撮像することで第2撮像画像を生成し、
前記画像処理部は、前記第1撮像画像及び前記第2撮像画像に基づき、前記光学フィルムに存在する欠陥を検出する、
請求項1に記載の光学フィルムの検査装置。
【請求項3】
前記撮像部は、その視軸が前記光学フィルムと交差する点における前記光学フィルムの法線に対して鋭角を成すように配置され、
前記第1光源及び前記撮像部は、前記法線に対して、前記搬送方向の同じ側に配置されている、
請求項1又は2に記載の光学フィルムの検査装置。
【請求項4】
前記撮像部は、その視軸が、前記法線に対して、10°~80°の角度を成すように配置され、
前記第1光源は、その光軸が、前記法線に対して、10°~80°の角度を成すように配置されている、
請求項3に記載の光学フィルムの検査装置。
【請求項5】
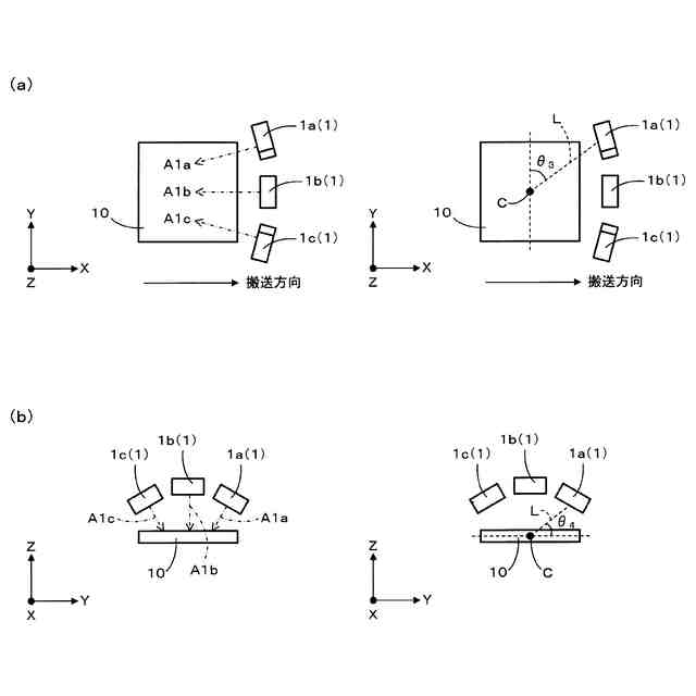
前記第1光源が、前記光学フィルムの法線方向から見た場合に、前記搬送方向に対して直交する方向に沿うように配列された複数の光源から構成されている、及び/又は、前記第2光源が、前記光学フィルムの法線方向から見た場合に、前記搬送方向に対して直交する方向に沿うように配列された複数の光源から構成されている、
請求項1又は2に記載の光学フィルムの検査装置。
【請求項6】
前記画像処理部は、前記欠陥として、クラックを検出する、
請求項1又は2に記載の光学フィルムの検査装置。
【請求項7】
前記光学フィルムが延伸フィルムを含む、
請求項1又は2に記載の光学フィルムの検査装置。
【請求項8】
所定の搬送方向に搬送される光学フィルムの検査方法であって、
前記光学フィルムの法線方向の一方側に、前記光学フィルムに対して光を照射する第1光源及び第2光源を配置し、前記光学フィルムの法線方向の他方側に、前記光学フィルムを撮像することで撮像画像を生成する撮像部を配置する準備工程と、
前記第1光源及び前記第2光源のうち、少なくとも何れか一方の光源から前記光学フィルムに対して光を照射した状態で、前記撮像部で前記光学フィルムを撮像することで撮像画像を生成する撮像画像生成工程と、
前記撮像画像に基づき、前記光学フィルムに存在する欠陥を画像処理部で検出する欠陥検出工程と、を有し、
前記準備工程において、
前記光学フィルムの法線方向から見た場合に、前記第1光源の光軸が前記搬送方向に沿うように、前記第1光源を配置し、
前記光学フィルムの法線方向から見た場合に、前記第2光源の光軸が前記搬送方向に対して直交する方向に沿うように、前記第2光源を配置し、
前記撮像部が前記第1光源及び前記第2光源から出射した光を直接受光しないように、なお且つ、前記撮像部が前記第1光源及び前記第2光源から前記光学フィルムに対して照射された光の正透過光を受光しないように、前記撮像部を配置する、
光学フィルムの検査方法。
【請求項9】
長尺の光学フィルムを枚葉状に切断する切断工程と、
切断後の枚葉状の前記光学フィルムを検査する検査工程と、を有し、
前記検査工程では、切断後の枚葉状の前記光学フィルムに対して、請求項8に記載の検査方法を実行し、
前記検査工程において前記光学フィルムに存在する欠陥が検出された場合には、当該光学フィルムを廃棄する、
光学フィルムの製造方法。
発明の詳細な説明
【技術分野】
【0001】
本発明は、光学フィルムに発生する欠陥を検出するための光学フィルムの検査装置、検査方法及びこの検査方法を用いた光学フィルムの製造方法に関する。特に、本発明は、偏光フィルムや位相差フィルム等の延伸フィルムを含む光学フィルムに発生し得るクラック等の欠陥を精度良く検出可能な、光学フィルムの検査装置、検査方法及び製造方法に関する。
続きを表示(約 1,700 文字)
【背景技術】
【0002】
近年、偏光フィルムや位相差フィルム等の延伸フィルムを含む光学フィルムは、テレビやパーソナルコンピュータに用いられるのみならず、スマートフォン、スマートウォッチ、車載ディスプレイなど、多種多様のディスプレイ用途に用いられている。
これらの光学フィルムは、ロールツーロール方式で延伸処理や貼り合わせ処理等が施されて長尺の光学フィルムとして製造された後、用途に応じた形状を有する枚葉状に切断される。
【0003】
枚葉状に切断された光学フィルムに欠陥が存在する場合には、これが用いられるディスプレイの表示性能を維持できない。このため、枚葉状に切断された光学フィルムは、透過検査、クロスニコル検査、反射検査等によって検査され、欠陥が検出された場合には、その光学フィルムを廃棄している。
【0004】
ここで、偏光フィルムや位相差フィルム等の延伸フィルムを含む光学フィルムには、枚葉状に切断された後、クラックと称される微細なひび割れ状の欠陥が発生する場合がある。このクラックが密集して発生すると、光学フィルムが用いられるディスプレイの表示性能を維持できないため、検査によって密集したクラックを検出することが望まれている。
【0005】
しかしながら、本発明者らが検討したところによれば、上記のクラックは、透過検査、クロスニコル検査、反射検査等の従来の検査方法では、精度良く検出できないという問題がある。
【0006】
例えば、特許文献1には、枚葉状に切断する前の長尺の光学フィルムを検査する透過検査装置の一種として、投光部を2個設け、これら2個の投光部を、受光部に対してフィルム走行方向で上流側及び下流側にずらし、2個の投光部に対して欠陥が無いときに受光部が暗視野状態となり、欠陥があるときに受光部が受光状態となるように配置した検査装置が提案されている(特許文献1の請求項1等)。
具体的には、特許文献1に記載の検査装置では、フィルムの法線方向から見た場合に、2個の投光部は、その光軸が逆向きではあるものの、何れもフィルムの搬送方向に沿うように配置されている(特許文献1の図1等)。
【0007】
本発明者らが検討したところによれば、特許文献1に記載のような検査装置を枚葉状に切断された光学フィルムに適用したとしても、クラックを精度良く検出できないことが分かった。
【先行技術文献】
【特許文献】
【0008】
特開2008-122130号公報
【発明の概要】
【発明が解決しようとする課題】
【0009】
本発明は、上記のような従来技術の問題点を解決するためになされたものであり、偏光フィルムや位相差フィルム等の延伸フィルムを含む光学フィルムに発生し得るクラック等の欠陥を精度良く検出可能な、光学フィルムの検査装置、検査方法及び製造方法を提供することを課題とする。
【課題を解決するための手段】
【0010】
前記課題を解決するため、本発明者らは、透過検査における光源及び撮像部の配置を鋭意検討した。その結果、光源として、第1光源及び第2光源を用意し、光学フィルムの法線方向から見た場合に、第1光源の光軸が光学フィルムの搬送方向に沿うように、第1光源を配置し、第2光源の光軸が光学フィルムの搬送方向に直交する方向に沿うように、第2光源を配置することを考えた。そして、撮像部を、第1光源及び第2光源から出射した光を直接受光しないように配置し、なお且つ、第1光源及び第2光源から光学フィルムに対して照射された光の正透過光を受光しないように配置すると、撮像部によって生成される撮像画像において、クラック等の欠陥に対応する画素領域のコントラストが高まり、欠陥を精度良く検出できることを見出した。すなわち、第1光源、第2光源及び撮像部を特定の配置状態とすることで、従来の透過検査では検出し難いクラック等の欠陥を精度良く検出できることを見出した。
(【0011】以降は省略されています)
この特許をJ-PlatPat(特許庁公式サイト)で参照する
関連特許
日東電工株式会社
吸着材
23日前
日東電工株式会社
積層体
17日前
日東電工株式会社
シート体
12日前
日東電工株式会社
発光装置
24日前
日東電工株式会社
電子装置
19日前
日東電工株式会社
照明装置
16日前
日東電工株式会社
粘着シート
2日前
日東電工株式会社
光学積層体
1か月前
日東電工株式会社
光ファイバ
18日前
日東電工株式会社
粘着シート
16日前
日東電工株式会社
粘着シート
16日前
日東電工株式会社
光学積層体
1か月前
日東電工株式会社
粘着シート
5日前
日東電工株式会社
温度測定装置
18日前
日東電工株式会社
スイッチ装置
24日前
日東電工株式会社
温度測定装置
18日前
日東電工株式会社
調光フィルム
17日前
日東電工株式会社
スイッチ装置
16日前
日東電工株式会社
粘着剤組成物
18日前
日東電工株式会社
偏光フィルム
1か月前
日東電工株式会社
粘着剤組成物
18日前
日東電工株式会社
配線回路基板
9日前
日東電工株式会社
光学粘着シート
25日前
日東電工株式会社
表面保護シート
12日前
日東電工株式会社
光学粘着シート
25日前
日東電工株式会社
光学粘着シート
25日前
日東電工株式会社
反射防止フィルム
23日前
日東電工株式会社
反射防止フィルム
23日前
日東電工株式会社
ロール体の製造方法
27日前
日東電工株式会社
導光体、及び照明装置
16日前
日東電工株式会社
光学積層体の製造方法
24日前
日東電工株式会社
調光用導電性フィルム
1か月前
日東電工株式会社
光学積層体の製造方法
24日前
日東電工株式会社
積層フィルムの製造方法
17日前
日東電工株式会社
積層フィルムの製造方法
17日前
日東電工株式会社
延伸フィルムの製造方法
1か月前
続きを見る
他の特許を見る