TOP
|
特許
|
意匠
|
商標
特許ウォッチ
Twitter
他の特許を見る
公開番号
2025161375
公報種別
公開特許公報(A)
公開日
2025-10-24
出願番号
2024064506
出願日
2024-04-12
発明の名称
太陽電池および太陽電池モジュール
出願人
パナソニックIPマネジメント株式会社
代理人
個人
,
個人
主分類
H10K
30/50 20230101AFI20251017BHJP()
要約
【課題】光電変換効率を高め得る太陽電池を提供する。
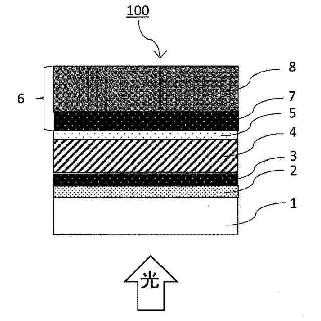
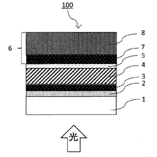
【解決手段】太陽電池は、光電変換層と、光電変換層に積層された電子輸送層又は正孔輸送層と、光電変換層と、電子輸送層又は正孔輸送層と、を各層に垂直な方向から挟む第1電極及び第2電極と、を備え、第2電極は、中間カーボン層とカーボン電極とを含み、中間カーボン層は、黒鉛とアセチレンブラックとを含み、カーボン電極は、カーボンナノチューブを含む。
【選択図】図1
特許請求の範囲
【請求項1】
光電変換層と、
前記光電変換層に積層された電子輸送層又は正孔輸送層と、
前記光電変換層と、前記電子輸送層又は前記正孔輸送層と、を前記各層に垂直な方向から挟む第1電極及び第2電極と、
を備え、
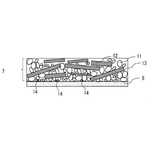
前記第2電極は、中間カーボン層とカーボン電極層とを含み、
前記中間カーボン層は、黒鉛とアセチレンブラックとを含み、
前記カーボン電極層は、カーボンナノチューブを含む、太陽電池。
続きを表示(約 520 文字)
【請求項2】
前記光電変換層と前記第2電極との間に配置された正孔輸送層を含み、
前記中間カーボン層と前記正孔輸送層との界面での空隙率の平均値が10%以下であり、
前記中間カーボン層の厚みは0.05μm以上5.0μm以下であり、
前記カーボン電極層の厚みは0.1μm以上20.0μm以下である、
請求項1に記載の太陽電池。
【請求項3】
前記黒鉛と前記アセチレンブラックとの含有割合は、質量比(黒鉛/アセチレンブラック)で40/60~80/20である、請求項1に記載の太陽電池。
【請求項4】
前記黒鉛の平均粒子径は、5μm以上30μm以下である、請求項1に記載の太陽電池。
【請求項5】
前記アセチレンブラックの2次粒子の平均粒子径は、30nm以上である、請求項1に記載の太陽電池。
【請求項6】
基板、前記第1電極、電子輸送層、前記光電変換層、正孔輸送層、前記第2電極をこの順で備える、請求項1に記載の太陽電池。
【請求項7】
複数の、請求項1に記載の太陽電池が直列及び/又は並列に接続されてなる、太陽電池モジュール。
発明の詳細な説明
【技術分野】
【0001】
本開示は、太陽電池および太陽電池モジュールに関する。
続きを表示(約 1,400 文字)
【背景技術】
【0002】
近年、光エネルギーを電力に変換する光電変換素子として、太陽電池が注目されている。太陽電池は、光電変換層に対して正孔輸送層、または電子輸送層を接触させた構造により、正孔または電子だけを一方向に取り出し、あるいは供給している。
【0003】
色素増感型太陽電池は、広い照射範囲で安定して発電できることや、大掛かりな設備を必要とすることなく、比較的安価な材料を用いて製造し得ることから、注目されている。例えば、特許文献1では、安価な材料及び簡便な製造法により作製でき、かつ、電解質中に含まれる酸化還元対の酸化体を速やかに還元することのできる触媒電極、及びこれを備えた色素増感型太陽電池が提案されている。触媒電極に有機金属錯体と、カーボンナノチューブと、カーボンナノチューブ以外の導電性炭素材料を含むことで、太陽電池の変換効率を高め得ることができると記載されている。
【0004】
一方、ペロブスカイト太陽電池は、化学式ABX
3
(Aは1価のカチオン、Bは2価のカチオン、Xはハロゲンアニオン)により示されるペロブスカイト型結晶、および、その類似の構造体を光電変換材料として用いる(例えば、特許文献2参照。)。ペロブスカイト太陽電池の特徴として、有機系材料を含む光電変換層や中間層を塗布方法で形成できる点がある。特許文献2の実施例において、第2電極は金属の真空蒸着によって電極を形成している。
【先行技術文献】
【特許文献】
【0005】
特開2022-117263号公報
WO2022/176335号公報
【発明の概要】
【発明が解決しようとする課題】
【0006】
しかしながら、特許文献1において触媒層はカーボンナノチューブを含む分散液による塗膜形成を行っている。当該方法によれば触媒層と電解質層との界面では導電性粒子の充填性が不十分であり、変換効率が不十分であるという問題があることが明らかになった。
【0007】
特許文献2においては真空蒸着による電極形成をしており、例えば、矩形状の一辺が1m以上を超える大面積に形成する場合においては、電極形成に長時間を要する為、生産性の向上という点で改善の余地があった。
【0008】
そこで、本開示は、常圧短時間で電極成形が可能且つ光電変換効率を高め得る太陽電池および太陽電池モジュールの提供を目的とする。
【課題を解決するための手段】
【0009】
上記課題を達成するために、本開示に係る太陽電池は、光電変換層と、光電変換層に積層された電子輸送層又は正孔輸送層と、光電変換層と、電子輸送層又は正孔輸送層と、を各層に垂直な方向から挟む第1電極及び第2電極と、備え、第2電極は、中間カーボン層とカーボン電極とを含み、中間カーボン層は、黒鉛とアセチレンブラックとを含み、カーボン電極層は、カーボンナノチューブを含む。
【発明の効果】
【0010】
本開示に係る太陽電池によれば、常圧短時間で電極成形が可能であって、光電変換効率を高め得る太陽電池および太陽電池モジュールを提供することができる。
【図面の簡単な説明】
(【0011】以降は省略されています)
この特許をJ-PlatPat(特許庁公式サイト)で参照する
関連特許
個人
半導体装置
21日前
東レ株式会社
太陽電池モジュール
21日前
エイブリック株式会社
縦型ホール素子
15日前
エイブリック株式会社
縦型ホール素子
15日前
旭化成株式会社
発光素子
1日前
ローム株式会社
抵抗チップ
6日前
富士通株式会社
半導体装置
20日前
ローム株式会社
半導体装置
22日前
株式会社半導体エネルギー研究所
表示装置
15日前
三菱電機株式会社
半導体装置
今日
富士電機株式会社
半導体装置
12日前
三菱電機株式会社
半導体装置
20日前
日亜化学工業株式会社
発光素子
20日前
TDK株式会社
圧電素子
20日前
日亜化学工業株式会社
発光装置
1日前
日亜化学工業株式会社
発光装置
19日前
ローム株式会社
半導体集積回路
今日
富士電機株式会社
半導体装置の製造方法
14日前
ローム株式会社
窒化物半導体装置
15日前
ローム株式会社
半導体装置
5日前
ローム株式会社
半導体装置
7日前
ローム株式会社
窒化物半導体装置
6日前
大日本印刷株式会社
太陽電池
8日前
株式会社カネカ
太陽電池モジュール
19日前
沖電気工業株式会社
発光装置及び表示装置
21日前
日本電気株式会社
超伝導量子回路装置
20日前
株式会社MARUWA
発光装置及び照明器具
19日前
サンケン電気株式会社
発光装置
19日前
ローム株式会社
光センサ
13日前
一般財団法人電力中央研究所
熱化学電池
21日前
日亜化学工業株式会社
発光装置
今日
今泉工業株式会社
光発電装置及びその製造方法
5日前
ローム株式会社
RAM
19日前
住友電気工業株式会社
炭化珪素半導体装置
2日前
住友化学株式会社
発光素子
15日前
日亜化学工業株式会社
発光装置の製造方法及び発光装置
今日
続きを見る
他の特許を見る