TOP
|
特許
|
意匠
|
商標
特許ウォッチ
Twitter
他の特許を見る
10個以上の画像は省略されています。
公開番号
2025153535
公報種別
公開特許公報(A)
公開日
2025-10-10
出願番号
2024056065
出願日
2024-03-29
発明の名称
太陽電池モジュール
出願人
株式会社カネカ
代理人
個人
,
個人
主分類
H10F
19/90 20250101AFI20251002BHJP()
要約
【課題】本発明は、太陽電池セル間で安定的に導通できる太陽電池モジュールを提供する。
【解決手段】第1太陽電池セルと第2太陽電池セルが重なりをもって第1方向に接続されるものであり、第1太陽電池セルは、第1集電極を有し、第2太陽電池セルは、導電性接着材を介して第1太陽電池セルの第1集電極と接着される第2集電極を有し、第1集電極は、複数の第1電極配線部を有し、第2集電極は、複数の第2電極配線部を有し、平面視したときに、導電性接着材によって接続された接続領域において、第1電極配線部と第2電極配線部が複数の交点を形成しており、さらに複数の交点が面状に分布している構成とする。
【選択図】図5
特許請求の範囲
【請求項1】
第1太陽電池セルと第2太陽電池セルが重なりをもって第1方向に接続される太陽電池モジュールであって、
前記第1太陽電池セルは、第1集電極を有し、
前記第2太陽電池セルは、導電性接着材を介して前記第1太陽電池セルの前記第1集電極と接着される第2集電極を有し、
前記第1集電極は、複数の第1電極配線部を有し、
前記第2集電極は、複数の第2電極配線部を有し、
平面視したときに、前記導電性接着材によって接続された接続領域において、前記第1電極配線部と前記第2電極配線部が複数の交点を形成しており、さらに前記複数の交点が面状に分布している、太陽電池モジュール。
続きを表示(約 870 文字)
【請求項2】
前記複数の第1電極配線部の中には、平面視したときに前記第1方向に対して直交する第2方向に延びる第2方向配線部があり、
前記複数の第2電極配線部の中には、平面視したときに前記第2方向に延びる第2方向配線部があり、
前記第1集電極の前記第2方向配線部の中心軸は、前記第2集電極の前記第2方向配線部の中心軸に対して前記第1方向にずれている、請求項1に記載の太陽電池モジュール。
【請求項3】
前記複数の第2電極配線部の中には、隣接する第2方向配線部があり、
前記第2集電極の前記第2方向配線部の幅は、前記第1集電極の前記隣接する第2方向配線部間の間隔よりも大きい、請求項2に記載の太陽電池モジュール。
【請求項4】
前記複数の第2電極配線部の中には、平面視したときに、前記第1方向の成分と前記第1方向に対して直交する第2方向の成分をもって傾斜して延びる傾斜配線部があり、
前記傾斜配線部は、平面視したときに、前記接続領域において前記第1電極配線部と交点を形成している、請求項1~3のいずれか1項に記載の太陽電池モジュール。
【請求項5】
前記複数の第1電極配線部の中には、前記第1方向において前記接続領域の外側であってかつ前記接続領域よりも前記第2太陽電池セルの中央側の位置に、前記第1方向に対して直交する第2方向に延びる第2方向配線部がある、請求項1~3のいずれか1項に記載の太陽電池モジュール。
【請求項6】
前記複数の第1電極配線部の中には、平面視したときに前記第1方向に延びる第1方向配線部があり、
前記複数の第2電極配線部の中には、平面視したときに前記第1方向に延びる第1方向配線部があり、
前記第1集電極の前記第1方向配線部の中心軸は、前記第2集電極の前記第1方向配線部の中心軸に対して前記第1方向に対して直交する第2方向にずれている、請求項1~3のいずれか1項に記載の太陽電池モジュール。
発明の詳細な説明
【技術分野】
【0001】
本発明は、太陽電池モジュールに関する。
続きを表示(約 1,500 文字)
【背景技術】
【0002】
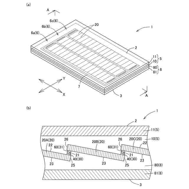
従来から複数の太陽電池セルが導電性粒子を含む接続部材によってシングリング接続された太陽電池モジュールが知られている(例えば、特許文献1)。
【先行技術文献】
【特許文献】
【0003】
国際公開第2020/158379号
【発明の概要】
【発明が解決しようとする課題】
【0004】
ところで、特許文献1の太陽電池モジュールは、太陽電池セルの集電極のバスバー電極部を長方形状に形成し、導電性接着材によって隣接する太陽電池セルのバスバー電極部間を接続している。バスバー電極部は、一般的に銀等の高価な金属で形成されているので、バスバー電極部の面積に比例して金属の使用量が多くなり、コストが嵩む。そのため、太陽電池モジュールの低コスト化には、バスバー電極部の金属量の低減が望まれる。
【0005】
そこで、本発明者は、バスバー電極部を細線化し、細線化したバスバー電極部を重ねた太陽電池モジュールを試作し、バスバー電極部の金属使用量を低減することを試みた。
この試作した太陽電池モジュールでは、バスバー電極部の細線化により、バスバー電極部の面積が小さくなったため、金属使用量が低減し、コスト面では、従来に比べて大きく抑制された。
しかしながら、バスバー電極部の面積が小さくなったため、従来の太陽電池モジュールに比べて、隣接する太陽電池セルのバスバー電極部同士の位置を厳密に位置合わせする必要があり、隣接する太陽電池セルのバスバー電極部同士の位置がずれると、バスバー電極部の距離が離れて抵抗が大きくなったり、バスバー電極部間で導電できなかったりする問題があった。
【0006】
そこで、本発明は、太陽電池セル間で安定的に導通できる太陽電池モジュールを提供することを課題とする。
【課題を解決するための手段】
【0007】
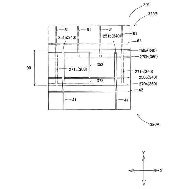
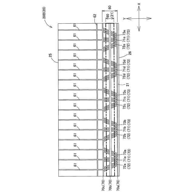
上記した課題を解決するための本発明の一つの様相は、第1太陽電池セルと第2太陽電池セルが重なりをもって第1方向に接続される太陽電池モジュールであって、前記第1太陽電池セルは、第1集電極を有し、前記第2太陽電池セルは、導電性接着材を介して前記第1太陽電池セルの前記第1集電極と接着される第2集電極を有し、前記第1集電極は、複数の第1電極配線部を有し、前記第2集電極は、複数の第2電極配線部を有し、平面視したときに、前記導電性接着材によって接続された接続領域において、前記第1電極配線部と前記第2電極配線部が複数の交点を形成しており、さらに前記複数の交点が面状に分布している、太陽電池モジュールである。
【0008】
本様相によれば、第1電極配線部と第2電極配線部が複数の交点を形成し、複数の交点を含むように導電性接着材によって接着されているので、第1電極配線部と第2電極配線部との間で複数の導電パスが形成され、より確実に導通することができる。
【0009】
好ましい様相は、前記複数の第1電極配線部の中には、平面視したときに前記第1方向に対して直交する第2方向に延びる第2方向配線部があり、前記複数の第2電極配線部の中には、平面視したときに前記第2方向に延びる第2方向配線部があり、前記第1集電極の前記第2方向配線部の中心軸は、前記第2集電極の前記第2方向配線部の中心軸に対して前記第1方向にずれている。
【0010】
好ましい様相は、前記複数の第2電極配線部の中には、隣接する第2方向配線部があり、前記第1集電極の前記第2方向配線部の幅は、前記第2集電極の前記隣接する第2方向配線部間の間隔よりも大きい。
(【0011】以降は省略されています)
この特許をJ-PlatPat(特許庁公式サイト)で参照する
関連特許
株式会社カネカ
飲料
11日前
株式会社カネカ
飲料
11日前
株式会社カネカ
抗菌剤
22日前
株式会社カネカ
製膜装置
15日前
株式会社カネカ
製膜装置
15日前
株式会社カネカ
医療用具
15日前
株式会社カネカ
電解装置
1か月前
株式会社カネカ
二次電池
1か月前
株式会社カネカ
塗布装置
19日前
株式会社カネカ
積層装置
19日前
株式会社カネカ
カテーテル
9日前
株式会社カネカ
正極活物質
19日前
株式会社カネカ
カテーテル
15日前
株式会社カネカ
カテーテル
9日前
株式会社カネカ
カテーテル
9日前
株式会社カネカ
カテーテル
9日前
株式会社カネカ
カテーテル
8日前
株式会社カネカ
カテーテル
10日前
株式会社カネカ
カテーテル
15日前
株式会社カネカ
汎用かつら
1か月前
株式会社カネカ
カテーテル
15日前
株式会社カネカ
ヘルメット
1か月前
株式会社カネカ
硬化性組成物
29日前
株式会社カネカ
生体内留置具
1か月前
株式会社カネカ
製造システム
1か月前
株式会社カネカ
蓄冷材組成物
1か月前
株式会社カネカ
濃縮システム
1か月前
株式会社カネカ
酵母含有菓子
10日前
株式会社カネカ
製造システム
1か月前
株式会社カネカ
生体内留置具
15日前
株式会社カネカ
樹脂チューブ
29日前
株式会社カネカ
硬化性組成物
1か月前
株式会社カネカ
硬化性組成物
1か月前
株式会社カネカ
シーリング材
8日前
株式会社カネカ
保護キャップ
2か月前
株式会社カネカ
光学フィルム
1か月前
続きを見る
他の特許を見る