TOP
|
特許
|
意匠
|
商標
特許ウォッチ
Twitter
他の特許を見る
公開番号
2025159950
公報種別
公開特許公報(A)
公開日
2025-10-22
出願番号
2024062842
出願日
2024-04-09
発明の名称
半導体装置
出願人
ローム株式会社
代理人
個人
,
個人
,
個人
主分類
H10D
1/47 20250101AFI20251015BHJP()
要約
【課題】 耐圧を向上可能な半導体装置を提供する。
【解決手段】
半導体装置は、半導体基板1と絶縁層2と抵抗器とを備えている。抵抗器は、第1抵抗層(抵抗器R(1))と、第1抵抗層の一方端に電気的に接続された第1埋込電極BE(2)と、第1抵抗層に隣接して配置され、第1抵抗層の他方端に電気的に接続された第2抵抗層(抵抗器R(2))と、第2抵抗層の一方端に電気的に接続された第2埋込電極BE(N)と、平面視において第1抵抗層の長手方向に沿って延びており、第1埋込電極に電気的に接続され、第1抵抗層よりも大きな厚みを有する第1予備電極AX(11)と、上記の長手方向に沿って延びており、第2埋込電極BE(N)に電気的に接続され、第2抵抗層(抵抗器R(2))よりも大きな厚みを有し、第1予備電極AX(11)に隣接し、第1予備電極AX(11)と共にキャパシタC11を構成する第2予備電極AX(12)とを備える。
【選択図】 図5
特許請求の範囲
【請求項1】
半導体基板上に形成された絶縁層と、
前記絶縁層内に埋め込まれた抵抗器と、
を備え、
前記抵抗器は、
第1抵抗層と、
前記第1抵抗層の一方端に電気的に接続された第1埋込電極と、
前記第1抵抗層に隣接して配置され、前記第1抵抗層の他方端に電気的に接続された第2抵抗層と、
前記第2抵抗層の一方端に電気的に接続された第2埋込電極と、
平面視において前記第1抵抗層の長手方向に沿って延びており、前記第1埋込電極に電気的に接続され、前記第1抵抗層の厚みよりもよりも大きな厚みを有する第1予備電極と、
前記長手方向に沿って延びており、前記第2埋込電極に電気的に接続され、前記第2抵抗層よりも大きな厚みを有し、前記第1予備電極に隣接し、前記第1予備電極と共にキャパシタを構成する第2予備電極と、
を備える半導体装置。
続きを表示(約 1,700 文字)
【請求項2】
前記第1予備電極の前記長手方向に沿った長さは100μm以上300μm以下であり、
前記第2予備電極の前記長手方向に沿った長さは100μm以上300μm以下であり、
前記キャパシタの容量は、1fF以上である、
請求項1に記載の半導体装置。
【請求項3】
前記第1予備電極の前記長手方向に沿った長さは100μm以上300μm以下であり、
前記第2予備電極の前記長手方向に沿った長さは100μm以上300μm以下であり、
前記キャパシタの容量は、10fF以上である、
請求項1に記載の半導体装置。
【請求項4】
前記第1抵抗層の前記長手方向の端部から中央へ向かう方向を第1方向とし、
平面視において、
前記第1予備電極は、前記第1埋込電極の直上位置から、前記第1方向に沿って延びており、
前記第2予備電極は、前記第2埋込電極の直上位置から、前記第1方向に沿って延びている、
請求項1に記載の半導体装置。
【請求項5】
平面視において、
前記第1予備電極は、前記第1埋込電極の直上位置から、前記第1方向とは逆方向にも沿って延びており、
前記第2予備電極は、前記第2埋込電極の直上位置から、前記第1方向とは逆方向にも沿って延びている、
請求項4に記載の半導体装置。
【請求項6】
前記第1抵抗層の前記長手方向の端部から中央へ向かう方向を第1方向とし、
平面視において、
前記第1予備電極は、前記第1埋込電極の直上位置から、前記第1方向とは逆方向に沿って延びており、
前記第2予備電極は、前記第2埋込電極の直上位置から、前記第1方向とは逆方向に沿って延びている、
請求項1に記載の半導体装置。
【請求項7】
前記第1抵抗層の前記長手方向の端部から中央へ向かう方向を第1方向とし、
前記第1予備電極は、前記第1埋込電極に連続し、前記第1方向とは逆方向に沿って延びた前記第1埋込電極の第1延長部であり、
前記第2予備電極は、前記第2埋込電極に連続し、前記第1方向とは逆方向に沿って延びた前記第2埋込電極の第2延長部である、
請求項1に記載の半導体装置。
【請求項8】
前記第1抵抗層の前記第2抵抗層とは反対側に隣接して配置され、一方端が前記第1埋込電極に電気的に接続されたダミー抵抗層と、
前記第2抵抗層の前記第1抵抗層とは反対側に隣接して配置され、一方端が前記第2埋込電極に電気的に接続された第3抵抗層と、
を備える、
請求項1に記載の半導体装置。
【請求項9】
半導体基板上に形成された絶縁層と、
前記絶縁層内に埋め込まれた抵抗器と、
を備え、
前記抵抗器は、
平面視における第1ライン内において、
分離配置された複数の第1部分抵抗器と、
複数の前記第1部分抵抗器を電気的に接続し、前記第1部分抵抗器の厚みよりも大きな厚みを有し、前記第1ラインに沿って延びた第1予備電極と、
平面視における前記第1ラインに隣接する第2ライン内において、
分離配置された複数の第2部分抵抗器と、
複数の前記第2部分抵抗器を電気的に接続し、前記第2部分抵抗器の厚みよりも大きな厚みを有し、前記第2ラインに沿って延びた第2予備電極と、
を備え、
前記第1部分抵抗器は前記第2部分抵抗器に電気的に接続され、
前記第1予備電極と前記第2予備電極とはキャパシタを構成している、
半導体装置。
【請求項10】
前記第1予備電極の長手方向に沿った長さは100μm以上300μm以下であり、
前記第2予備電極の長手方向に沿った長さは100μm以上300μm以下であり、
前記キャパシタの容量は、1fF以上である、
請求項9に記載の半導体装置。
(【請求項11】以降は省略されています)
発明の詳細な説明
【技術分野】
【0001】
本開示は、半導体装置に関する。
続きを表示(約 2,300 文字)
【背景技術】
【0002】
特許文献1は、チップ内に複数の抵抗素子を含む半導体装置を開示している。
【先行技術文献】
【特許文献】
【0003】
国際公開第2023/085026号
【0004】
[概要]
本開示は、耐圧を向上させることが可能な半導体装置を提供する。
【0005】
本開示の半導体装置は、半導体基板上に形成された絶縁層と、前記絶縁層内に埋め込まれた抵抗器と、を備え、前記抵抗器は、第1抵抗層と、前記第1抵抗層の一方端に電気的に接続された第1埋込電極と、前記第1抵抗層に隣接して配置され、前記第1抵抗層の他方端に電気的に接続された第2抵抗層と、前記第2抵抗層の一方端に電気的に接続された第2埋込電極と、平面視において前記第1抵抗層の長手方向に沿って延びており、前記第1埋込電極に電気的に接続され、前記第1抵抗層の厚みよりも大きな厚みを有する第1予備電極と、前記長手方向に沿って延びており、前記第2埋込電極に電気的に接続され、前記第2抵抗層よりも大きな厚みを有し、前記第1予備電極に隣接し、前記第1予備電極と共にキャパシタを構成する第2予備電極と、を備える。
【図面の簡単な説明】
【0006】
図1は、高電圧検出装置を搭載した半導体パッケージの平面図である。
図2は、高電圧検出装置の回路図である。
図3は、第1例の抵抗器の回路図(図3(A))及び第2例の抵抗器の回路図(図3(B))である。
図4は、高抵抗部を含む抵抗器の回路図である。
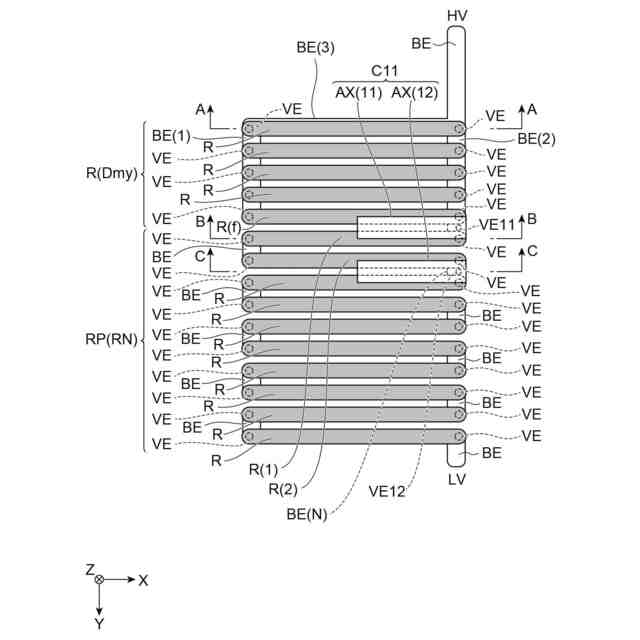
図5は、高抵抗部を含む抵抗器の平面図である。
図6は、図5に示した抵抗器のA-A矢印に沿った縦断面構成を示す図(図6(A))、B-B矢印に沿った縦断面構成を示す図(図6(B))、C-C矢印に沿った縦断面構成を示す図(図6(C))である。
図7は、高抵抗部を含む抵抗器の回路図である。
図8は、高抵抗部を含む抵抗器の平面図である。
図9は、図8に示した抵抗器のA-A矢印に沿った縦断面構成を示す図(図9(A))、B-B矢印に沿った縦断面構成を示す図(図9(B))、C-C矢印に沿った縦断面構成を示す図(図9(C))である。
図10は、予備電極と抵抗層を含む端部構造の斜視図である。
図11は、高抵抗部を含む抵抗器の平面図である。
図12は、図11に示した抵抗器のA-A矢印に沿った縦断面構成を示す図(図12(A))、B-B矢印に沿った縦断面構成を示す図(図12(B))、C-C矢印に沿った縦断面構成を示す図(図12(C))である。
図13は、高抵抗部を含む抵抗器の平面図である。
図14は、図13に示した抵抗器のA-A矢印に沿った縦断面構成を示す図(図14(A))、B-B矢印に沿った縦断面構成を示す図(図14(B))、C-C矢印に沿った縦断面構成を示す図(図14(C))である。
図15は、高抵抗部を含む抵抗器の平面図である。
図16は、図15に示した抵抗器のA-A矢印に沿った縦断面構成を示す図(図16(A))、B-B矢印に沿った縦断面構成を示す図(図16(B))、C-C矢印に沿った縦断面構成を示す図(図16(C))である。
図17は、予備電極と抵抗層を含む端部構造の斜視図である。
図18は、高抵抗部を含む抵抗器の平面図である。
図19は、図18に示した抵抗器のA-A矢印に沿った縦断面構成を示す図(図19(A))、B-B矢印に沿った縦断面構成を示す図(図19(B))、C-C矢印に沿った縦断面構成を示す図(図19(C))である。
図20は、一例の抵抗チップの平面図である。
図21は、電圧検出用の低抵抗部の平面図(図21(A)、図21(B)、図21(C))である。
【0007】
[詳細な説明]
以下、図面を参照して種々の例示的実施形態について詳細に説明する。なお、各図面において同一又は相当の部分に対しては同一の符号を附することとし、重複する説明は省略する。
【0008】
図1は、高電圧検出装置を搭載した半導体パッケージ100の平面図である。なお、同図では、上部の蓋材を除いた状態が示されている。
【0009】
半導体パッケージ100は、凹部D1を有するケース30を備えている。ケース30は、樹脂又はセラミックなどの絶縁性材料からなる。半導体パッケージ100は、凹部D1内の第1ダイパッド110上に配置された抵抗チップ10(半導体装置)と、凹部D1内の第2ダイパッド120上に配置された増幅器チップ20(半導体装置)とを備えている。半導体パッケージ100の凹部D1の開口端は、図示しない蓋材で封止され、凹部D1内は密閉空間とされている。蓋材の材料は樹脂等の絶縁材料とすることができ、凹部D1内は気体を充填してもよく、絶縁材料を充填してもよい。第1ダイパッド110及び第2ダイパッド120には、リードフレームを介して、グランド電位などの適切な電位が与えられる。また、必要に応じて、例えば、第1ダイパッド110の電位を高電位とすることも可能である。
【0010】
抵抗チップ10の出力電圧は、増幅器チップ20に入力される。増幅器チップ20は、検出した電圧に応じた出力電圧を出力する。
(【0011】以降は省略されています)
この特許をJ-PlatPat(特許庁公式サイト)で参照する
関連特許
個人
半導体装置
17日前
エイブリック株式会社
半導体装置
23日前
東レ株式会社
太陽電池モジュール
17日前
エイブリック株式会社
縦型ホール素子
11日前
エイブリック株式会社
縦型ホール素子
11日前
富士通株式会社
半導体装置
16日前
ローム株式会社
半導体装置
18日前
ローム株式会社
抵抗チップ
2日前
富士電機株式会社
半導体装置
8日前
三菱電機株式会社
半導体装置
16日前
株式会社半導体エネルギー研究所
表示装置
11日前
日亜化学工業株式会社
発光素子
24日前
TDK株式会社
圧電素子
16日前
日亜化学工業株式会社
発光素子
16日前
ミツミ電機株式会社
半導体装置
23日前
日亜化学工業株式会社
発光装置
15日前
ローム株式会社
半導体装置
24日前
株式会社東芝
熱電変換装置
24日前
ローム株式会社
窒化物半導体装置
2日前
ローム株式会社
窒化物半導体装置
11日前
ローム株式会社
TVSダイオード
24日前
ローム株式会社
半導体装置
3日前
ローム株式会社
TVSダイオード
24日前
富士電機株式会社
半導体装置の製造方法
10日前
サンケン電気株式会社
半導体装置
22日前
TDK株式会社
光検知装置
23日前
ローム株式会社
半導体装置
1日前
デクセリアルズ株式会社
受光装置
22日前
沖電気工業株式会社
発光装置及び表示装置
17日前
内山工業株式会社
太陽電池
22日前
株式会社カネカ
太陽電池モジュール
15日前
キオクシア株式会社
記憶装置
22日前
株式会社カネカ
太陽電池モジュール
24日前
大日本印刷株式会社
太陽電池
4日前
日本電気株式会社
超伝導量子回路装置
16日前
サンケン電気株式会社
発光装置
15日前
続きを見る
他の特許を見る