TOP
|
特許
|
意匠
|
商標
特許ウォッチ
Twitter
他の特許を見る
10個以上の画像は省略されています。
公開番号
2025151508
公報種別
公開特許公報(A)
公開日
2025-10-09
出願番号
2024052975
出願日
2024-03-28
発明の名称
発光素子
出願人
日亜化学工業株式会社
代理人
個人
,
個人
主分類
H10H
20/81 20250101AFI20251002BHJP()
要約
【課題】順方向電圧を低減できる発光素子を提供する。
【解決手段】発光素子は、基板の上に配置された導電部材と、この上に配置された第1絶縁層と、第1絶縁層の上に互いに離れて配置された第1発光部及び第2発光部を含む半導体構造体であって、第1及び第2発光部の各々が、第1導電型の第1半導体層、発光層、第2導電型の第2半導体層、を有する半導体構造体と、第1発光部の第1半導体層に電気的に接続された第1配線と、第1発光部の第2半導体層と、第2発光部の第1半導体層とに電気的に接続された第2配線と、第2発光部の第2半導体層に電気的に接続された第3配線と、平面視において半導体構造体から離れた、第1配線に電気的に接続された第1パッド電極及び第3配線に電気的に接続された第2パッド電極と、を有し、第1配線は、第1絶縁層の有する1又は2以上の第1開口部を通じて導電部材に接し、第2配線及び第3配線は導電部材と接していない。
【選択図】図3
特許請求の範囲
【請求項1】
基板と、
前記基板の上に配置された導電部材と、
前記導電部材の上に配置された第1絶縁層と、
前記第1絶縁層の上に互いに離れて配置された第1発光部及び第2発光部を含む半導体構造体であって、前記第1発光部及び前記第2発光部の各々が、第1導電型の第1半導体層と、第2導電型の第2半導体層と、前記第1半導体層と前記第2半導体層との間に配置された発光層と、を有する半導体構造体と、
前記第1発光部の前記第1半導体層に電気的に接続された第1配線と、
前記第1発光部の前記第2半導体層と、前記第2発光部の前記第1半導体層とに電気的に接続された第2配線と、
前記第2発光部の前記第2半導体層に電気的に接続された第3配線と、
平面視において前記半導体構造体から離れ、前記第1配線に電気的に接続された第1パッド電極と、
平面視において前記半導体構造体から離れ、前記第3配線に電気的に接続された第2パッド電極と、
を有し、
前記第1絶縁層は、1又は2以上の第1開口部を有し、
前記第1配線は、前記1又は2以上の第1開口部を通じて前記導電部材に接しており、
前記第2配線及び前記第3配線は、前記導電部材と接していない、発光素子。
続きを表示(約 1,700 文字)
【請求項2】
前記第1配線と前記第1発光部の前記第1半導体層との間に配置された第2絶縁層を有し、
前記第2絶縁層は、1又は2以上の第2開口部を有し、
前記第1配線は、前記1又は2以上の第2開口部を通じて前記第1発光部の前記第1半導体層に電気的に接続され、
前記1又は2以上の第1開口部の各々は、少なくとも平面視において前記1又は2以上の第2開口部の各々と重なる、請求項1に記載の発光素子。
【請求項3】
平面視において、前記1又は2以上の第1開口部の面積は、前記第1発光部の面積の10%以上50%以下である、請求項1又は2に記載の発光素子。
【請求項4】
基板と、
前記基板の上に配置された導電部材と、
前記導電部材の上に配置された第1絶縁層と、
前記第1絶縁層の上に互いに離れて配置された第1発光部及び第2発光部を含む半導体構造体であって、前記第1発光部及び前記第2発光部の各々が、第1導電型の第1半導体層と、第2導電型の第2半導体層と、前記第1半導体層と前記第2半導体層との間に配置された発光層と、を有する半導体構造体と、
前記第1発光部の前記第1半導体層に電気的に接続された第1配線と、
前記第1発光部の前記第2半導体層と、前記第2発光部の前記第1半導体層とに電気的に接続された第2配線と、
前記第2発光部の前記第2半導体層に電気的に接続された第3配線と、
平面視において前記半導体構造体から離れ、前記第1配線に電気的に接続された第1パッド電極と、
平面視において前記半導体構造体から離れ、前記第3配線に電気的に接続された第2パッド電極と、
を有し、
前記第1絶縁層は、1又は2以上の第1開口部を有し、
前記第3配線は、前記1又は2以上の第1開口部を通じて前記導電部材に接しており、
前記第1配線及び前記第2配線は、前記導電部材と接していない、発光素子。
【請求項5】
前記第3配線と前記第2発光部の前記第2半導体層との間に配置された第2絶縁層を有し、
前記第2絶縁層は、1又は2以上の第2開口部を有し、
前記第3配線は、前記1又は2以上の第2開口部を通じて前記第2発光部の前記第2半導体層に電気的に接続され、
前記1又は2以上の第1開口部の各々は、少なくとも平面視において前記1又は2以上の第2開口部の各々と重なる、請求項4に記載の発光素子。
【請求項6】
前記第3配線は、平面視において前記第2発光部の前記第2半導体層と重なる1又は2以上の第1領域を有し、
前記1又は2以上の第1開口部の各々は、平面視において前記1又は2以上の第1領域の各々と重なる、請求項5に記載の発光素子。
【請求項7】
前記第3配線は、
前記第2パッド電極に接する接続部と、
平面視において前記接続部から延伸し、前記第2発光部の前記第1半導体層に電気的に接続された1又は2以上の延伸部と、
を有し、
前記1又は2以上の延伸部の各々は、
前記第1領域と、
前記第2開口部の内側に配置された第2領域と、
を有する、請求項6に記載の発光素子。
【請求項8】
前記1又は2以上の延伸部の各々は、
平面視において前記半導体構造体の外縁に平行な方向に延伸する第1延伸部と、
平面視において前記第1延伸部から前記半導体構造体の内側に延伸する第2延伸部と、
を有し、
前記第1開口部は、平面視において前記第1延伸部及び前記第2延伸部と重なる、請求項7に記載の発光素子。
【請求項9】
前記第2延伸部の幅は、前記第1延伸部の幅よりも大きい、請求項8に記載の発光素子。
【請求項10】
平面視において、前記1又は2以上の第1開口部の面積は、前記第2発光部の面積の10%以上50%以下である、請求項4から請求項9のいずれか1項に記載の発光素子。
(【請求項11】以降は省略されています)
発明の詳細な説明
【技術分野】
【0001】
本開示は、発光素子に関する。
続きを表示(約 1,900 文字)
【背景技術】
【0002】
互いに直列に接続された2つの活性領域が1つの基板に設けられた発光素子が提案されている(特許文献1、2参照)。
【先行技術文献】
【特許文献】
【0003】
特表2015-533022号公報
特開2021-34652号公報
【発明の概要】
【発明が解決しようとする課題】
【0004】
従来の発光素子では、順方向電圧を低減することが求められる。
【0005】
本開示は、順方向電圧を低減することができる発光素子を提供することを目的とする。
【課題を解決するための手段】
【0006】
本開示の技術の一態様によれば、発光素子は、基板と、前記基板の上に配置された導電部材と、前記導電部材の上に配置された第1絶縁層と、前記第1絶縁層の上に互いに離れて配置された第1発光部及び第2発光部を含む半導体構造体であって、前記第1発光部及び前記第2発光部の各々が、第1導電型の第1半導体層と、第2導電型の第2半導体層と、前記第1半導体層と前記第2半導体層との間に配置された発光層と、を有する半導体構造体と、前記第1発光部の前記第1半導体層に電気的に接続された第1配線と、前記第1発光部の前記第2半導体層と、前記第2発光部の前記第1半導体層とに電気的に接続された第2配線と、前記第2発光部の前記第2半導体層に電気的に接続された第3配線と、平面視において前記半導体構造体から離れ、前記第1配線に電気的に接続された第1パッド電極と、平面視において前記半導体構造体から離れ、前記第3配線に電気的に接続された第2パッド電極と、を有し、前記第1絶縁層は、1又は2以上の第1開口部を有し、前記第1配線は、前記1又は2以上の第1開口部を通じて前記導電部材に接しており、前記第2配線及び前記第3配線は、前記導電部材と接していない。
【発明の効果】
【0007】
本開示によれば、順方向電圧を低減することができる発光素子を提供することができる。
【図面の簡単な説明】
【0008】
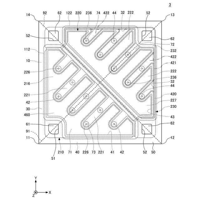
第1実施形態に係る発光素子の構成要素の一部を示す上面図である。
第1実施形態に係る発光素子の構成要素の一部を示す分解上面図である。
第1実施形態に係る発光素子を示す断面図である。
第2実施形態に係る発光素子の構成要素の一部を示す上面図である。
第2実施形態に係る発光素子の構成要素の一部を示す分解上面図である。
第2実施形態に係る発光素子を示す断面図である。
第3実施形態に係る発光素子の構成要素の一部を示す上面図である。
第4実施形態に係る発光素子の構成要素の一部を示す上面図である。
第4実施形態に係る発光素子の構成要素の一部を示す分解上面図である。
第4実施形態に係る発光素子を示す断面図である。
第5実施形態に係る発光素子の構成要素の一部を示す上面図である。
n型半導体層及びパッド電極の配置の変形例を示す上面図である。
【発明を実施するための形態】
【0009】
以下、図面を参照しながら、本開示を実施するための実施形態を説明する。以下の説明は、本開示の技術思想を具体化するためのものであって、特定的な記載がない限り、本開示を以下の記載に限定するものではない。
【0010】
各図面中、同一の機能を有する部材には、同一符号を付している場合がある。要点の説明または理解の容易性を考慮して、便宜上実施形態に分けて示す場合があるが、異なる実施形態や実施例で示した構成の部分的な置換または組み合わせは可能である。後に示す実施形態では、先に示した実施形態との異なる事項について主に説明し、先に示した実施形態と共通の事柄について重複する説明を省略することがある。各図面が示す部材の大きさや位置関係等は、説明を明確にするため、誇張して示している場合がある。図面が過度に複雑になることを避けるために、一部の要素の図示を省略したり、断面図として切断面のみを示す端面図を用いたりする場合がある。また、以下の説明では、XYZ直交座標系を用いるが、当該座標系は、説明のために定めるものであって、基板等の姿勢について限定するものではない。また、任意の点からみて、+Z側を上方、上側または上ということがあり、-Z側を下方、下側または下ということがある。また、Z方向に沿う向きで見ることを「平面視」とする。
(【0011】以降は省略されています)
この特許をJ-PlatPat(特許庁公式サイト)で参照する
関連特許
個人
半導体装置
7日前
エイブリック株式会社
半導体装置
13日前
東レ株式会社
太陽電池モジュール
7日前
エイブリック株式会社
縦型ホール素子
1日前
エイブリック株式会社
縦型ホール素子
1日前
ローム株式会社
半導体装置
8日前
富士通株式会社
半導体装置
6日前
株式会社半導体エネルギー研究所
表示装置
1日前
三菱電機株式会社
半導体装置
6日前
日亜化学工業株式会社
発光素子
6日前
TDK株式会社
圧電素子
6日前
日亜化学工業株式会社
発光装置
5日前
ミツミ電機株式会社
半導体装置
13日前
デクセリアルズ株式会社
受光装置
12日前
富士電機株式会社
半導体装置の製造方法
今日
ローム株式会社
TVSダイオード
14日前
サンケン電気株式会社
半導体装置
12日前
ローム株式会社
窒化物半導体装置
1日前
TDK株式会社
光検知装置
13日前
ローム株式会社
半導体装置
14日前
ローム株式会社
TVSダイオード
14日前
株式会社カネカ
太陽電池モジュール
5日前
内山工業株式会社
太陽電池
12日前
キオクシア株式会社
記憶装置
12日前
沖電気工業株式会社
発光装置及び表示装置
7日前
日本電気株式会社
超伝導量子回路装置
6日前
株式会社MARUWA
発光装置及び照明器具
5日前
サンケン電気株式会社
発光装置
5日前
ローム株式会社
RAM
5日前
一般財団法人電力中央研究所
熱化学電池
7日前
ローム株式会社
半導体装置
5日前
株式会社Gaianixx
積層構造体及び電子デバイス
1日前
TDK株式会社
圧電アクチュエータ
8日前
キオクシア株式会社
半導体記憶装置
12日前
キオクシア株式会社
有機分子メモリ
12日前
ローム株式会社
半導体装置
今日
続きを見る
他の特許を見る