TOP
|
特許
|
意匠
|
商標
特許ウォッチ
Twitter
他の特許を見る
10個以上の画像は省略されています。
公開番号
2025161017
公報種別
公開特許公報(A)
公開日
2025-10-24
出願番号
2024063842
出願日
2024-04-11
発明の名称
光発電装置及びその製造方法
出願人
今泉工業株式会社
代理人
個人
主分類
H10F
19/00 20250101AFI20251017BHJP()
要約
【課題】光電変換素子を外部環境から遮断して封入し、空気中に存在する水分や酸素などの影響を受け、短期間で発電効率が劣化することを防止する。
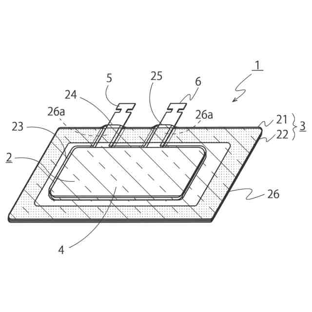
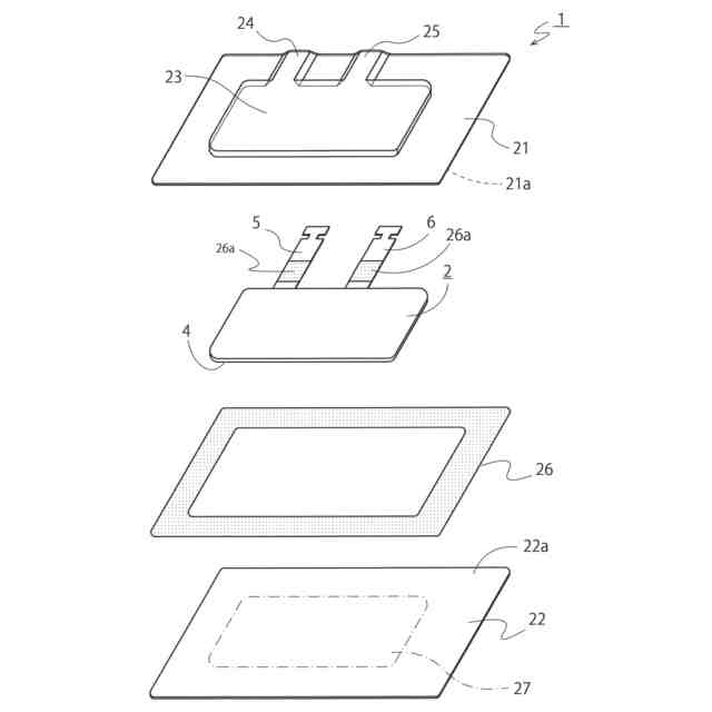
【解決手段】光電変換素子4と電力引き出し導体5、6とを備える光電変換モジュール2を、電力引き出し導体を外方に引き出した状態で封入してなる封入パネル3と備える。封入パネルは、光電変換素子を収納して重ね合わせ結合されて一体化される合成樹脂製の一対のパネルカバー21、22からなる。一対のパネルカバーは、光電変換素子の発電用の光が入射する面側に対向する少なくとも一方を、光透過性を有する合成樹脂材料により形成される。一対のパネルカバーは、互いに重ね合わせ結合される結合面にレーザー光接合用中間部材26が介在されて熱溶着され一体化されている。
【選択図】図1
特許請求の範囲
【請求項1】
光電変換素子と前記光電変換素子から導出された電力引き出し導体とを備える光電変換モジュールと、
前記電力引き出し導体を外方に引き出した状態で前記光電変換モジュールを封入してなる封入パネルと備え、
前記封入パネルは、前記光電変換素子を収納して重ね合わせ結合され一体化される合成樹脂製の一対のパネルカバーを有し、
前記一対のパネルカバーは、
前記収納される前記光電変換素子の発電用の光の入射面側に対向して配置される少なくとも一方を、光透過性を有する合成樹脂材料により形成されるとともに、
互いに重ね合わせ結合される結合面にレーザー光接合用中間部材が介在されて熱溶着され一体化され、
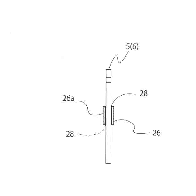
前記電力引き出し導体が、前記一対のパネルカバーの重ね合わせ結合面間から前記封入パネルの外方に引き出されている
ことを特徴とする光発電装置。
続きを表示(約 1,300 文字)
【請求項2】
前記一方のパネルカバーには、前記光電変換モジュールの光電変換素子が収納される素子収納部が設けられていることを特徴とする請求項1記載の光発電装置。
【請求項3】
前記電力引き出し導体の前記一対のパネルカバーの重ね合わせ結合面と対向する面にレーザー光接合用中間部材が被着されていることを特徴とする請求項1又は請求項2記載の光発電装置。
【請求項4】
前記電力引き出し導体は、金属接着剤を介して前記レーザー光接合用中間部材に接合されていることを特徴とする請求項3に記載の光発電装置。
【請求項5】
前記レーザー光接合用中間部材は、基材の片面又は両面に粘着層が設けられていることを特徴とする請求項1~3のいずれか1項に記載の光発電装置。
【請求項6】
前記封入パネルの内部には、不活性ガス、脱酸素剤及び/又は脱水蒸気剤のいずれか一以上が配設されていることを特徴とする請求項1~請求項5のいずれか1項に記載の光発電装置。
【請求項7】
前記封入パネルには、前記光電変換素子の相対向する両面、又は一方の面に透光面が設けられた光電変換モジュールが封入され、
前記封入パネルを構成する前記一対のパネルカバーの一方又は双方が光透過性を有する合成樹脂材料により形成されていることを特徴とする請求項1~6のいずれか1項に記載の光発電装置。
【請求項8】
光電変換素子と前記光電変換素子から導出された電力引き出し導体とを備える光電変換モジュールを備え、前記光電変換モジュールの前記電力引き出し導体を外方に引き出した状態で封入パネルに封入した光発電装置の製造方法であって、
互いに重ね合わせ結合されて前記封入パネルを構成する一対のパネルカバーの重ね合わせ結合面間にレーザー光接合用中間部材を介在するとともに、
前記一対のパネルカバーのうちの他方のパネルカバー上に、前記電力引き出し導体を外方に導出して前記光電変換モジュールを設置し、
次いで、前記他方のパネルカバー上に設置された前記光電変換モジュールの少なくとも光電変換素子を覆って、前記一対のパネルカバーのうちの一方のパネルカバーを前記他方のパネルカバー上に重ね合わせ、
その後、前記レーザー光接合用中間部材が介在されて重ね合わさられた前記一対のパネルカバーの重ね合わせ結合面にレーザー光を照射し、前記レーザー光接合用中間部材を加熱し、前記レーザー光接合用中間部材の加熱領域と接触する前記一対のパネルカバーの重ね合わせ結合面を加熱溶解して溶着し、前記の一対のパネルカバーを一体化し、前記光電変換モジュールを封入した封入パネルを作製した
ことを特徴とする光発電装置の製造方法。
【請求項9】
前記電力引き出し導体の前記レーザー光接合用中間部材との接合面には、金属接着剤が被着され、
前記電力引き出し導体は、前記金属接着剤を介して前記レーザー光接合用中間部材に接合されていること特徴とする請求項8記載の光発電装置の製造方法。
発明の詳細な説明
【技術分野】
【0001】
本発明は、光電変換素子を封入パネルに封入した光発電装置及びその製造方法に関する。
続きを表示(約 980 文字)
【背景技術】
【0002】
従来、光電効果を利用して光エネルギーを直接電気エネルギーに変換する光電変換素子を用いた各種の光発電装置が提案され実用化されている。
【0003】
この種の光発電装置として、シリコン系の発電素子や、ガリウムヒ素を用いた光電変換素子を用いたものが実用化されている。さらに、近年、前記発電素子に比し、光電変換効率の向上を図ったペロブスカイトの結晶構造を備えた光電変換素子を用いたペロブスカイト型の光発電装置が提案されている。
【0004】
太陽光を利用して発電を行う光発電装置を構成する各種の光電変換素子、特にペロブスカイト型の光電変換素子は、空気中に存在する水分や酸素などの影響を受け、短期間で発電効率を劣化させてしまう。
【0005】
そこで、光発電装置の耐久性を向上し、長寿命を図るため、光電変換素子を外部環境から保護する技術が提案されている。
【0006】
光電変換素子を外部環境から保護するための技術として、光電変換素子を収納した素子収納部を封止層で封止することにより密閉したものが提案されている。(特許文献1)
【0007】
さらに、ペロブスカイト型の光電変換素子を用いた光発電装置において、支持体上に設置した光電変換素子を、接着剤層により覆い、さらに、接着剤層を封止剤層により覆うようにしたものが提案されている。(特許文献2)
【先行技術文献】
【特許文献】
【0008】
特開2022-073832号公報
特開2023-067523号公報
【発明の概要】
【発明が解決しようとする課題】
【0009】
本発明の技術課題は、光電変換素子を外部環境から一層確実に遮断して、空気中に存在する水分や酸素などの影響を受け、短期間で発電効率が劣化することを抑制した光発電装置及びその製造方法を提供することにある。
【0010】
また、本発明の技術課題は、光電変換素子を封入パネルに封入する手段による影響を抑え、光電変換素子の発電効率の劣化を抑制し、一層の長寿命化を実現した光発電装置及びその製造方法を提供することにある。
(【0011】以降は省略されています)
この特許をJ-PlatPat(特許庁公式サイト)で参照する
関連特許
今泉工業株式会社
光発電装置及びその製造方法
7日前
個人
半導体装置
23日前
エイブリック株式会社
半導体装置
29日前
東レ株式会社
太陽電池モジュール
23日前
富士電機株式会社
半導体装置
1か月前
旭化成株式会社
発光素子
3日前
エイブリック株式会社
縦型ホール素子
17日前
エイブリック株式会社
縦型ホール素子
17日前
ローム株式会社
半導体装置
24日前
富士通株式会社
半導体装置
22日前
ローム株式会社
抵抗チップ
8日前
三菱電機株式会社
半導体装置
22日前
AGC株式会社
太陽電池モジュール
1か月前
三菱電機株式会社
半導体装置
2日前
株式会社半導体エネルギー研究所
表示装置
17日前
富士電機株式会社
半導体装置
14日前
日亜化学工業株式会社
発光素子
1か月前
ローム株式会社
半導体集積回路
2日前
日亜化学工業株式会社
発光装置
21日前
ミツミ電機株式会社
半導体装置
29日前
日亜化学工業株式会社
発光素子
22日前
日亜化学工業株式会社
発光装置
3日前
TDK株式会社
圧電素子
22日前
ローム株式会社
半導体装置
1か月前
ローム株式会社
TVSダイオード
1か月前
ローム株式会社
窒化物半導体装置
17日前
TDK株式会社
光検知装置
29日前
ローム株式会社
TVSダイオード
1か月前
株式会社東芝
熱電変換装置
1か月前
ローム株式会社
半導体装置
7日前
サンケン電気株式会社
半導体装置
28日前
富士電機株式会社
半導体装置の製造方法
16日前
ローム株式会社
窒化物半導体装置
8日前
デクセリアルズ株式会社
受光装置
28日前
ローム株式会社
半導体装置
9日前
株式会社半導体エネルギー研究所
発光デバイス
1日前
続きを見る
他の特許を見る