TOP
|
特許
|
意匠
|
商標
特許ウォッチ
Twitter
他の特許を見る
10個以上の画像は省略されています。
公開番号
2025163476
公報種別
公開特許公報(A)
公開日
2025-10-29
出願番号
2024066761
出願日
2024-04-17
発明の名称
半導体装置
出願人
三菱電機株式会社
代理人
個人
,
個人
主分類
H10D
30/66 20250101AFI20251022BHJP()
要約
【課題】半導体装置の短絡耐量の低下およびゲート信号の遅延を防止する。
【解決手段】半導体装置は、セル領域上に配置されたエミッタ電極(6)と、エミッタ電極(6)の外側に配置されたゲート配線(51)と、一端がゲート配線(51)に接続し、セル領域上を延伸するゲートフィンガー配線(61)とを備える。ゲートフィンガー配線(61)を挟んで隣り合うエミッタ電極(6)の間は、ゲートフィンガー配線(61)の他端とゲート配線(51)との間の領域に配置されたエミッタ電極連結部(71)により接続される。半導体基板には、ゲートフィンガー配線(61)に交差する第1アクティブトレンチゲート(111)と、エミッタ電極連結部(71)の下に位置する第1アクティブトレンチゲート(111)をゲートフィンガー配線(61)の下まで引き出す第2アクティブトレンチゲート(112)が形成されている。
【選択図】図1
特許請求の範囲
【請求項1】
半導体基板のセル領域に形成された複数のアクティブトレンチゲートと、
前記セル領域上に配置されたエミッタ電極と、
前記エミッタ電極の外側に配置され、複数の前記アクティブトレンチゲートと電気的に接続したゲート配線と、
前記ゲート配線と電気的に接続し、前記セル領域上を延伸するゲートフィンガー配線と、
を備え、
前記ゲートフィンガー配線の一端は前記ゲート配線に接続し、前記ゲートフィンガー配線の他端は前記ゲート配線には達しておらず、
前記ゲートフィンガー配線を挟んで隣り合う前記エミッタ電極の間は、前記ゲートフィンガー配線の前記他端と前記ゲート配線との間の領域に配置されたエミッタ電極連結部を通して電気的に接続されており、
前記アクティブトレンチゲートは、
前記ゲートフィンガー配線の延伸方向に交差する第1方向に延伸する第1アクティブトレンチゲートと、
前記エミッタ電極連結部の下に位置する前記第1アクティブトレンチゲートに接続し、前記ゲートフィンガー配線の延伸方向に平行な第2方向に延伸し、前記ゲートフィンガー配線または前記ゲート配線の下まで引き出された第2アクティブトレンチゲートと、
を含む、
半導体装置。
続きを表示(約 1,300 文字)
【請求項2】
前記第1アクティブトレンチゲートのピッチが2.4μmであり、
前記エミッタ電極連結部の前記第1方向の長さをx、前記エミッタ電極連結部の前記第2方向の長さをy、前記エミッタ電極連結部の厚みをz、前記エミッタ電極連結部の抵抗率をρとすると、
0.002x[ln(2x/(y+z))+0.2235((y+z)/x)+0.5]<5.0[μH]、および、
ρx/yz<7.5[mΩ]
の関係が満たされる、
請求項1に記載の半導体装置。
【請求項3】
前記第1アクティブトレンチゲートのピッチが4.0μmであり、
前記エミッタ電極連結部の前記第1方向の長さをx、前記エミッタ電極連結部の前記第2方向の長さをy、前記エミッタ電極連結部の厚みをz、前記エミッタ電極連結部の抵抗率をρとすると、
0.002x[ln(2x/(y+z))+0.2235((y+z)/x)+0.5]<2.5[μH]、および、
ρx/yz<3.0[mΩ]
の関係が満たされる、
請求項1に記載の半導体装置。
【請求項4】
前記エミッタ電極連結部の下に、隣り合う前記第1アクティブトレンチゲートの間を電気的に接続し、前記第2方向に延伸する第3アクティブトレンチゲートを備える、
請求項1から請求項3のいずれか一項に記載の半導体装置。
【請求項5】
前記第1アクティブトレンチゲートの間に配置されたダミートレンチゲートを備え、
前記ダミートレンチゲートは、前記第1方向に延伸し、前記第2アクティブトレンチゲートが配置された箇所で途切れたパターンを有する、
請求項1から請求項3のいずれか一項に記載の半導体装置。
【請求項6】
前記ゲートフィンガー配線の下まで引き出された前記第2アクティブトレンチゲートと、前記ゲート配線の下まで引き出された前記第2アクティブトレンチゲートとの両方を備える、
請求項1から請求項3のいずれか一項に記載の半導体装置。
【請求項7】
前記エミッタ電極連結部の下の前記半導体基板に、前記アクティブトレンチゲートよりも深いp型層が形成されている、
請求項1から請求項3のいずれか一項に記載の半導体装置。
【請求項8】
前記エミッタ電極連結部は、前記半導体基板に形成されたp型コンタクト層に接続されている、
請求項1から請求項3のいずれか一項に記載の半導体装置。
【請求項9】
前記アクティブトレンチゲートの幅は、前記エミッタ電極連結部の下において局所的に広くなっている、
請求項1から請求項3のいずれか一項に記載の半導体装置。
【請求項10】
前記エミッタ電極連結部の下に配置された前記アクティブトレンチゲートの角部は、ラウンド形状である、
請求項1から請求項3のいずれか一項に記載の半導体装置。
(【請求項11】以降は省略されています)
発明の詳細な説明
【技術分野】
【0001】
本開示は、半導体装置に関する。
続きを表示(約 2,500 文字)
【背景技術】
【0002】
表面側と裏面側とのそれぞれに電極を有し、縦方向、すなわち表面と裏面とを結ぶ方向に通電する縦型の半導体装置が知られている。例えば下記の特許文献1には、縦型の半導体装置の表面側の電極(以下「表面電極」という)が、ゲート信号をゲート電極へ伝達するための制御配線であるゲートライナーによって複数に分割された構成が開示されている。
【先行技術文献】
【特許文献】
【0003】
特開2006-210519号公報
【発明の概要】
【発明が解決しようとする課題】
【0004】
特許文献1のように、表面電極がゲートライナーによって複数に分割された半導体装置では、流れる電流がアンバランスになり、短絡耐量が低下しやすい。しかし、表面電極が分割されなようにゲートライナーを迂回させると、ゲート信号の遅延が懸念される。
【0005】
本開示は上記のような課題を解決するためになされたものであり、短絡耐量の低下およびゲート信号の遅延を防止することが可能な半導体装置を提供することを目的とする。
【課題を解決するための手段】
【0006】
本開示に係る半導体装置は、半導体基板のセル領域に形成された複数のアクティブトレンチゲートと、前記セル領域上に配置されたエミッタ電極と、前記エミッタ電極の外側に配置され、複数の前記アクティブトレンチゲートと電気的に接続したゲート配線と、前記ゲート配線と電気的に接続し、前記セル領域上を延伸するゲートフィンガー配線と、を備え、前記ゲートフィンガー配線の一端は前記ゲート配線に接続し、前記ゲートフィンガー配線の他端は前記ゲート配線には達しておらず、前記ゲートフィンガー配線を挟んで隣り合う前記エミッタ電極の間は、前記ゲートフィンガー配線の前記他端と前記ゲート配線との間の領域に配置されたエミッタ電極連結部を通して電気的に接続されており、前記アクティブトレンチゲートは、前記ゲートフィンガー配線の延伸方向に交差する第1方向に延伸する第1アクティブトレンチゲートと、前記エミッタ電極連結部の下に位置する前記第1アクティブトレンチゲートに接続し、前記ゲートフィンガー配線の延伸方向に平行な第2方向に延伸し、前記ゲートフィンガー配線または前記ゲート配線の下まで引き出された第2アクティブトレンチゲートと、を含む。
【発明の効果】
【0007】
本開示に係る半導体装置によれば、短絡耐量の低下およびゲート信号の遅延を防止することができる。
【図面の簡単な説明】
【0008】
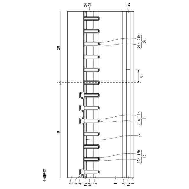
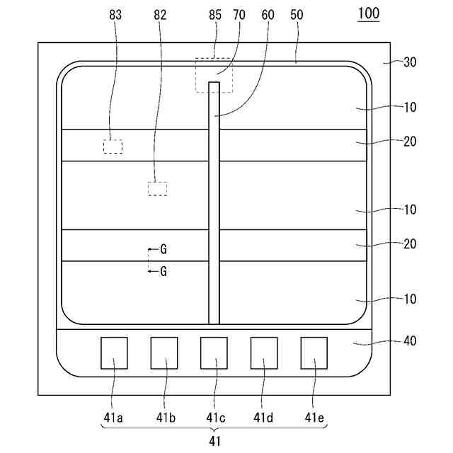
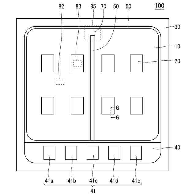
実施の形態1に係る半導体装置のチップの平面図である。
実施の形態1に係る半導体装置のチップの平面図である。
実施の形態1に係る半導体装置のIGBT領域の平面図である。
実施の形態1に係る半導体装置のIGBT領域の断面図である。
実施の形態1に係る半導体装置のIGBT領域の断面図である。
実施の形態1に係る半導体装置のダイオード領域の平面図である。
実施の形態1に係る半導体装置のダイオード領域の断面図である。
実施の形態1に係る半導体装置のダイオード領域の断面図である。
実施の形態1に係る半導体装置のIGBT領域とダイオード領域との境界の断面図である。
実施の形態1に係る半導体装置のエミッタ電極連結領域近傍の平面図である。
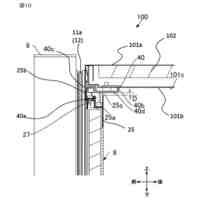
実施の形態1に係る半導体装置のエミッタ電極連結領域近傍の断面図である。
実施の形態2に係る半導体装置のエミッタ電極連結領域近傍の平面図である。
実施の形態2に係る半導体装置のエミッタ電極連結部の形状を示す図である。
実施の形態3に係る半導体装置のエミッタ電極連結領域近傍の平面図である。
実施の形態4に係る半導体装置のエミッタ電極連結領域近傍の平面図である。
実施の形態5に係る半導体装置のエミッタ電極連結領域近傍の平面図である。
実施の形態5に係る半導体装置のエミッタ電極連結領域近傍の断面図である。
実施の形態6に係る半導体装置のエミッタ電極連結領域近傍の平面図である。
実施の形態6に係る半導体装置のエミッタ電極連結領域近傍の断面図である。
実施の形態7に係る半導体装置のエミッタ電極連結領域近傍の平面図である。
実施の形態7に係る半導体装置のエミッタ電極連結領域近傍の断面図である。
実施の形態8に係る半導体装置のエミッタ電極連結領域近傍の平面図である。
実施の形態8に係る半導体装置のエミッタ電極連結領域近傍の断面図である。
実施の形態9に係る半導体装置のエミッタ電極連結領域近傍の平面図である。
実施の形態10に係る半導体装置のエミッタ電極連結領域近傍の平面図である。
実施の形態11に係る半導体装置のエミッタ電極連結領域近傍の断面図である。
実施の形態12に係る半導体装置のチップの平面図である。
【発明を実施するための形態】
【0009】
以下の説明において、nおよびpは半導体の導電型を示し、本開示においては、第1導電型をn型、第2導電型をp型として説明するが、第1導電型をp型、第2導電型をn型としてもよい。また、n
-
は不純物濃度がnよりも低濃度であることを示し、n
+
は不純物濃度がnよりも高濃度であることを示す。同様に、p
-
は不純物濃度がpよりも低濃度であることを示し、p
+
は不純物濃度がpよりも高濃度であることを示す。
【0010】
また、各領域の不純物濃度の高さはピーク濃度によって規定されるものとする。すなわち、不純物濃度が高い(または低い)領域とは、不純物のピーク濃度が高い(または低い)領域を意味する。
(【0011】以降は省略されています)
この特許をJ-PlatPat(特許庁公式サイト)で参照する
関連特許
三菱電機株式会社
扇風機
1日前
三菱電機株式会社
冷蔵庫
3日前
三菱電機株式会社
換気扇
16日前
三菱電機株式会社
換気扇
16日前
三菱電機株式会社
増幅器
7日前
三菱電機株式会社
換気扇
16日前
三菱電機株式会社
収集装置
14日前
三菱電機株式会社
空気調和機
9日前
三菱電機株式会社
半導体装置
2日前
三菱電機株式会社
保護リレー
2日前
三菱電機株式会社
ねじ締め装置
7日前
三菱電機株式会社
空調システム
7日前
三菱電機株式会社
点検管理装置
1日前
三菱電機株式会社
貯湯式給湯機
4日前
三菱電機株式会社
貯湯式給湯機
3日前
三菱電機株式会社
炊飯システム
3日前
三菱電機株式会社
調理システム
3日前
三菱電機株式会社
樹脂成形用金型
7日前
三菱電機株式会社
レンズモジュール
14日前
三菱電機株式会社
全館空調システム
14日前
三菱電機株式会社
道路情報補正装置
9日前
三菱電機株式会社
運転支援システム
1日前
三菱電機株式会社
ヒートポンプ装置
10日前
三菱電機株式会社
電池パック及び電池
9日前
三菱電機株式会社
人流情報取得システム
3日前
三菱電機株式会社
点灯装置および照明装置
1日前
三菱電機株式会社
高周波増幅器モジュール
4日前
三菱電機株式会社
点灯装置および照明器具
14日前
三菱電機株式会社
測位システムおよび固定局
15日前
三菱電機株式会社
半導体装置及び電力変換装置
4日前
三菱電機株式会社
配光制御レンズ及び照明装置
7日前
三菱電機株式会社
プロペラファン、及び送風機
3日前
三菱電機株式会社
半導体ウェハの外観検査装置
15日前
三菱電機株式会社
冷凍サイクル装置及び制御装置
7日前
三菱電機株式会社
半導体装置および電力変換装置
10日前
三菱電機株式会社
制御システム、及び、表示方法
7日前
続きを見る
他の特許を見る