TOP
|
特許
|
意匠
|
商標
特許ウォッチ
Twitter
他の特許を見る
10個以上の画像は省略されています。
公開番号
2025159501
公報種別
公開特許公報(A)
公開日
2025-10-21
出願番号
2024062103
出願日
2024-04-08
発明の名称
太陽電池
出願人
大日本印刷株式会社
代理人
個人
,
個人
,
個人
主分類
H10K
30/50 20230101AFI20251014BHJP()
要約
【課題】光電変換効率の低下を抑制しつつ、太陽電池の厚みを薄くすることが可能な、太陽電池を提供する。
【解決手段】太陽電池10は、第1面31と、第1面31の反対側に位置する第2面32とを有する光学部材30と、光学部材30の第2面32側に設けられたセル構成部20とを備えている。光学部材30の第2面32に、複数の凸部37が形成されている。各々の凸部37は、第1方向d1に沿って延びるとともに、第1方向d1に直交する第2方向d2に沿って配列されている。セル構成部20の厚みTは、凸部37の高さHよりも薄い。セル構成部20は、凸部37間に入り込んでいる。
【選択図】図5
特許請求の範囲
【請求項1】
第1面と、前記第1面の反対側に位置する第2面とを有する光学部材と、
前記光学部材の前記第2面側に設けられたセル構成部とを備え、
前記光学部材の前記第2面に、複数の凸部が形成され、
各々の前記凸部は、第1方向に沿って延びるとともに、前記第1方向に直交する第2方向に沿って配列されており、
前記セル構成部の厚みは、前記凸部の高さよりも薄く、
前記セル構成部は、前記凸部間に入り込んでいる、太陽電池。
続きを表示(約 370 文字)
【請求項2】
前記凸部は、レンチキュラーレンズを構成する、請求項1に記載の太陽電池。
【請求項3】
前記第1面に、複数のプリズム部が形成されている、請求項1に記載の太陽電池。
【請求項4】
各々の前記プリズム部は、前記第2方向に直交する断面において、前記第1方向の一方を向く第1傾斜面と、前記第2方向に直交する断面において、前記第1方向の他方を向く第2傾斜面とを含み、
前記第1傾斜面は、前記第2傾斜面よりも大きい、請求項3に記載の太陽電池。
【請求項5】
前記セル構成部は、ペロブスカイト型化合物を含む、請求項1に記載の太陽電池。
【請求項6】
前記セル構成部の前記光学部材側とは反対側に設けられた拡散反射シートを更に備える、請求項1に記載の太陽電池。
発明の詳細な説明
【技術分野】
【0001】
本開示は、太陽電池に関する。
続きを表示(約 1,500 文字)
【背景技術】
【0002】
環境への負荷が少ない発電方式として、太陽光発電が知られている。この太陽光発電には、太陽電池が用いられる。太陽電池は、光を電気に変換する電池である。太陽電池には、無機太陽電池と有機太陽電池とが知られている。このうち有機太陽電池には、製造コストが低いこと等の利点がある。
【先行技術文献】
【特許文献】
【0003】
特開2014-192265号公報
【発明の概要】
【発明が解決しようとする課題】
【0004】
従来の太陽電池は、十分に薄いとはいえない。また、従来の太陽電池を薄くすると、光を電気に変換する部材が薄くなる。光を電気に変換する部材を薄くした場合、当該部材が光を十分に吸収しない場合がある。この場合、太陽電池の光電変換効率が低下する。
【0005】
本開示は、以上の点を考慮してなされたものであって、光電変換効率の低下を抑制しつつ、太陽電池の厚みを薄くすることが可能な、太陽電池を提供することを目的とする。
【課題を解決するための手段】
【0006】
本開示の太陽電池は、
第1面と、前記第1面の反対側に位置する第2面とを有する光学部材と、
前記光学部材の前記第2面側に設けられたセル構成部とを備え、
前記光学部材の前記第2面に、複数の凸部が形成され、
各々の前記凸部は、第1方向に沿って延びるとともに、前記第1方向に直交する第2方向に沿って配列されており、
前記セル構成部の厚みは、前記凸部の高さよりも薄く、
前記セル構成部は、前記凸部間に入り込んでいる。
【発明の効果】
【0007】
本開示によれば、光電変換効率の低下を抑制しつつ、太陽電池の厚みを薄くできる。
【図面の簡単な説明】
【0008】
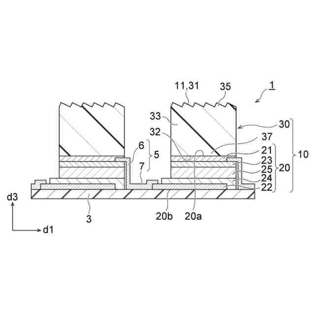
図1は、一実施の形態による太陽光発電システムを示す平面図である。
図2は、一実施の形態による太陽光発電システムを示す断面図(図1のII-II線断面図)である。
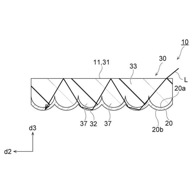
図3は、一実施の形態による光学部材を示す斜視図である。
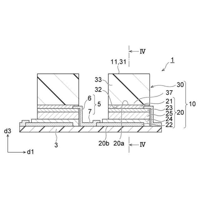
図4は、一実施の形態による太陽電池を示す断面図(図2のIV-IV線断面図)である。
図5は、太陽電池に入射した光の光路を示す断面図である。
図6は、一実施の形態による太陽電池の変形例を示す断面図である。
図7は、一実施の形態による太陽光発電システムの変形例を示す断面図である。
図8は、一実施の形態による光学部材を示す斜視図である。
図9は、一実施の形態による光学部材を示す断面図(図8のIX-IX線断面図)である。
【発明を実施するための形態】
【0009】
以下、図面を参照して本開示の一実施の形態について説明する。本件明細書に添付する図面においては、図示と理解のしやすさの便宜上、適宜縮尺及び縦横の寸法比等を、実物のそれらから変更し誇張してある。一部の図において示された構成等が、他の図において省略されていることもある。
【0010】
本明細書において、形状又は幾何学的条件、及び、形状等の程度を特定する、例えば、「平行」、「直交」、「同一」等の用語、又は、長さ若しくは角度の値等は、厳密な意味に限定されることなく、同様の機能を期待し得る程度の範囲を含めて解釈される。
(【0011】以降は省略されています)
この特許をJ-PlatPat(特許庁公式サイト)で参照する
関連特許
個人
半導体装置
14日前
エイブリック株式会社
半導体装置
20日前
東レ株式会社
太陽電池モジュール
14日前
エイブリック株式会社
縦型ホール素子
8日前
エイブリック株式会社
縦型ホール素子
8日前
富士通株式会社
半導体装置
13日前
ローム株式会社
半導体装置
15日前
富士電機株式会社
半導体装置
5日前
株式会社半導体エネルギー研究所
表示装置
8日前
三菱電機株式会社
半導体装置
13日前
TDK株式会社
圧電素子
13日前
ミツミ電機株式会社
半導体装置
20日前
日亜化学工業株式会社
発光素子
13日前
日亜化学工業株式会社
発光装置
12日前
サンケン電気株式会社
半導体装置
19日前
富士電機株式会社
半導体装置の製造方法
7日前
デクセリアルズ株式会社
受光装置
19日前
ローム株式会社
半導体装置
今日
TDK株式会社
光検知装置
20日前
ローム株式会社
窒化物半導体装置
8日前
キオクシア株式会社
記憶装置
19日前
沖電気工業株式会社
発光装置及び表示装置
14日前
内山工業株式会社
太陽電池
19日前
株式会社カネカ
太陽電池モジュール
12日前
大日本印刷株式会社
太陽電池
1日前
日本電気株式会社
超伝導量子回路装置
13日前
サンケン電気株式会社
発光装置
12日前
株式会社MARUWA
発光装置及び照明器具
12日前
ローム株式会社
光センサ
6日前
ローム株式会社
RAM
12日前
一般財団法人電力中央研究所
熱化学電池
14日前
ローム株式会社
半導体装置
12日前
キオクシア株式会社
有機分子メモリ
19日前
キオクシア株式会社
半導体記憶装置
19日前
株式会社Gaianixx
積層構造体及び電子デバイス
8日前
住友化学株式会社
発光素子
8日前
続きを見る
他の特許を見る