TOP
|
特許
|
意匠
|
商標
特許ウォッチ
Twitter
他の特許を見る
公開番号
2025165487
公報種別
公開特許公報(A)
公開日
2025-11-05
出願番号
2024069547
出願日
2024-04-23
発明の名称
シート製造装置
出願人
セイコーエプソン株式会社
代理人
個人
,
個人
,
個人
主分類
D04H
1/736 20120101AFI20251028BHJP(組みひも;レース編み;メリヤス編成;縁とり;不織布)
要約
【課題】シート製造装置において、シート搬送の異常により装置の稼働を停止した後の再稼働に、時間を要する虞がある。
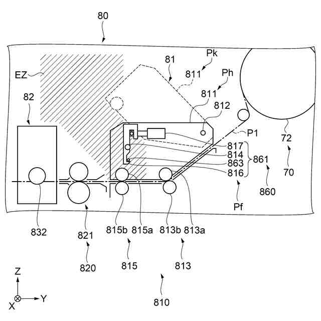
【解決手段】シート製造装置1は、シートを成形するシート成形ユニット70と、シートを搬送経路に沿って搬送する搬送ユニット80と、を備え、搬送ユニット80は、シートを搬送する複数の搬送ローラーと、搬送ユニット80内でシートの搬送に伴って生じた異常を検知するシートセンサー850と、搬送経路の上方に設置され、回転軸812の軸周りに回動可能なカバー811と、カバー811を回動させる駆動モーター872と、を有し、カバー811は、搬送経路の上方を開放する開放位置Pkと搬送経路の上方を覆う閉鎖位置Phとの間を移動し、シートセンサー850がシートの搬送に伴って生じた異常を検知した場合に、駆動モーター872が回転駆動されることで、カバー811が閉鎖位置Phから開放位置Pkに移動する。
【選択図】図3
特許請求の範囲
【請求項1】
繊維を含む材料を、堆積させた後に圧縮することでシートを成形するシート成形ユニットと、
前記シートを搬送経路に沿って搬送する搬送ユニットと、
を備えるシート製造装置であって、
前記搬送ユニットは、
前記シートを搬送する複数の搬送ローラーと、
前記搬送ユニット内で前記シートの搬送に伴って生じた異常を検知する異常検知センサーと、
前記搬送経路の上方に設置され、回転軸の軸周りに回動可能であるカバーと、
回転駆動されることで、前記カバーを回動させる駆動モーターと、
を有し、
前記カバーは、前記搬送経路の上方を開放する開放位置と、前記搬送経路の上方を覆う閉鎖位置との間を移動し、
前記異常検知センサーが前記シートの搬送に伴って生じた異常を検知した場合に、前記駆動モーターが回転駆動されることで、前記カバーが前記閉鎖位置から前記開放位置に移動する、
ことを特徴とするシート製造装置。
続きを表示(約 1,000 文字)
【請求項2】
固定ピンと、
前記カバーに設けられるフックであって、回動することで前記固定ピンとの係合が解除される前記フックと、
前記フックに接続され、駆動されることで前記フックを回動させるソレノイドと、
をさらに備え、
前記固定ピンとの前記フックの係合が解除されることで、前記閉鎖位置から前記開放位置への前記カバーの移動が可能となり、
前記異常検知センサーが前記シートの搬送に伴って生じた異常を検知した場合に、前記ソレノイドが駆動されることで、前記固定ピンとの前記フックの係合が解除される、
ことを特徴とする請求項1に記載のシート製造装置。
【請求項3】
前記カバーに取り付けられる前記回転軸であって、回転可能に支持されることで、前記カバーが前記軸周りに回動する前記回転軸と、
前記回転軸の前記軸周りの回動を規制する連結部と、
をさらに備え、
前記連結部は、
前記カバーが前記閉鎖位置から前記開放位置に移動するときの前記回転軸の回動を許容し、
前記カバーが前記開放位置から前記閉鎖位置に移動するときの前記回転軸の回動を規制する、
ことを特徴とする請求項1に記載のシート製造装置。
【請求項4】
前記駆動モーターの駆動力を前記回転軸に伝達する伝達歯車をさらに備え、
前記連結部は、前記伝達歯車と前記回転軸との間に設けられるワンウェイヒンジである、
ことを特徴とする請求項3に記載のシート製造装置。
【請求項5】
前記複数の搬送ローラーは、第1搬送ローラーと、前記第1搬送ローラーよりも前記搬送経路における下流側に設置された第2搬送ローラーとを含み、
前記搬送ユニットは、前記第1搬送ローラーが設置された上流側搬送ユニットと、前記第2搬送ローラーが設置された下流側搬送ユニットと、を有し、
前記カバー及び前記駆動モーターは、前記上流側搬送ユニットに設置される、
ことを特徴とする請求項1に記載のシート製造装置。
【請求項6】
前記第1搬送ローラーは、一対の上側ローラー及び下側ローラーにより構成され、
前記上側ローラーは、前記カバーに設置される、
ことを特徴とする請求項5に記載のシート製造装置。
発明の詳細な説明
【技術分野】
【0001】
本開示は、シート製造装置に関する。
続きを表示(約 2,000 文字)
【背景技術】
【0002】
特許文献1には、解繊部と、ウェブ形成部と、シート形成部と、カッター部と、制御部と、を備えるシート製造装置が開示されている。解繊部は、繊維を含む原料を大気中で解繊する。ウェブ形成部は、解繊部で解繊された解繊物を堆積させることでウェブを形成する。シート形成部は、ウェブ形成部で形成されたウェブからシートを形成する。カッター部は、シート形成部で形成されたシートを予め設定されたサイズに切断する。制御部は、装置の稼働を停止する場合に、各部の動作を停止させる順序やタイミングを適正化する。
【先行技術文献】
【特許文献】
【0003】
WO2018/043030号
【発明の概要】
【発明が解決しようとする課題】
【0004】
特許文献1のシート製造装置では、解繊、堆積、シート形成、シート切断等の各工程を担う各部の機構が互いに連動している。例えば、解繊物、ウェブ、シート等の搬送不良の発生により装置の稼働を停止すると、各部の動作を停止させる過程やタイミングを適正化している場合も、各部に残留量が不明な材料や仕掛品が滞留する。このため、特許文献1のシート製造装置では、シート等の搬送の異常により装置の稼働を停止した後の再稼働に、時間を要する虞がある。また、装置の稼働を停止した後の再稼働において、サービスマンの対応が必要となる虞がある。
【課題を解決するための手段】
【0005】
シート製造装置は、繊維を含む材料を、堆積させた後に圧縮することでシートを成形するシート成形ユニットと、前記シートを搬送経路に沿って搬送する搬送ユニットと、を備えるシート製造装置であって、前記搬送ユニットは、前記シートを搬送する複数の搬送ローラーと、前記搬送ユニット内で前記シートの搬送に伴って生じた異常を検知する異常検知センサーと、前記搬送経路の上方に設置され、回転軸の軸周りに回動可能であるカバーと、回転駆動されることで、前記カバーを回動させる駆動モーターと、を有し、前記カバーは、前記搬送経路の上方を開放する開放位置と、前記搬送経路の上方を覆う閉鎖位置との間を移動し、前記異常検知センサーが前記シートの搬送に伴って生じた異常を検知した場合に、前記駆動モーターが回転駆動されることで、前記カバーが前記閉鎖位置から前記開放位置に移動する。
【図面の簡単な説明】
【0006】
実施形態に係るシート製造装置の構成を示す模式図。
搬送ユニットの構成を示す模式図。
上流側搬送ユニットの構成を示す模式図。
開放機構の構成を示す模式図。
開放動作の各ステップを示すフロー図。
上流側搬送ユニットの開放動作、及びシート退避部の機能を示す模式図。
開放機構の構成を示す模式図。
開放機構の構成を示す模式図。
【発明を実施するための形態】
【0007】
以下の実施形態では、本発明のシート製造装置として、繊維を含む材料である古紙などを乾式にてシートに再生するシート製造装置1を例示する。以下、シート製造装置1について、図面を参照して説明する。本発明のシート製造装置は、乾式であることに限定されず、湿式であってもよい。本明細書において乾式とは、液体中で実施されずに、大気などの空気中で実施されることをいう。
【0008】
各図において同一部材には同一符号を付し、重複する説明は省略する。本明細書に記載する場合の「同じ」、「同一」、「同時」は、完全に同じであることのみを指さない。例えば、本明細書において、「同じ」、「同一」、「同時」と記載する場合には、測定誤差を考慮して同じである場合を含むものとする。また、例えば、本明細書において、「同じ」、「同一」、「同時」と記載する場合には、部材の製造ばらつきを考慮して同じである場合を含むものとする。
【0009】
本明細書において、「同じ」、「同一」、「同時」と記載する場合には、機能を損なわない範囲で同じである場合を含むものとする。よって、例えば、「両者の寸法が同じである」とは、測定誤差、部材の製造ばらつきを考慮し、両者の寸法差が、一方の寸法の±5パーセント以内、特に好ましくは±3パーセント以内であることを指す。
【0010】
各図においてX、Y、Zは、互いに直交する3つの空間軸を表している。本明細書では、これらの軸に沿った方向をX軸方向、Y軸方向及びZ軸方向とする。向きを特定する場合には、正の方向を「+」、負の方向を「-」として、方向表記に正負の符合を併用し、各図の矢印が向かう向きを+方向、矢印の反対方向を-方向として説明する。
(【0011】以降は省略されています)
この特許をJ-PlatPat(特許庁公式サイト)で参照する
関連特許
セイコーエプソン株式会社
記録装置
1日前
セイコーエプソン株式会社
情報処理装置
13日前
セイコーエプソン株式会社
振動デバイス
1日前
セイコーエプソン株式会社
シート製造装置
13日前
セイコーエプソン株式会社
シート製造装置
1日前
セイコーエプソン株式会社
プロジェクター
7日前
セイコーエプソン株式会社
三次元造形装置
今日
セイコーエプソン株式会社
シート製造装置
1日前
セイコーエプソン株式会社
シート製造装置
1日前
セイコーエプソン株式会社
慣性センサーモジュール
1日前
セイコーエプソン株式会社
液体吐出ヘッドの製造方法
8日前
セイコーエプソン株式会社
振動素子、振動子、及び発振器
8日前
セイコーエプソン株式会社
物理量センサー及び物理量検出装置
10日前
セイコーエプソン株式会社
捺染用インクジェットインク組成物
2日前
セイコーエプソン株式会社
射出成形用材料とその樹脂の選定方法
9日前
セイコーエプソン株式会社
液体吐出装置、液体吐出装置の制御方法
2日前
セイコーエプソン株式会社
シート製造装置、およびシート製造方法
8日前
セイコーエプソン株式会社
媒体搬送装置、画像読取装置、印刷装置
2日前
セイコーエプソン株式会社
管理システム、情報処理装置及び管理方法
7日前
セイコーエプソン株式会社
物理量検出装置及び物理量検出装置の製造方法
13日前
セイコーエプソン株式会社
記録装置、積載装置、及び記録装置の制御方法
今日
セイコーエプソン株式会社
液体吐出システム、液体吐出システムの制御方法
1日前
セイコーエプソン株式会社
テープ印刷装置およびテープ印刷装置の制御方法
9日前
セイコーエプソン株式会社
画像処理装置、画像ファイル生産方法、及びプログラム
2日前
セイコーエプソン株式会社
温度特性補正方法、温度特性補正装置およびセンサーデバイス
2日前
セイコーエプソン株式会社
記録装置及び記録方法
1日前
セイコーエプソン株式会社
ベイパーチャンバー、冷却装置、電子機器、波長変換装置及びプロジェクター
今日
セイコーエプソン株式会社
ベイパーチャンバー、冷却装置、電子機器、波長変換装置及びプロジェクター
今日
セイコーエプソン株式会社
自動原稿送り機能付きスキャナー、スキャンデータ生産方法、及び印刷物生産方法
9日前
セイコーエプソン株式会社
自動原稿送り機能付きスキャナー、スキャンデータ生産方法、及び印刷物生産方法
10日前
セイコーエプソン株式会社
放射線硬化型インクジェット組成物及び記録方法
7日前
セイコーエプソン株式会社
画像読取装置、記録装置、フレキシブルフラットケーブル、フレキシブルフラットケーブルの製造方法、及び画像読取装置の製造方法
7日前
東レ株式会社
編地
4か月前
東レ株式会社
不織布の製造装置
28日前
日本エステル株式会社
クッション体
2か月前
東レ株式会社
編物、繊維製品および詰め物
4か月前
続きを見る
他の特許を見る