TOP
|
特許
|
意匠
|
商標
特許ウォッチ
Twitter
他の特許を見る
10個以上の画像は省略されています。
公開番号
2025161377
公報種別
公開特許公報(A)
公開日
2025-10-24
出願番号
2024064511
出願日
2024-04-12
発明の名称
シート製造装置
出願人
セイコーエプソン株式会社
代理人
個人
,
個人
,
個人
主分類
D04H
1/736 20120101AFI20251017BHJP(組みひも;レース編み;メリヤス編成;縁とり;不織布)
要約
【課題】複数ユニット間の連結を位置精度良く設置できる連結構造を備えたシート製造装置を提供すること。
【解決手段】シート製造装置は、第1ユニットと、前記第1ユニットと連結される第2ユニットとを含む複数のユニットで構成され、前記第1ユニットは、差込部材を有し、前記第2ユニットは、前記差込部材に対応する位置に接合部材を有し、前記差込部材は、底面から先細に傾斜する第1傾斜部を有し、前記接合部材は、前記差込部材の前記第1傾斜部が滑走し得る第1受け部を有し、前記第1ユニットと前記第2ユニットとは、前記差込部材の前記底面が前記第1受け部に乗り上げた状態で連結される。
【選択図】図1
特許請求の範囲
【請求項1】
第1ユニットと、前記第1ユニットと連結される第2ユニットとを含む複数のユニットで構成され、
前記第1ユニットは、差込部材を有し、
前記第2ユニットは、前記差込部材に対応する位置に接合部材を有し、
前記差込部材は、底面から先細に傾斜する第1傾斜部を有し、前記接合部材は、前記差込部材の前記第1傾斜部が滑走し得る第1受け部を有し、
前記第1ユニットと前記第2ユニットとは、前記差込部材の前記底面が前記第1受け部に乗り上げた状態で連結される、
シート製造装置。
続きを表示(約 520 文字)
【請求項2】
前記差込部材は、前記第1ユニットの奥行方向において複数設けられ、
前記第2ユニットには、前記複数の前記差込部材と対応する位置に、複数の前記接合部材が設けられる、
請求項1に記載のシート製造装置。
【請求項3】
前記差込部材は、側面から先細に傾斜する第2傾斜部を有し、
前記接合部材は、前記第1受け部から立設し、前記第2傾斜部が滑走し得る第2受け部を有し、
前記第1ユニットと前記第2ユニットとは、前記差込部材の前記側面が前記第2受け部に当接した状態で連結される、
請求項2に記載のシート製造装置。
【請求項4】
前記接合部材は、前記奥行方向に移動可能な位置決め部材をさらに備え、
前記差込部材は、前記位置決め部材が篏合され得る位置決め溝を有し、
前記差込部材の前記底面が前記第1受け部に乗り上げた状態において、
前記位置決め部材は、前記差込部材の前記位置決め溝に篏合される、
請求項3に記載のシート製造装置。
【請求項5】
前記差込部材は、脱着可能に設けられる、
請求項4に記載のシート製造装置。
発明の詳細な説明
【技術分野】
【0001】
本発明は、シート製造装置に関する。
続きを表示(約 2,300 文字)
【背景技術】
【0002】
古紙などの紙片から乾式でシートを製造するシート製造装置は、紙片を乾式で解繊する繊維部、解繊された繊維を分別する分離部、結着材などの添加剤を繊維に混合する混合部、混合物を堆積させてウェブを生成する堆積部、ウェブを圧縮し帯状のシートに成形する成形部および処理ローラー、シートを切断する切断部などの複数部位から構成される大型装置である。このようなシート製造装置をオフィスビル等に設置するためには、装置を複数ユニットに分割して搬入した後、連結して設置することになる。設置に際しては、シート製造装置の性能確保のために、各ユニット間における連結位置を精度良く設置する必要があった。
【0003】
例えば、特許文献1には、第1のステーションと第2のステーションとを2つの連結部により連結した画像形成装置が開示されている。当該文献によれば、連結構成では、長穴形状の位置決め穴に位置決めピンを挿入することにより、高さZ方向の位置決めを行う、としている。
【先行技術文献】
【特許文献】
【0004】
特開2023-144571号公報
【発明の概要】
【発明が解決しようとする課題】
【0005】
しかしながら、特許文献1の連結構成では、高さ方向の位置精度の確保が困難であるという課題があった。詳しくは、高さZ方向の位置決めは、長穴にピンが篏合する構造であるため、精度を必要とする構造には適さなかった。
つまり、複数ユニット間の連結を位置精度良く設置できる連結構造を備えたシート製造装置が求められていた。
【課題を解決するための手段】
【0006】
本願の一態様に係るシート製造装置は、第1ユニットと、前記第1ユニットと連結される第2ユニットとを含む複数のユニットで構成され、前記第1ユニットは、差込部材を有し、前記第2ユニットは、前記差込部材に対応する位置に接合部材を有し、前記差込部材は、底面から先細に傾斜する第1傾斜部を有し、前記接合部材は、前記差込部材の前記第1傾斜部が滑走し得る第1受け部を有し、前記第1ユニットと前記第2ユニットとは、前記差込部材の前記底面が前記第1受け部に乗り上げた状態で連結される。
【図面の簡単な説明】
【0007】
実施形態1に係るシート製造装置の概要を示す側面図。
第1ユニットを後方から見た斜視図。
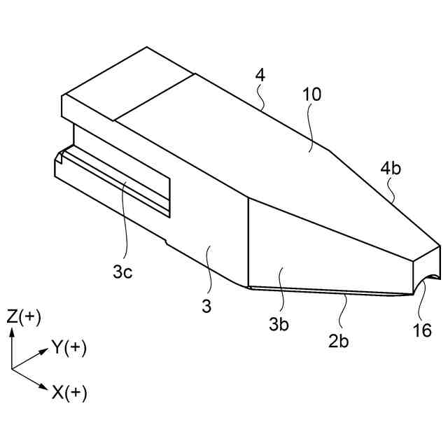
差込部材の拡大斜視図。
差込部材をXプラス方向から見た平面図。
差込部材単品の斜視図。
差込部材をYプラス方向から見た側面図。
第2ユニットを前方から見た斜視図。
接合部材周辺の拡大斜視図。
第1受け部の拡大斜視図。
第2受け部の拡大斜視図。
連結時における初期態様を示す側面図。
連結時の態様を示す側面図。
連結時の態様を示す要部の透過斜視図。
連結時における第1接合部材の斜視図。
連結時の態様を示す要部の側断面図。
シート製造装置の概略構成図。
【発明を実施するための形態】
【0008】
実施形態1
***シート製造装置の設置態様***
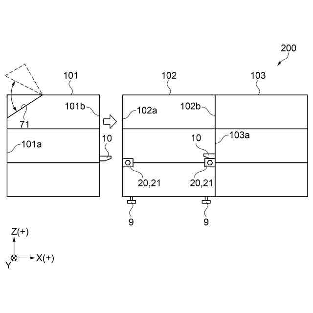
図1は、実施形態1に係るシート製造装置の概要を示す側面図である。図2は、第1ユニットを後方から見た斜視図である。
本実施形態のシート製造装置200は、古紙などの紙片から乾式でシートを製造するシート製造装置である。図1に示すように、シート製造装置200は、第1ユニット101、第2ユニット102、第3ユニット103をこの順番に連結して構成されている。なお、シート製造装置200の詳細は、後述する。
【0009】
なお、各図には、互いに直交する3軸であるX軸、Y軸およびZ軸を図示している。本実施形態では、第1ユニット101、第2ユニット102、第3ユニット103が連結する方向をX方向とし、第1ユニット101の高さ方向をZプラス方向としている。また、X軸に沿った方向を「X方向」、Y軸に沿った方向を「Y方向」、Z軸に沿った方向を「Z方向」という。例えば、X方向とは、Xプラス方向とXマイナス方向との両方の方向をいう。本実施形態では、Z方向は高さ方向であり、鉛直方向と一致している。Z方向プラス側を「上」、Z方向マイナス側を「下」ともいう。X方向は連結方向であり、Y方向は奥行方向である。また、以下の各図においては、説明を分かりやすくするため、実際とは異なる寸法や尺度で記載している場合がある。
【0010】
図1は、シート製造装置200を、例えば、オフィスビルの3階に設置する際の一態様を示しており、第2ユニット102と第3ユニット103とは既に連結済みで、第1ユニット101を第2ユニット102に連結する前段階の状態を示している。
オフィスビルの3階にシート製造装置200を設置する場合、各ユニットを1台ずつエレベーターを使って搬送し、3階の設置場所まで搬入する。
図1では、第2ユニット102が連結の基準ユニットであり、Xマイナス側の前面102aと、Xプラス側の後面102bとに、それぞれ第1接合部材20および第2接合部材21を備えている。
第1ユニット101は、Xプラス側の後面101bに一対の差込部材10を備えている。第3ユニット103は、Xマイナス側の前面103aに一対の差込部材10を備えている。
(【0011】以降は省略されています)
この特許をJ-PlatPat(特許庁公式サイト)で参照する
関連特許
東レ株式会社
編地
3か月前
東レ株式会社
不織布の製造装置
20日前
日本エステル株式会社
クッション体
1か月前
東レ株式会社
編物、繊維製品および詰め物
4か月前
株式会社ワコール
充填材
4か月前
グンゼ株式会社
編地及び繊維製品
22日前
東レ株式会社
不織布およびエアフィルター濾材
4か月前
ユニチカ株式会社
化粧料含浸用基布の製造方法
2か月前
モリト株式会社
紐体を用いた連結体
2か月前
ユニチカトレーディング株式会社
油吸着材用不織布
1か月前
セーレン株式会社
緯編地
4か月前
東洋紡エムシー株式会社
農作物保護用生分解性不織布。
20日前
東レ株式会社
不織布の製造装置および不織布の製造方法
1か月前
日本製紙クレシア株式会社
ローション不織布
2か月前
株式会社島精機製作所
編地の編成方法、および編地
1か月前
株式会社島精機製作所
編地の編成方法、および編地
2か月前
セイコーエプソン株式会社
シート製造装置
5日前
セイコーエプソン株式会社
シート成形装置
5か月前
帝人フロンティア株式会社
しみ防止布帛および繊維製品
4か月前
セイコーエプソン株式会社
シート製造装置
4か月前
セイコーエプソン株式会社
シート製造装置
8日前
セイコーエプソン株式会社
シート製造装置
8日前
セイコーエプソン株式会社
シート製造装置
4か月前
株式会社ヴィオレッタ
メッシュ経編地及び繊維製品
3か月前
ユニチカ株式会社
シート
3か月前
花王株式会社
吸収性物品用不織布
28日前
大和紡績株式会社
積層不織布、および液体含浸シート
19日前
日本製紙クレシア株式会社
複合型不織布
1か月前
東レ株式会社
エレクトレットメルトブロー不織布およびその製造方法
1か月前
日本毛織株式会社
編地及び衣類
1か月前
東レ株式会社
不織布およびその製造方法ならびに積層体、衣料、雑貨
1か月前
東洋紡エムシー株式会社
肌への密着性に優れるフェイスマスク用基材
26日前
東洋紡エムシー株式会社
生分解性不織布、その用途及びその製造方法。
1か月前
セイコーエプソン株式会社
二酸化炭素排出量の管理方法
4か月前
帝人フロンティア株式会社
中綿および中綿評価方法および詰め物製品
3か月前
東レ・ファインケミカル株式会社
メルトブロー不織布およびマスク濾材
15日前
続きを見る
他の特許を見る