TOP
|
特許
|
意匠
|
商標
特許ウォッチ
Twitter
他の特許を見る
公開番号
2025165229
公報種別
公開特許公報(A)
公開日
2025-11-04
出願番号
2024069206
出願日
2024-04-22
発明の名称
媒体搬送装置、画像読取装置、印刷装置
出願人
セイコーエプソン株式会社
代理人
個人
,
個人
主分類
B65H
5/06 20060101AFI20251027BHJP(運搬;包装;貯蔵;薄板状または線条材料の取扱い)
要約
【課題】設計の制約を低減できる媒体搬送装置、画像読取装置、印刷装置を提供する。
【解決手段】媒体に接触して回転する回転体30と、回転体30が取付けられ、回転体30を回転させる導電性の回転軸31と、回転軸31を回転可能に保持する軸受40と、回転軸31の軸方向において、回転体30と軸受40との間に設けられ、回転軸31に当接可能な導電性の当接部42と、当接部42を接地する接地部材53と、を備える。
【選択図】図4
特許請求の範囲
【請求項1】
媒体に接触して回転する回転体と、
前記回転体が取付けられ、前記回転体を回転させる導電性の回転軸と、
前記回転軸を回転可能に保持する軸受と、
前記回転軸の軸方向において、前記回転体と前記軸受との間に設けられ、前記回転軸に当接可能な導電性の当接部と、
前記当接部を接地する接地部材と、
を備えることを特徴とする媒体搬送装置。
続きを表示(約 950 文字)
【請求項2】
前記当接部には、前記回転軸の直径よりも大きい直径の穴が形成されていることを特徴とする請求項1に記載の媒体搬送装置。
【請求項3】
媒体が搬送される搬送経路を形成する経路形成部をさらに備え、
前記経路形成部は、前記搬送経路を形成する経路面を有し、
前記当接部は、前記経路形成部に対して前記経路面とは反対側に設けられることを特徴とする請求項1に記載の媒体搬送装置。
【請求項4】
前記軸受は、前記経路形成部における前記経路面とは反対側の裏面に設けられ、
前記経路形成部は、非導電性であることを特徴とする請求項3に記載の媒体搬送装置。
【請求項5】
前記当接部は、
前記回転軸の直径よりも大きい直径の穴が形成される環部と、
前記環部から前記穴の径方向に突出したフランジ部と、
を有し、
前記経路形成部は、前記フランジ部を保持する保持部を有することを特徴とする請求項3に記載の媒体搬送装置。
【請求項6】
前記保持部は、前記当接部を回転不能に保持することを特徴とする請求項5に記載の媒体搬送装置。
【請求項7】
前記環部の外周面は、円柱面と、平面と、を含み、
前記保持部は、前記平面に接触するストッパーを有することを特徴とする請求項6に記載の媒体搬送装置。
【請求項8】
前記接地部材は、前記フランジ部と前記保持部の間に位置し、前記フランジ部と前記保持部に接触することを特徴とする請求項6に記載の媒体搬送装置。
【請求項9】
前記接地部材は、
弾性を有し、
前記当接部を前記回転軸に向けて付勢し、
前記経路形成部は、前記当接部を保持する保持部を有し、
前記保持部は、前記当接部を、前記接地部材が前記当接部を付勢する付勢方向に変位可能に保持することを特徴とする請求項3に記載の媒体搬送装置。
【請求項10】
前記保持部は、前記接地部材よりも、前記付勢方向と反対の方向まで延びていることを特徴とする請求項9に記載の媒体搬送装置。
(【請求項11】以降は省略されています)
発明の詳細な説明
【技術分野】
【0001】
本発明は、媒体搬送装置、画像読取装置、印刷装置に関する。
続きを表示(約 1,500 文字)
【背景技術】
【0002】
例えば特許文献1のように、媒体搬送装置の一例である自動給紙装置がある。自動給紙装置は、回転体の一例である回転ローラーと、回転軸の一例である金属製回転軸と、を備える。金属製回転軸は、回転ローラーの軸である。回転ローラーは、例えば、媒体の一例である原稿を搬送する。回転ローラーが回転すると、摩擦によって静電気が発生することがある。そのため、自動給紙装置は、金属製回転軸を、導電性軸受、金属製弾性材、及び金属製側板を介して接地する。
【先行技術文献】
【特許文献】
【0003】
特開2007-178518号公報
【発明の概要】
【発明が解決しようとする課題】
【0004】
特許文献1は、導電性軸受と金属製側板との間に金属製弾性材を挟む。導電性軸受は、金属製弾性材と金属製側板を面接触させることで、導通を確保する。そのため、設計上の制約が生じる虞がある。
【課題を解決するための手段】
【0005】
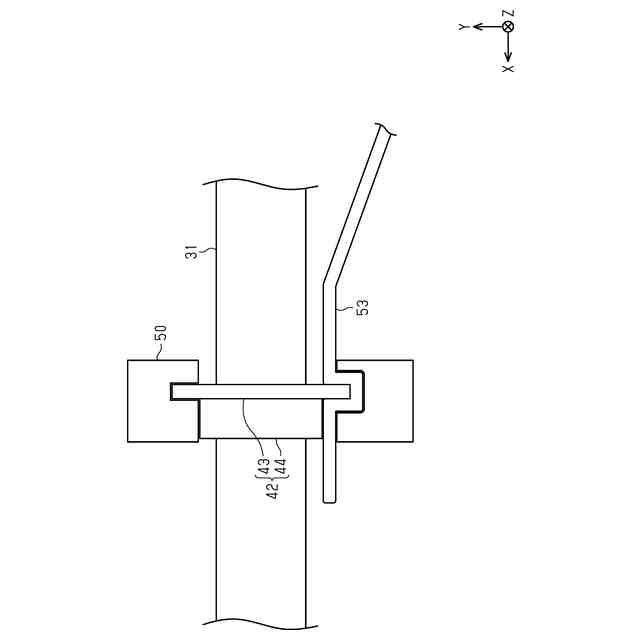
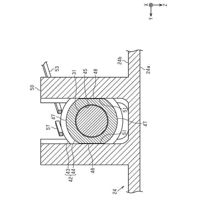
上記課題を解決する媒体搬送装置は、媒体に接触して回転する回転体と、前記回転体が取付けられ、前記回転体を回転させる導電性の回転軸と、前記回転軸を回転可能に保持する軸受と、前記回転軸の軸方向において、前記回転体と前記軸受との間に設けられ、前記回転軸に当接可能な導電性の当接部と、前記当接部を接地する接地部材と、を備える。
【0006】
上記課題を解決する画像読取装置は、媒体に接触して回転する回転体と、前記回転体が取付けられ、前記回転体を回転させる導電性の回転軸と、前記回転軸を回転可能に保持する軸受と、前記回転軸の軸方向において、前記回転体と前記軸受との間に設けられ、前記回転軸に当接可能な導電性の当接部と、前記当接部を接地する接地部材と、を備える媒体搬送装置と、前記媒体搬送装置によって搬送される媒体の画像を読み取る読取部と、を備える。
【0007】
上記課題を解決する印刷装置は、上記構成の画像読取装置と、前記画像読取装置によって読み取った画像を印刷する印刷部と、を備える。
【図面の簡単な説明】
【0008】
図1は、印刷装置の一実施形態の模式図である。
図2は、経路形成部が閉位置に位置する媒体搬送装置の模式側面図である。
図3は、経路形成部が開位置に位置する媒体搬送装置の模式側面図である。
図4は、媒体搬送装置の模式平面図である。
図5は、媒体搬送装置の斜視図である。
図6は、図4における6-6線矢視断面図である。
図7は、図4における7-7線矢視断面図である。
図8は、接地部材の変更例の模式図である。
【発明を実施するための形態】
【0009】
[実施形態]
以下、媒体搬送装置、画像読取装置、印刷装置の一実施形態を、図面を参照して説明する。画像読取装置は、例えば、搬送される紙、フィルムなどの媒体の画像を、固定された読取部が読み取るシートフィードスキャナーである。印刷装置は、例えば、用紙、布帛、ビニール、プラスチック部品、金属部品などの媒体に液体の一例であるインクを吐出して印刷するインクジェット式のプリンターである。
【0010】
図面では印刷装置11が水平面上に置かれているものとして重力の方向をZ軸で示し、水平面に沿う方向をX軸とY軸で示す。X軸、Y軸、及びZ軸は、互いに直交する。以下の説明では、X軸と平行な方向を幅方向Xともいう。
(【0011】以降は省略されています)
この特許をJ-PlatPat(特許庁公式サイト)で参照する
関連特許
個人
収容箱
3か月前
個人
コンベア
5か月前
個人
段ボール箱
7か月前
個人
ゴミ収集器
7か月前
個人
容器
9か月前
個人
段ボール箱
7か月前
個人
バンド
2か月前
個人
楽ちんハンド
5か月前
個人
土嚢運搬器具
8か月前
個人
宅配システム
7か月前
個人
角筒状構造体
5か月前
個人
棒状体収容容器
今日
個人
廃棄物収容容器
3か月前
個人
お薬の締結装置
6か月前
個人
包装容器
1か月前
個人
コード類収納具
8か月前
個人
閉塞装置
10か月前
株式会社和気
包装用箱
10日前
株式会社和気
包装用箱
9か月前
個人
ゴミ処理機
9か月前
個人
積み重ね用補助具
3か月前
株式会社バンダイ
物品
1か月前
株式会社コロナ
梱包材
5か月前
個人
蓋閉止構造
4か月前
個人
貯蔵サイロ
7か月前
個人
把手付米袋
5か月前
個人
蓋閉止構造
4か月前
個人
袋入り即席麺
7か月前
三甲株式会社
容器
14日前
三甲株式会社
容器
2か月前
株式会社ナベル
検査装置
8日前
三甲株式会社
容器
6か月前
三甲株式会社
容器
6か月前
株式会社新弘
容器
3か月前
個人
コード折り畳み器具
4か月前
三甲株式会社
蓋体
8か月前
続きを見る
他の特許を見る