TOP
|
特許
|
意匠
|
商標
特許ウォッチ
Twitter
他の特許を見る
10個以上の画像は省略されています。
公開番号
2025011700
公報種別
公開特許公報(A)
公開日
2025-01-24
出願番号
2023113960
出願日
2023-07-11
発明の名称
刺激特定プログラム、刺激特定装置、および刺激特定システム
出願人
ダイキン工業株式会社
,
国立大学法人徳島大学
代理人
弁理士法人前田特許事務所
主分類
A61B
10/00 20060101AFI20250117BHJP(医学または獣医学;衛生学)
要約
【課題】対象者に付与された刺激を特定する。
【解決手段】刺激特定プログラムは、コンピュータ(200,400)に、対象者に関する刺激前指標を取得する刺激前指標取得処理と、対象者に関する刺激後指標を取得する刺激後指標取得処理と、複数種類の刺激についての複数人に関する相関情報を取得する相関情報取得処理と、刺激前指標取得処理において取得した刺激前指標と、刺激後指標取得処理において取得した刺激後指標と、相関情報取得処理において取得した複数の相関情報とに基づいて、対象者に付与された刺激を特定する刺激特定処理とを、実行させる。
【選択図】図4
特許請求の範囲
【請求項1】
対象者に付与された刺激を特定する処理をコンピュータ(200,400)に実行させる刺激特定プログラムであって、
腸音に関する指標を腸音指標とし、
所定の刺激が付与される前の上記腸音指標を刺激前指標とし、
所定の刺激が付与された後の上記腸音指標を刺激後指標とし、
上記刺激前指標と、上記刺激前指標に対する上記刺激後指標の比との関係を示す情報を相関情報としたときに、
コンピュータ(200,400)に、
上記対象者に関する上記刺激前指標を取得する刺激前指標取得処理と、
上記対象者に関する上記刺激後指標を取得する刺激後指標取得処理と、
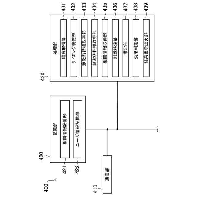
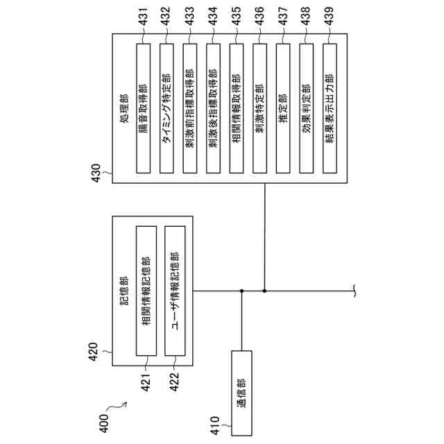
記憶装置(420)に予め記憶された複数種類の刺激についての複数人に関する上記相関情報を取得する相関情報取得処理と、
上記刺激前指標取得処理において取得した上記刺激前指標と、上記刺激後指標取得処理において取得した上記刺激後指標と、上記相関情報取得処理において取得した複数の上記相関情報とに基づいて、上記対象者に付与された刺激を特定する刺激特定処理とを、実行させる
刺激特定プログラム。
続きを表示(約 1,100 文字)
【請求項2】
上記対象者に関する上記腸音の時系列データを取得する腸音取得処理と、
上記腸音取得処理において取得した上記腸音の時系列データに基づいて、上記刺激が上記対象者に付与されたタイミングを特定するタイミング特定処理とを、コンピュータ(200,400)に実行させる
請求項1に記載の刺激特定プログラム。
【請求項3】
上記刺激特定処理において特定された刺激を特定刺激としたときに、
上記特定刺激の情報を含む結果情報を表示装置(250)に表示するための信号を出力する結果表示出力処理を、コンピュータ(200,400)に実行させる
請求項1または2に記載の刺激特定プログラム。
【請求項4】
上記刺激前指標取得処理において取得した上記特定刺激に関する上記刺激前指標と、上記相関情報取得処理において取得した上記特定刺激に関する上記相関情報とに基づいて、上記対象者に関する上記刺激後指標を推定する推定処理と、
上記推定処理において上記特定刺激について推定された上記刺激後指標と、上記刺激後指標取得処理において取得した上記特定刺激に関する上記刺激後指標との差に基づいて、上記特定刺激による効果を判定する効果判定処理と、
上記結果表示出力処理としての、上記効果を含む結果情報を表示装置(250)に表示するための信号を出力する処理とを、コンピュータ(200,400)に実行させる
請求項3に記載の刺激特定プログラム。
【請求項5】
対象者に付与された刺激を特定する刺激特定装置であって、
腸音に関する指標を腸音指標とし、
所定の刺激が付与される前の上記腸音指標を刺激前指標とし、
所定の刺激が付与された後の上記腸音指標を刺激後指標とし、
上記刺激前指標と、上記刺激前指標に対する上記刺激後指標の比との関係を示す情報を相関情報としたときに、
上記対象者に関する上記刺激前指標を取得し、
上記対象者に関する上記刺激後指標を取得し、
記憶装置(420)に予め記憶された複数種類の刺激についての複数人に関する上記相関情報を取得し、
取得した上記刺激前指標と、取得した上記刺激後指標と、取得した複数の上記相関情報とに基づいて、上記対象者に付与された刺激を特定する処理部(430)を備える
刺激特定装置。
【請求項6】
請求項5に記載の刺激特定装置と、
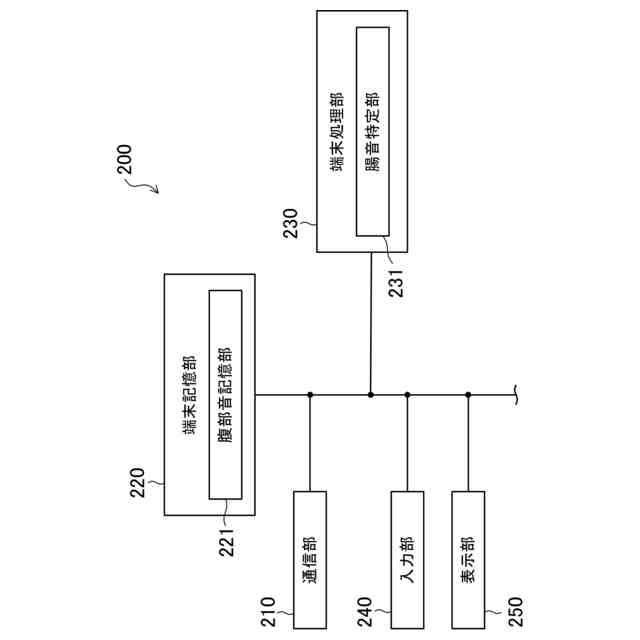
上記対象者の腹部の音を集音する集音装置(110)と、
特定された刺激に関する情報を表示するための表示装置(250)と、を備える
刺激特定システム。
発明の詳細な説明
【技術分野】
【0001】
本開示は、刺激特定プログラム、刺激特定装置、および刺激特定システムに関する。
続きを表示(約 1,600 文字)
【背景技術】
【0002】
近年、健康に対する意識が高まっており、健康に関する情報提供の支援を行うための各種装置やサービスが提供され始めている。特に、健康を管理する指標として、腸の調子を重視するユーザも増加しつつある。特許文献1では、ユーザの腹部の音情報と、予め用意された学習情報とを用いて、ユーザの腸の調子を腸スコアとして表示するシステムが開示されている。
【先行技術文献】
【特許文献】
【0003】
国際公開第2022/124190号明細書
【発明の概要】
【発明が解決しようとする課題】
【0004】
特許文献1のようなシステムでは、ユーザが自身の腸の調子に関する情報を得るために、食事内容などの情報をシステムに入力する必要がある。しかし、入力する情報が多いため、ユーザが継続してシステムを利用しにくいという問題があった。そこで、システムを利用し易くするために、例えば、対象者が受けた刺激の内容を自動で特定したいという要望があった。
【0005】
本開示の目的は、対象者に付与された刺激を特定することである。
【課題を解決するための手段】
【0006】
第1の態様は、対象者に付与された刺激を特定する処理をコンピュータ(200,400)に実行させる刺激特定プログラムを対象とする。刺激特定プログラムでは、腸音に関する指標を腸音指標とし、所定の刺激が付与される前の上記腸音指標を刺激前指標とし、所定の刺激が付与された後の上記腸音指標を刺激後指標とし、上記刺激前指標と、上記刺激前指標に対する上記刺激後指標の比との関係を示す情報を相関情報とする。このとき、刺激特定プログラムは、コンピュータ(200,400)に、上記対象者に関する上記刺激前指標を取得する刺激前指標取得処理と、上記対象者に関する上記刺激後指標を取得する刺激後指標取得処理と、記憶装置(420)に予め記憶された複数種類の刺激についての複数人に関する上記相関情報を取得する相関情報取得処理と、上記刺激前指標取得処理において取得した上記刺激前指標と、上記刺激後指標取得処理において取得した上記刺激後指標と、上記相関情報取得処理において取得した複数の上記相関情報とに基づいて、上記対象者に付与された刺激を特定する刺激特定処理とを、実行させる。
【0007】
第1の態様では、刺激特定プログラムが、コンピュータ(200,400)に刺激特定処理を実行させる。刺激特定処理は、対象者に関する刺激前指標および刺激後指標と、複数の相関情報とに基づいて、対象者に付与された刺激を特定する。したがって、この態様によれば、対象者に付与された刺激を特定できる。
【0008】
第2の態様は、第1の態様において、上記対象者に関する上記腸音の時系列データを取得する腸音取得処理と、上記腸音取得処理において取得した上記腸音の時系列データに基づいて、上記刺激が上記対象者に付与されたタイミングを特定するタイミング特定処理とを、コンピュータ(200,400)に実行させる。
【0009】
第2の態様では、刺激特定プログラムが、コンピュータ(200,400)にタイミング特定処理を実行させる。タイミング特定処理は、腸音の時系列データに基づいて、刺激が対象者に付与されたタイミングを特定する。これにより、対象者に刺激が付与されたタイミングを特定できる。
【0010】
第3の態様は、第1または第2の態様において、上記刺激特定処理において特定された刺激を特定刺激としたときに、上記特定刺激の情報を含む結果情報を表示装置(250)に表示するための信号を出力する結果表示出力処理を、コンピュータ(200,400)に実行させる。
(【0011】以降は省略されています)
この特許をJ-PlatPat(特許庁公式サイト)で参照する
関連特許
ダイキン工業株式会社
空気調和装置
2日前
ダイキン工業株式会社
インバータ制御装置
2日前
ダイキン工業株式会社
圧縮機及び冷凍装置
2日前
ダイキン工業株式会社
制御回路及び電子機器
2日前
ダイキン工業株式会社
ノイズ抑制回路、空気調和機
2日前
ダイキン工業株式会社
積層体の製造方法および積層体
2日前
ダイキン工業株式会社
部材、及び、半導体製造関連装置
2日前
ダイキン工業株式会社
情報生成装置、及び、情報生成方法
2日前
ダイキン工業株式会社
ゴム部材、及び、半導体製造関連装置
2日前
ダイキン工業株式会社
ゴム部材、及び、半導体製造関連装置
2日前
ダイキン工業株式会社
粒子、組成物、成形体、及び、粒子の製造方法
2日前
ダイキン工業株式会社
空調機
2日前
ダイキン工業株式会社
硬化性エポキシ樹脂組成物、硬化物及び硬化物の製造方法
2日前
ダイキン工業株式会社
2つのシリコン基板を含む積層体の製造方法および該積層体
2日前
ダイキン工業株式会社
軸受システム、ターボ圧縮機、冷凍システム、軸受システムの異常検出方法
2日前
ダイキン工業株式会社
ノイズ抑制回路、空気調和機
2日前
ダイキン工業株式会社
制御システムおよび冷凍システム
2日前
ダイキン工業株式会社
虫駆除システム、および空気処理装置
2日前
個人
短下肢装具
2か月前
個人
前腕誘導装置
3か月前
個人
嚥下鍛錬装置
3か月前
個人
排尿補助器具
2日前
個人
胸骨圧迫補助具
1か月前
個人
矯正椅子
4か月前
個人
ウォート指圧法
今日
個人
歯の修復用材料
3か月前
個人
汚れ防止シート
17日前
個人
アイマスク装置
1か月前
個人
バッグ式オムツ
4か月前
個人
シャンプー
5か月前
個人
哺乳瓶冷まし容器
2か月前
個人
湿布連続貼り機。
1か月前
個人
陣痛緩和具
3か月前
個人
歯の保護用シール
4か月前
個人
エア誘導コルセット
1か月前
個人
治療用酸化防御装置
1か月前
続きを見る
他の特許を見る