TOP
|
特許
|
意匠
|
商標
特許ウォッチ
Twitter
他の特許を見る
10個以上の画像は省略されています。
公開番号
2025035675
公報種別
公開特許公報(A)
公開日
2025-03-14
出願番号
2023142880
出願日
2023-09-04
発明の名称
炉設備
出願人
三菱重工業株式会社
代理人
個人
,
個人
,
個人
主分類
F27D
17/12 20250101AFI20250307BHJP(炉,キルン,窯;レトルト)
要約
【課題】取り込まれる燃焼用空気の流量を調節することができる炉設備を提供する。
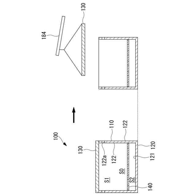
【解決手段】炉本体110は、内部に炉空間S0を形成し、床140は、上下方向において炉空間S0を上部空間S1と下部空間S2とに仕切るとともに、上部空間S1と下部空間S2とを連通する連通部141を有し、上部空間S1は、被炭化物Wが貯留され炭化が行われる空間であり、下部空間S2は、被炭化物Wの炭化によって生じた燃焼排ガスが上部空間S1から連通部141を介して導かれる空間であり、炉本体110は、上部空間S1と炉本体110の外部とを連通する吸気開口122aを有し、煙突150は、下部空間S2と炉本体110の外部とを連通する排気流路P1を形成し、ファン161は、排気流路P1に設けられ、排気流路P1から炉本体110の外部へ燃焼排ガスを含む気体を排出するように構成されている。
【選択図】図2
特許請求の範囲
【請求項1】
炉本体と、
床と、
煙突と、
ファンと、
を備え、
前記炉本体は、内部に炉空間を形成し、
前記床は、上下方向において前記炉空間を上部空間と下部空間とに仕切るとともに、前記上部空間と前記下部空間とを連通する連通部を有し、
前記上部空間は、被炭化物が貯留され炭化が行われる空間であり、
前記下部空間は、被炭化物の炭化によって生じた燃焼排ガスが前記上部空間から前記連通部を介して導かれる空間であり、
前記炉本体は、前記上部空間と前記炉本体の外部とを連通する吸気開口を有し、
前記煙突は、前記下部空間と前記炉本体の外部とを連通する排気流路を形成し、
前記ファンは、前記排気流路に設けられ、前記排気流路から前記炉本体の外部へ燃焼排ガスを含む気体を排出するように構成されている
炉設備。
続きを表示(約 950 文字)
【請求項2】
流量計と、
制御部と、
を備え、
前記流量計は、前記排気流路を介して前記炉本体の外部へ排出される燃焼排ガスを含む気体の流量を計測し、
前記制御部は、前記流量計の計測値に基づいて前記ファンの出力を制御する
請求項1に記載の炉設備。
【請求項3】
前記制御部は、前記流量計の計測値に基づいて前記吸気開口の開口面積を制御する
請求項2に記載の炉設備。
【請求項4】
前記炉本体は、高さ方向の寸法が可変となるように構成されている
請求項1に記載の炉設備。
【請求項5】
前記煙突は、前記高さ方向の寸法が可変となるように構成されている
請求項4に記載の炉設備。
【請求項6】
前記炉本体は、前記上部空間を画定する蓋部を有し、
前記蓋部は、開閉するように構成されている
請求項1に記載の炉設備。
【請求項7】
吸気ダクトを備え、
前記吸気ダクトは、前記吸気開口と前記炉本体の外部とを連通する吸気流路を形成し、
前記煙突及び前記吸気ダクトは、前記排気流路を流れる気体と前記吸気流路を流れる気体との間で熱交換できるように構成されている
請求項1に記載の炉設備。
【請求項8】
第2のファンを備え、
前記炉本体は、挿入開口を有し、
前記挿入開口は、前記下部空間と前記炉本体の外部とを連通し、前記炉本体の外部から着火用のバーナが挿入される開口であり、
前記第2のファンは、前記吸気開口に設けられ、前記上部空間から前記炉本体の外部へ燃焼排ガスを含む気体を排出するように構成されている
請求項1に記載の炉設備。
【請求項9】
かごを備え、
前記かごは、前記上部空間に設置され、被炭化物が貯留される
請求項1に記載の炉設備。
【請求項10】
少なくとも1つの仕切板を備え、
前記仕切板は、前記上部空間を水平方向に複数の空間に分割している
請求項1に記載の炉設備。
(【請求項11】以降は省略されています)
発明の詳細な説明
【技術分野】
【0001】
本開示は、炭化炉及び反応炉等の炉設備に関する。
続きを表示(約 1,600 文字)
【背景技術】
【0002】
木質バイオマス等の被炭化物を原料として炭化物を得る炭化炉が知られている(特許文献1)。
【先行技術文献】
【特許文献】
【0003】
実用新案登録第3230754号公報
【発明の概要】
【発明が解決しようとする課題】
【0004】
炉設備においては、貯留された被炭化物の炭化の進行に伴う層厚さの変化、被炭化物のかさ密度や被炭化物の表面水分等によって、最適な燃焼用空気の流量が変化する。
【0005】
本開示は、このような事情に鑑みてなされたものであって、取り込まれる燃焼用空気の流量を調節することができる炉設備を提供することを目的とする。
【課題を解決するための手段】
【0006】
上記課題を解決するために、本開示の炉設備は、以下の手段を採用する。
本開示の一態様に係る炉設備は、炉本体と、床と、煙突と、ファンと、を備え、前記炉本体は、内部に炉空間を形成し、前記床は、上下方向において前記炉空間を上部空間と下部空間とに仕切るとともに、前記上部空間と前記下部空間とを連通する連通部を有し、前記上部空間は、被炭化物が貯留され炭化が行われる空間であり、前記下部空間は、被炭化物の炭化によって生じた燃焼排ガスが前記連通部を介して導かれる空間であり、前記炉本体は、前記上部空間と前記炉本体の外部とを連通する吸気開口を有し、前記煙突は、前記下部空間と前記炉本体の外部とを連通する排気流路を形成し、前記ファンは、前記排気流路に設けられ、前記排気流路から前記炉本体の外部へ燃焼排ガスを含む気体を排出するように構成されている。
【発明の効果】
【0007】
本開示によれば、炉設備に取り込まれる燃焼用空気の流量を調節することができる。
【図面の簡単な説明】
【0008】
本開示の一実施形態に係る炉設備が搭載された車両の側面図である。
本開示の一実施形態に係る炉設備の側面図である。
図2に示す切断線III-IIIにおける横断面図である。
本開示の一実施形態に係る炉設備の側面図である。
本開示の一実施形態に係る炉設備の側面図である。
本開示の一実施形態に係る炉設備の高さが変化する様子を示した横断面図である(実施例1)。
本開示の一実施形態に係る炉設備の高さが変化する様子を示した横断面図である(実施例2)。
本開示の一実施形態に係る炉設備の蓋部の開閉の様子を示した横断面図である(実施例3)。
本開示の一実施形態に係る炉設備の蓋部の開閉の様子を示した横断面図である(実施例4)。
本開示の一実施形態に係る炉設備(燃焼用空気の予熱が可能な構成)の側面図である。
本開示の一実施形態に係る炉設備(着火の促進が可能な構成)の側面図である。
本開示の一実施形態に係る炉設備(かごを備えている構成)の側面図である。
本開示の一実施形態に係る炉設備からかごを取り出している様子を示した側面図である。
本開示の一実施形態に係る炉設備(仕切り板を備えている構成)の側面図である。
本開示の一実施形態に係る炉設備(仕切り板を備えている構成)の側面図である。
【発明を実施するための形態】
【0009】
以下、本開示の一実施形態に係る炉設備について、図面を参照して説明する。
【0010】
<炉設備の基本的な構造>
本開示の一実施形態に係る炉設備100は、木質バイオマス等の被炭化物Wを原料するバイオ炭を製造する炭化炉やバイオ燃料を製造する反応炉である。
以下、本開示の一実施形態に係る炉設備100について、炭化炉としての炉設備100を例にして説明する。
(【0011】以降は省略されています)
この特許をJ-PlatPat(特許庁公式サイト)で参照する
関連特許
三菱重工業株式会社
排気設備、及びこれを備えるガスタービン
今日
株式会社サンコー
浸漬ヒーター
13日前
東京窯業株式会社
セッター
4か月前
中外炉工業株式会社
熱処理炉
2日前
株式会社プロテリアル
スラグ除滓装置
9か月前
中外炉工業株式会社
処理炉
3か月前
ノリタケ株式会社
連続加熱炉
5か月前
ノリタケ株式会社
熱処理装置
2か月前
ノリタケ株式会社
連続加熱炉
5か月前
ノリタケ株式会社
サヤ
3か月前
ファーネス重工株式会社
熱風循環炉
5か月前
株式会社不二越
搬送システム
4か月前
ノリタケ株式会社
熱処理装置
4か月前
ノリタケ株式会社
熱処理装置
1か月前
有限会社ヨコタテクニカ
リフロー炉
1か月前
ノリタケ株式会社
熱処理装置
2か月前
ノリタケ株式会社
連続加熱炉
5か月前
ノリタケ株式会社
熱処理装置
2か月前
ノリタケ株式会社
熱処理装置
2か月前
中外炉工業株式会社
連続処理炉
4か月前
成都大学
合金粉末酸化防止熱処理装置
6か月前
特殊電極株式会社
インゴット予熱装置
4か月前
DiV株式会社
赤外線加熱装置
4か月前
大同特殊鋼株式会社
溶解炉
10か月前
三菱重工業株式会社
炉設備
6か月前
株式会社不二越
圧力制御システム
5か月前
株式会社豊田中央研究所
加熱装置
23日前
ノリタケ株式会社
熱処理設備
1か月前
ノリタケ株式会社
ロータリーキルン
12か月前
大同特殊鋼株式会社
回転炉の異物検出装置
4か月前
三建産業株式会社
非鉄金属溶解方法
4か月前
ノリタケ株式会社
熱処理設備
1か月前
大同特殊鋼株式会社
熱処理設備
4か月前
大同特殊鋼株式会社
熱処理設備
8か月前
住友金属鉱山株式会社
水冷ジャケット
11か月前
中外炉工業株式会社
亜鉛回収装置
11か月前
続きを見る
他の特許を見る