TOP
|
特許
|
意匠
|
商標
特許ウォッチ
Twitter
他の特許を見る
10個以上の画像は省略されています。
公開番号
2025039886
公報種別
公開特許公報(A)
公開日
2025-03-24
出願番号
2023142170
出願日
2023-09-01
発明の名称
ガス気化システム
出願人
三浦工業株式会社
代理人
弁理士法人北大阪特許事務所
主分類
F17C
7/04 20060101AFI20250314BHJP(ガスまたは液体の貯蔵または分配)
要約
【課題】ヒートポンプを利用しながらも、気化ガスの供給圧力を安定させることが可能となるガス気化システムを提供する。
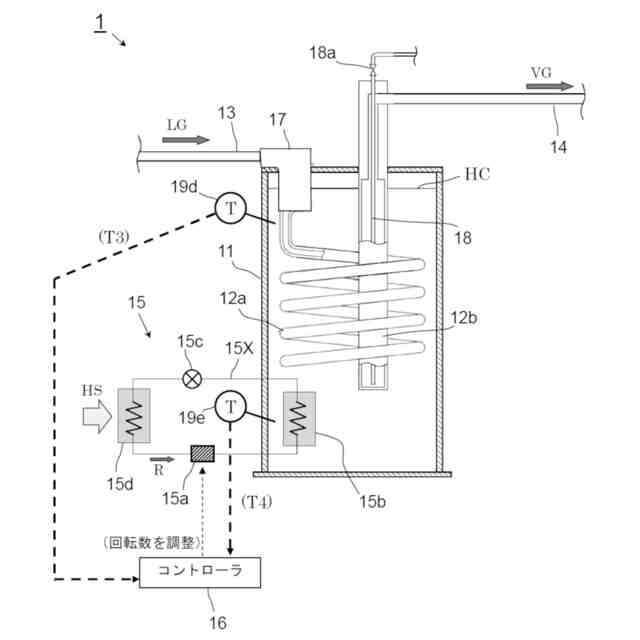
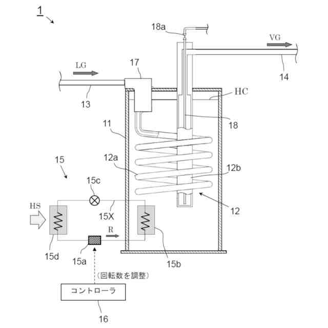
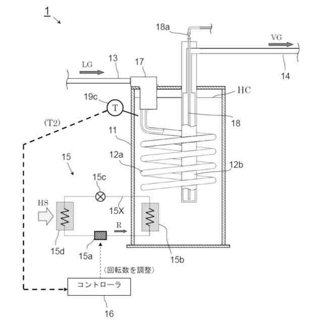
【解決手段】熱媒体HCを貯留する熱媒体タンク11と、熱媒体タンク11の内部に配置され、熱媒体HCとの熱交換により液化ガスLGを気化ガスVGとする蒸発部12と、蒸発部12に液化ガスLGを流入させる流入管13と、蒸発部12から気化ガスVGを流出させる流出管14と、圧縮機、放熱部、膨張部および吸熱部を有する蒸気圧縮式のヒートポンプ回路を含んで構成され、前記放熱部からの熱出力により熱媒体HCを加熱する主加熱装置15と、主加熱装置15の熱出力を制御するコントローラ16と、を備え、コントローラ16は、気化ガスVGまたは熱媒体HCにおける気化ガスVGの圧力との相関関係がある状態量の検知結果に基づき、熱媒体HCの加熱量を制御するガス気化システムとする。
【選択図】図2
特許請求の範囲
【請求項1】
熱媒体を貯留する熱媒体タンクと、
前記熱媒体タンクの内部に配置され、前記熱媒体との熱交換により液化ガスを気化ガスとする蒸発部と、
前記蒸発部に前記液化ガスを流入させる流入管と、
前記蒸発部から前記気化ガスを流出させる流出管と、
圧縮機、放熱部、膨張部および吸熱部を有する蒸気圧縮式のヒートポンプ回路を含んで構成され、前記放熱部からの熱出力により前記熱媒体を加熱する主加熱装置と、
前記主加熱装置の熱出力を制御するコントローラと、を備え、
前記コントローラは、
前記気化ガスまたは前記熱媒体における前記気化ガスの圧力との相関関係がある状態量の検知結果に基づき、前記熱媒体の加熱量を制御するガス気化システム。
続きを表示(約 2,000 文字)
【請求項2】
前記流出管を流通する前記気化ガスの圧力を検知する第1圧力検知部を備え、
前記コントローラは、前記第1圧力検知部の検知圧力が設定された目標圧力になるように、前記主加熱装置の熱出力を制御する請求項1に記載のガス気化システム。
【請求項3】
前記流出管を流通する前記気化ガスの温度を検知する第1温度検知部を備え、
前記コントローラは、前記第1温度検知部の検知温度が設定された目標温度になるように、前記主加熱装置の熱出力を制御する請求項1に記載のガス気化システム。
【請求項4】
前記蒸発部の近傍に存在する前記熱媒体の温度を検知する第2温度検知部を備え、
前記コントローラは、前記第2温度検知部の検知温度が設定された第2目標温度になるように、前記主加熱装置の熱出力を制御する請求項1に記載のガス気化システム。
【請求項5】
前記放熱部で加熱前の前記熱媒体の温度を検知する第3温度検知部と、
前記放熱部で加熱後の前記熱媒体の温度を検知する第4温度検知部と、を備え、
前記コントローラは、前記第4温度検知部と前記第3温度検知部の検知温度差が設定された目標温度差になるように、前記主加熱装置の熱出力を制御する請求項1に記載のガス気化システム。
【請求項6】
前記放熱部は、前記熱媒体タンクの内部に前記熱媒体と熱交換可能な状態で配置されており、
前記コントローラは、前記圧縮機の回転数を調整することにより、前記主加熱装置の熱出力を制御する請求項2から請求項5のいずれか一項に記載のガス気化システム。
【請求項7】
前記主加熱装置は、
前記放熱部で加熱後の前記熱媒体を前記熱媒体タンクに送る第1循環往路管と、
前記熱媒体タンクで熱利用後の前記熱媒体を前記放熱部に戻す第1循環復路管と、
前記第1循環往路管に設けられた第1循環ポンプと、を含み、
前記コントローラは、
前記第1循環ポンプを所定の回転数で駆動させると共に、前記圧縮機の回転数を調整することにより、前記主加熱装置の熱出力を制御する請求項2から請求項5のいずれか一項に記載のガス気化システム。
【請求項8】
前記主加熱装置は、
前記熱媒体と中間媒体とを熱交換させる熱交換部と、
前記放熱部で加熱後の前記中間媒体を前記熱交換部の高温側に送る第2循環往路管と、
前記熱交換部の高温側で熱利用後の前記中間媒体を前記放熱部に戻す第2循環復路管と、
前記第2循環往路管に設けられた第2循環ポンプと、
前記熱交換部の低温側で加熱後の前記熱媒体を前記熱媒体タンクに送る第3循環往路管と、
前記熱媒体タンクで熱利用後の前記熱媒体を前記熱交換部の低温側に戻す第3循環復路管と、
前記第3循環往路管に設けられた第3循環ポンプと、を含み、
前記コントローラは、
前記第2循環ポンプおよび前記第3循環ポンプを所定の回転数で駆動させると共に、前記圧縮機の回転数を調整することにより、前記主加熱装置の熱出力を制御する請求項2から請求項5のいずれか一項に記載のガス気化システム。
【請求項9】
前記主加熱装置は、
前記放熱部が前段の第1放熱部および後段の第2放熱部を含み、前記第1放熱部からの熱出力により前記熱媒体を加熱すると共に、前記第2放熱部からの熱出力により前記液化ガスを加熱するように構成されており、
前記流入管の上流側を流通する前記液化ガスを前記第2放熱部に送る第1枝管と、
前記第2放熱部で予熱後の前記液化ガスを前記流入管の下流側に戻す第2枝管と、
前記流入管から前記第1枝管に送る前記液化ガスの流量を調節するガス流量調節部と、
前記蒸発部に流入する前の前記液化ガスの圧力を検知する第2圧力検知部と、
前記蒸発部に流入する前の前記液化ガスの温度を検知する第5温度検知部と、を備え、
前記コントローラは、
前記第2圧力検知部の検知圧力における前記液化ガスの飽和温度を求め、前記第5温度検知部の検知温度が当該飽和温度を下回る温度になるように、前記ガス流量調節部を制御する請求項2から請求項5のいずれか一項に記載のガス気化システム。
【請求項10】
前記流出管を流通する前記気化ガスを昇圧する昇圧機と、
前記昇圧機の吸入側に設けられ、吸込圧力を調節する容量制御弁と、を備え、
前記コントローラは、
前記蒸発部の内部圧力が前記目標圧力よりも低い圧力になるように、前記容量制御弁の開度を制御する請求項2に記載のガス気化システム。
(【請求項11】以降は省略されています)
発明の詳細な説明
【技術分野】
【0001】
本発明は、液化ガスを気化ガスとするガス気化システムに関する。
続きを表示(約 1,700 文字)
【背景技術】
【0002】
従来、LNG(液化天然ガス)やLPG(液化石油ガス)などの液化ガスの気化設備として、温水加熱型のシステムが知られている。特許文献1には、温水槽の内部に蒸発管と蒸発筒を設置し、貯留水を温水槽の下部に配置したヒータで加熱する気化システム(図2)、および貯留水を温水槽の外面に貼り付けたヒータで加熱する気化システム(図1)が記載されている。また、特許文献2には、温水槽の内部に蒸発管を設置し、貯留水を温水ボイラで加熱しながら循環させる気化システムが記載されている。特許文献1,2に記載のシステムでは、液化ガスが蒸発管の内部を通過する過程で、温水との熱交換により気化ガスへと変化する。
【0003】
また、特許文献3には、水(第二液体)をヒートポンプ装置で加熱しながら気化設備に循環させる、或いは水(第一液体)を地中熱交換器および/または空気熱交換器で加熱しながら気化設備に循環させる気化システムが記載されている。なお、ヒートポンプ装置の運転時は、地中熱交換器や空気熱交換器で加熱された水(第一液体)がヒートポンプ装置の熱源流体となる。
【先行技術文献】
【特許文献】
【0004】
特開2003-322297号公報
特開2018-179063号公報
特開2020-139550号公報
【発明の概要】
【発明が解決しようとする課題】
【0005】
LNGやLPGなどの化石燃料は、エンドユーザーの消費によって二酸化炭素が排出されることになるが、これらの燃料ガスのサプライチェーンを含む二酸化炭素の総排出量を削減する観点からは、気化プロセスでの化石燃料の使用量を抑制していく方向性が望まれる。
【0006】
特許文献1に記載の気化システムでは、温水生成用の加熱装置が電気ヒータであるため、供給電力の一次エネルギー源として化石燃料が使用されている場合には、二酸化炭素の総排出量の増加に繋がる。供給電力の一次エネルギー源として太陽光や風力などの再生可能エネルギーを使用することもできるが、日没後や無風時にも給電を継続するには、化石燃料を使用したバックアップ発電が必要である。
【0007】
また、特許文献2に記載の気化システムでは、温水生成用の加熱装置が燃焼式ボイラであり、化石燃料であるプロパンガスを使用しているため、二酸化炭素の総排出量の増加に繋がる。特許文献3に記載の気化システムでは、温水生成用の加熱装置がヒートポンプ装置であることから、二酸化炭素の総排出量を抑制していく上で高い効果が得られることが期待される。
【0008】
ところで、温水加熱型の気化システムを活用する上では、ガス利用機器の側から見ると、気化ガスの供給圧力が高いレベルで安定していることが望ましい。しかしながら、従来の温水ヒートポンプ利用の気化システムでは、温水槽に流入させる温水の温度を調節する程度であり、供給圧力の安定性が十分とは言えなかった。
【0009】
本発明は上述した課題に鑑み、ヒートポンプを利用しながらも、気化ガスの供給圧力を安定させることが可能となるガス気化システムの提供を目的とする。
【課題を解決するための手段】
【0010】
本発明に係るガス気化システムは、熱媒体を貯留する熱媒体タンクと、前記熱媒体タンクの内部に配置され、前記熱媒体との熱交換により液化ガスを気化ガスとする蒸発部と、前記蒸発部に前記液化ガスを流入させる流入管と、前記蒸発部から前記気化ガスを流出させる流出管と、圧縮機、放熱部、膨張部および吸熱部を有する蒸気圧縮式のヒートポンプ回路を含んで構成され、前記放熱部からの熱出力により前記熱媒体を加熱する主加熱装置と、前記主加熱装置の熱出力を制御するコントローラと、を備え、前記コントローラは、前記気化ガスまたは前記熱媒体における前記気化ガスの圧力との相関関係がある状態量の検知結果に基づき、前記熱媒体の加熱量を制御する構成とする。本構成によれば、ヒートポンプを利用しながらも、気化ガスの供給圧力を安定させることが可能となる
(【0011】以降は省略されています)
この特許をJ-PlatPat(特許庁公式サイト)で参照する
関連特許
三浦工業株式会社
燃焼装置
3日前
三浦工業株式会社
真空冷却装置
2か月前
三浦工業株式会社
台数制御装置
8日前
三浦工業株式会社
流体供給装置
1か月前
三浦工業株式会社
燃焼システム
1日前
三浦工業株式会社
洗浄システム
1か月前
三浦工業株式会社
汚泥減容方法
9日前
三浦工業株式会社
劣化検出装置
8日前
三浦工業株式会社
水素燃焼ボイラ
23日前
三浦工業株式会社
水蒸気発生装置
1日前
三浦工業株式会社
ウエスコポンプ
1日前
三浦工業株式会社
二重管接続構造
2日前
三浦工業株式会社
汚泥減容システム
1日前
三浦工業株式会社
熱媒供給システム
15日前
三浦工業株式会社
船舶用発電システム
8日前
三浦工業株式会社
固液分離器及び濾過方法
1か月前
三浦工業株式会社
ヒータ装置及び貫流ボイラ
24日前
三浦工業株式会社
ダイオキシン類の分画方法
1か月前
東京瓦斯株式会社
電力供給システム
1日前
メタウォーター株式会社
焼却システム及び燃焼制御方法
22日前
メタウォーター株式会社
焼却システム及び熱媒供給制御方法
22日前
国立大学法人九州大学
水電解装置、水素製造システム及び水電解方法
1か月前
株式会社石井鐵工所
低温タンクの揚液装置
3か月前
株式会社石井鐵工所
低温タンクの揚液装置
5か月前
川崎重工業株式会社
竪型タンク
4か月前
川崎重工業株式会社
三重殻タンク
7か月前
川崎重工業株式会社
三重殻タンク
7か月前
川崎重工業株式会社
極低温流体用配管設備
3日前
株式会社神戸製鋼所
ガス供給システム
10か月前
川崎重工業株式会社
液化水素貯蔵タンク
8か月前
川崎重工業株式会社
液化水素貯蔵タンク
8か月前
川崎重工業株式会社
液化ガス貯蔵タンク
8か月前
大日本印刷株式会社
ガス充填容器
8か月前
トヨタ自動車株式会社
水素タンク
3か月前
那須電機鉄工株式会社
水素吸蔵合金タンク
8か月前
帝人株式会社
繊維補強圧力容器及びその製造方法
2か月前
続きを見る
他の特許を見る