TOP
|
特許
|
意匠
|
商標
特許ウォッチ
Twitter
他の特許を見る
公開番号
2025032896
公報種別
公開特許公報(A)
公開日
2025-03-12
出願番号
2023138407
出願日
2023-08-28
発明の名称
三重殻タンク
出願人
川崎重工業株式会社
代理人
個人
,
個人
主分類
F17C
13/00 20060101AFI20250305BHJP(ガスまたは液体の貯蔵または分配)
要約
【課題】屋根を貫通する配管類の数を減らしながら効率よく内側保冷層をパージ処理する。
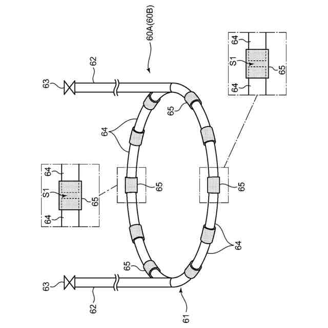
【解決手段】三重殻タンク(1)は、内槽屋根(43)を含む内槽(4)と、内槽屋根(43)の上方を覆う中間槽屋根(33)を含む中間槽(3)と、中間槽屋根(33)の上方を覆う外槽屋根(23)を含む外槽(2)と、中間槽(3)と内槽(4)との間の空間である内側保冷層(11)からガスを排出するためのパージ管装置(60)とを備える。パージ管装置(60)は、中間槽屋根(33)と内槽屋根(43)との間に配置されかつ複数の吸気口を有するベース管(61)と、ベース管(61)から上方に延びて中間槽屋根(33)及び外槽屋根(23)を貫通するノズル管(62)とを含む。
【選択図】図6
特許請求の範囲
【請求項1】
内槽屋根を含む内槽と、
前記内槽屋根の上方を覆う中間槽屋根を含む中間槽と、
前記中間槽屋根の上方を覆う外槽屋根を含む外槽と、
前記中間槽と前記内槽との間の空間である内側保冷層からガスを排出するためのパージ管装置とを備え、
前記パージ管装置は、
前記中間槽屋根と前記内槽屋根との間に配置され、ガスを取り込むための複数の吸気口を有するベース管と、
前記ベース管から上方に延びて前記中間槽屋根及び前記外槽屋根を貫通するノズル管とを含む、三重殻タンク。
続きを表示(約 500 文字)
【請求項2】
請求項1に記載の三重殻タンクにおいて、
前記ベース管は、前記中間槽屋根と前記内槽屋根との間において周方向に延びるように配置される、三重殻タンク。
【請求項3】
請求項2に記載の三重殻タンクにおいて、
前記中間槽屋根のうち前記ベース管の径方向内側にあたる位置に突設されたマンホールと、
前記マンホールの胴部から分岐して上方に延び、前記外槽屋根を貫通する中央ノズルとをさらに備えた、三重殻タンク。
【請求項4】
請求項1~3のいずれか1項に記載の三重殻タンクにおいて、
前記パージ管装置は、周方向に離れた前記ベース管の複数箇所から上方に延びる複数の前記ノズル管と、各ノズル管に取り付けられた複数の開閉弁とを含む、三重殻タンク。
【請求項5】
請求項1~3のいずれか1項に記載の三重殻タンクにおいて、
前記中間槽屋根は、周方向又は径方向に延びる屋根骨と、当該屋根骨に固定された屋根板とを含み、
前記ベース管は、前記屋根骨に固定されたサポートを介して前記中間槽屋根に支持される、三重殻タンク。
発明の詳細な説明
【技術分野】
【0001】
本開示は、内槽、中間槽、及び外槽を含む三重殻タンクに関する。
続きを表示(約 1,700 文字)
【背景技術】
【0002】
低温の液化ガスを貯蔵するタンクとして、下記特許文献1に示されるタンクが公知である。具体的に、特許文献1には、液化ガスが入る内槽と、内槽を収容する外槽と、内槽と外槽との間の空間(以下、保冷層という)にあるガスを不活性ガスに置換するパージ手段と、を備えた円筒形の二重殻タンクが開示されている。パージ手段は、外部から保冷層に不活性ガスを導入するとともに、この導入した不活性ガスによって保冷層内のガスを外槽の外部へと押し出す。
【先行技術文献】
【特許文献】
【0003】
特開昭58-156800号公報
【発明の概要】
【発明が解決しようとする課題】
【0004】
ここで、液化ガスを貯蔵するために、内槽と外槽との間にさらに中間槽を備えた三重殻タンクが用いられることがある。このような三重殻タンクにおいて、内槽と中間槽との間の空間である内側保冷層のガスを置換ガスに置換する処理(以下、パージ処理という)を行うには、例えば、内側保冷層から外槽の外部まで至る配管(ノズル)を設け、当該配管を通じて被置換ガスを排出することが考えられる。配管は、例えば屋根(中間槽屋根及び外槽屋根)を貫通するように設けることができる。この場合、配管の数が多くなると、当該配管に付随して用意すべき伸縮継手やバルブ等の部品がそれだけ多くなり、構造が複雑化するという問題がある。
【0005】
本開示は、前記のような事情に鑑みてなされたものであり、屋根を貫通する配管類の数を減らしながら効率よく内側保冷層をパージ処理することが可能な三重殻タンクを提供することを目的とする。
【課題を解決するための手段】
【0006】
前記課題を解決するためのものとして、本開示の一局面に係る三重殻タンクは、内槽屋根を含む内槽と、前記内槽屋根の上方を覆う中間槽屋根を含む中間槽と、前記中間槽屋根の上方を覆う外槽屋根を含む外槽と、前記中間槽と前記内槽との間の空間である内側保冷層からガスを排出するためのパージ管装置とを備え、前記パージ管装置は、前記中間槽屋根と前記内槽屋根との間に配置され、ガスを取り込むための複数の吸気口を有するベース管と、前記ベース管から上方に延びて前記中間槽屋根及び前記外槽屋根を貫通するノズル管とを含む、ものである。
【発明の効果】
【0007】
本開示の三重殻タンクによれば、屋根を貫通する配管類の数を減らしながら効率よく内側保冷層をパージ処理することができる。
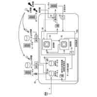
【図面の簡単な説明】
【0008】
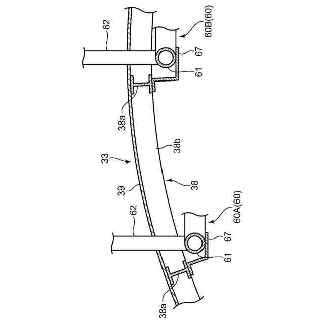
本開示の一実施形態に係る三重殻タンクの上部の構造を示す断面図である。
前記三重殻タンクの一部拡大断面図である。
パージ管装置の構造を示す斜視図である。
前記パージ管装置の支持構造を示す断面図である。
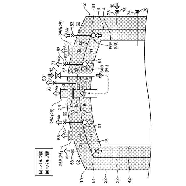
内槽のAirパージ中のガスの流れを示す図1相当図である。
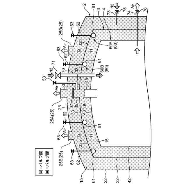
内側保冷層のAirパージ中のガスの流れを示す図1相当図である。
【発明を実施するための形態】
【0009】
[三重殻タンクの構造]
図1は、本開示の一実施形態に係る三重殻タンク1の上部の構造を示す断面図である。本図に示される三重殻タンク1は、液化水素LHを貯蔵する平底円筒型のタンクであって、図外のタンク基礎上に立設された外槽2と、外槽2の内部に収容された中間槽3と、中間槽3の内部に収容された内槽4とを備える。外槽2、中間槽3、及び内槽4は、いずれも上面視で円形状に形成され、かつ同心円状に配置されている。液化水素LHは、内槽4の内部に貯蔵されている。
【0010】
外槽2は、炭素鋼等の金属で構成された密閉体であり、前記タンク基礎の上面に敷設された円板状の外槽底板と、当該外槽底板の周縁から立設された円筒状の外槽側板22と、外槽側板22の上面開口を塞ぐ外槽屋根23とを含む。外槽屋根23は、上側に凸の球面を呈するドーム型の屋根である。
(【0011】以降は省略されています)
この特許をJ-PlatPat(特許庁公式サイト)で参照する
関連特許
川崎重工業株式会社
表面材
1か月前
川崎重工業株式会社
ロボット
1日前
川崎重工業株式会社
排ガス採取器
1か月前
川崎重工業株式会社
遠心ターボ機械
1日前
川崎重工業株式会社
ゼオライト触媒
1日前
川崎重工業株式会社
基板搬送ロボット
23日前
川崎重工業株式会社
基板搬送ロボット
23日前
川崎重工業株式会社
ロボットシステム
23日前
川崎重工業株式会社
ロボットシステム
23日前
川崎重工業株式会社
位置情報システム
23日前
川崎重工業株式会社
ロボットシステム
23日前
川崎重工業株式会社
基板搬送ロボット
23日前
川崎重工業株式会社
エンドエフェクタ
13日前
川崎重工業株式会社
基板搬送ロボット
23日前
川崎重工業株式会社
基板搬送ロボット
23日前
川崎重工業株式会社
クローズドインペラ
23日前
川崎重工業株式会社
正極活物質の再生方法
24日前
川崎重工業株式会社
液化ガス導入システム
1か月前
川崎重工業株式会社
環状フレームの成形方法
3日前
川崎重工業株式会社
ロボットシステム及びロボット
23日前
川崎重工業株式会社
電力供給システムおよびその制御方法
1か月前
川崎重工業株式会社
焼却灰の骨材化システムおよび骨材化方法
13日前
川崎重工業株式会社
焼却灰の骨材化システムおよび骨材化方法
13日前
川崎重工業株式会社
歯車装置の支持構造の診断装置及び診断方法
22日前
川崎重工業株式会社
水素の生産計画システムおよび生産計画方法
3日前
川崎重工業株式会社
液化ガス用配管ユニットおよびその組立方法
23日前
川崎重工業株式会社
白金族金属の可溶化方法及び金属の分離方法
1か月前
川崎重工業株式会社
ガスタービンエンジンの制御装置および制御方法
27日前
川崎重工業株式会社
移動体、給電システム及びワイヤレス式受電方法
14日前
川崎重工業株式会社
秘密計算システム、秘密計算方法及び秘密計算装置
今日
川崎重工業株式会社
手術支援システムおよび手術支援システムの制御方法
21日前
川崎重工業株式会社
手術支援システムおよび手術支援システムの制御方法
21日前
川崎重工業株式会社
手術支援システムおよび手術支援システムの制御方法
21日前
川崎重工業株式会社
異常診断装置、異常診断プログラムおよび異常診断方法
3日前
川崎重工業株式会社
ロボット移動システム、ロボット移動方法及びロボット移動プログラム
1か月前
ヤンマーホールディングス株式会社
燃料供給装置及びエンジンシステム
13日前
続きを見る
他の特許を見る