TOP
|
特許
|
意匠
|
商標
特許ウォッチ
Twitter
他の特許を見る
公開番号
2025032895
公報種別
公開特許公報(A)
公開日
2025-03-12
出願番号
2023138406
出願日
2023-08-28
発明の名称
三重殻タンク
出願人
川崎重工業株式会社
代理人
個人
,
個人
主分類
F17C
13/00 20060101AFI20250305BHJP(ガスまたは液体の貯蔵または分配)
要約
【課題】中間槽屋根のマンホールが閉鎖された状況でも内側保冷層をパージ処理できるようにする。
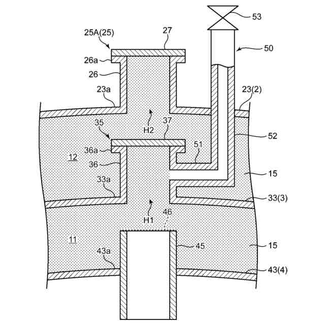
【解決手段】三重殻タンク(1)は、内槽屋根(43)を含む内槽(4)と、内槽屋根(43)の上方を覆う中間槽屋根(33)を含む中間槽(3)と、中間槽屋根(33)の上方を覆う外槽屋根(23)を含む外槽(2)と、中間槽屋根(33)に形成された穴(H1)を底として上方に延びる筒状の胴部(36)と当該胴部(36)の上端開口を閉鎖する蓋部(37)とを含むマンホール(35)と、マンホール(35)の胴部(36)から分岐して上方に延び、外槽屋根(23)を貫通するノズル(50)とを備える。
【選択図】図2
特許請求の範囲
【請求項1】
内槽屋根を含む内槽と、
前記内槽屋根の上方を覆う中間槽屋根を含む中間槽と、
前記中間槽屋根の上方を覆う外槽屋根を含む外槽と、
前記中間槽屋根に形成された穴を底として上方に延びる筒状の胴部と、前記外槽屋根の下方において前記胴部の上端開口を閉鎖する蓋部と、を含むマンホールと、
前記マンホールの前記胴部から分岐して上方に延び、前記外槽屋根を貫通するノズルとを備えた、三重殻タンク。
続きを表示(約 460 文字)
【請求項2】
請求項1に記載の三重殻タンクにおいて、
前記中間槽屋根は、ドーム状に形成され、
前記マンホールは、前記中間槽屋根の頂部に設けられる、三重殻タンク。
【請求項3】
請求項2に記載の三重殻タンクにおいて、
前記マンホールから径方向外側に離れた前記中間槽屋根の肩部に設けられ、前記中間槽屋根及び前記外槽屋根を共に貫通する追加ノズルをさらに備えた、三重殻タンク。
【請求項4】
請求項1~3のいずれか1項に記載の三重殻タンクにおいて、
前記内槽と前記中間槽との間の空間である内側保冷層と前記内槽の内部とを連通する連通管と、
前記内槽の内部と前記外槽の外部とを連通する供給管とをさらに備えた、三重殻タンク。
【請求項5】
請求項4に記載の三重殻タンクにおいて、
前記連通管は、前記内槽屋根を貫通するように設けられ、
前記マンホールは、前記中間槽屋根のうち前記連通管の直上方にあたる位置に設けられる、三重殻タンク。
発明の詳細な説明
【技術分野】
【0001】
本開示は、内槽、中間槽、及び外槽を含む三重殻タンクに関する。
続きを表示(約 1,700 文字)
【背景技術】
【0002】
低温の液化ガスを貯蔵するタンクとして、下記特許文献1に示されるタンクが公知である。具体的に、特許文献1には、液化ガスが入る内槽と、内槽を収容する外槽と、内槽と外槽との間の空間(以下、保冷層という)にあるガスを不活性ガスに置換するパージ手段と、を備えた円筒形の二重殻タンクが開示されている。パージ手段は、外部から保冷層に不活性ガスを導入するとともに、この導入した不活性ガスによって保冷層内のガスを外槽の外部へと押し出す。
【先行技術文献】
【特許文献】
【0003】
特開昭58-156800号公報
【発明の概要】
【発明が解決しようとする課題】
【0004】
ここで、液化ガスを貯蔵するために、内槽と外槽との間にさらに中間槽を備えた三重殻タンクが用いられることがある。このような三重殻タンクにおいて、外槽と中間槽との間の空間である外側保冷層のガスを置換ガスに置換する処理(以下、パージ処理という)を行う場合は、例えば外槽屋根に設けられたマンホールを通じて被置換ガスを外部に排出することができる。しかしながら、内槽と中間槽との間の空間である内側保冷層をパージ処理する場合は、同様の方法を適用できない。すなわち、中間槽屋根のマンホールはパージ処理の際に塞がれているので、当該マンホールを通じて内側保冷層から被置換ガスを排出することができない。
【0005】
本開示は、前記のような事情に鑑みてなされたものであり、中間槽屋根のマンホールが閉鎖された状況でも内側保冷層をパージ処理することが可能な三重殻タンクを提供することを目的とする。
【課題を解決するための手段】
【0006】
前記課題を解決するためのものとして、本開示の一局面に係る三重殻タンクは、内槽屋根を含む内槽と、前記内槽屋根の上方を覆う中間槽屋根を含む中間槽と、前記中間槽屋根の上方を覆う外槽屋根を含む外槽と、前記中間槽屋根に形成された穴を底として上方に延びる筒状の胴部と、前記外槽屋根の下方において前記胴部の上端開口を閉鎖する蓋部と、を含むマンホールと、前記マンホールの前記胴部から分岐して上方に延び、前記外槽屋根を貫通するノズルと、を備えたものである。
【発明の効果】
【0007】
本開示の三重殻タンクによれば、中間槽屋根のマンホールが閉鎖された状況でも内側保冷層をパージ処理することができる。
【図面の簡単な説明】
【0008】
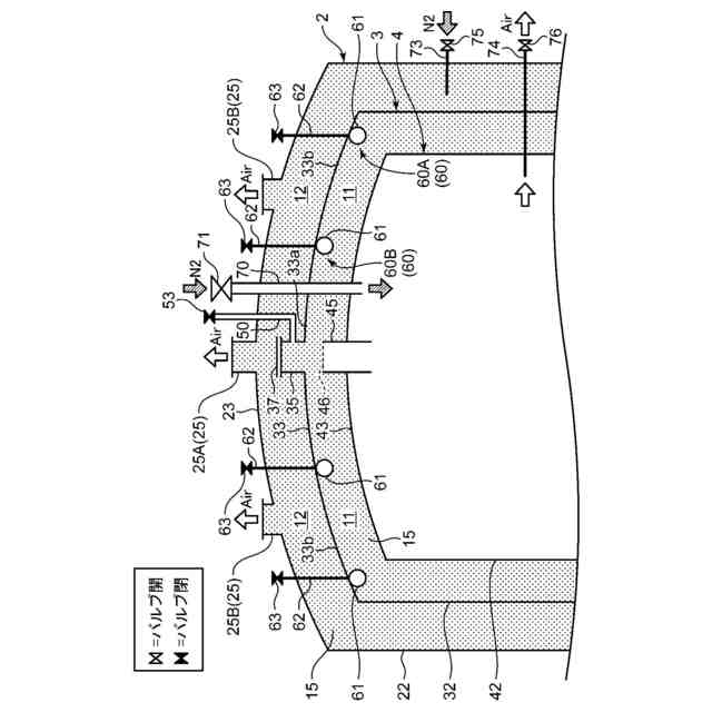
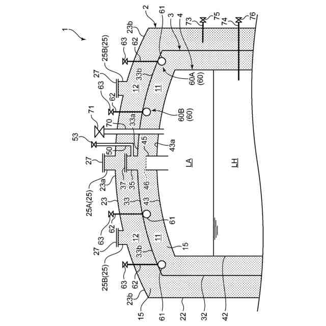
本開示の一実施形態に係る三重殻タンクの上部の構造を示す断面図である。
前記三重殻タンクの一部拡大断面図である。
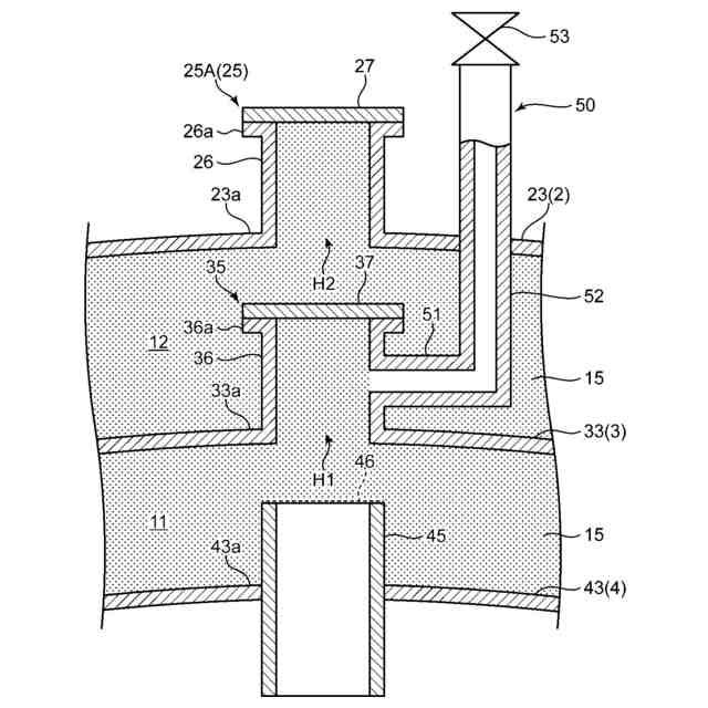
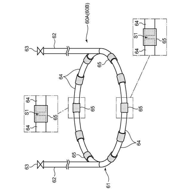
パージ管装置の構造を示す斜視図である。
前記パージ管装置の支持構造を示す断面図である。
内槽のAirパージ中のガスの流れを示す図1相当図である。
内側保冷層のAirパージ中のガスの流れを示す図1相当図である。
【発明を実施するための形態】
【0009】
[三重殻タンクの構造]
図1は、本開示の一実施形態に係る三重殻タンク1の上部の構造を示す断面図である。本図に示される三重殻タンク1は、液化水素LHを貯蔵する平底円筒型のタンクであって、図外のタンク基礎上に立設された外槽2と、外槽2の内部に収容された中間槽3と、中間槽3の内部に収容された内槽4とを備える。外槽2、中間槽3、及び内槽4は、いずれも上面視で円形状に形成され、かつ同心円状に配置されている。液化水素LHは、内槽4の内部に貯蔵されている。
【0010】
外槽2は、炭素鋼等の金属で構成された密閉体であり、前記タンク基礎の上面に敷設された円板状の外槽底板と、当該外槽底板の周縁から立設された円筒状の外槽側板22と、外槽側板22の上面開口を塞ぐ外槽屋根23とを含む。外槽屋根23は、上側に凸の球面を呈するドーム型の屋根である。
(【0011】以降は省略されています)
この特許をJ-PlatPat(特許庁公式サイト)で参照する
関連特許
川崎重工業株式会社
ロボット
5日前
川崎重工業株式会社
ロボット
7日前
川崎重工業株式会社
ダクト継手
5日前
川崎重工業株式会社
ゼオライト触媒
7日前
川崎重工業株式会社
遠心ターボ機械
7日前
川崎重工業株式会社
エンドエフェクタ
19日前
川崎重工業株式会社
締結方法及び締結装置
5日前
川崎重工業株式会社
極低温流体用配管設備
今日
川崎重工業株式会社
環状フレームの成形方法
9日前
川崎重工業株式会社
ガス燃料供給システムおよび船舶
5日前
川崎重工業株式会社
配管の接続構造および配管システム
1日前
川崎重工業株式会社
ロボットシステム及びその動作方法
今日
川崎重工業株式会社
焼却灰の骨材化システムおよび骨材化方法
19日前
川崎重工業株式会社
焼却灰の骨材化システムおよび骨材化方法
19日前
川崎重工業株式会社
水素の生産計画システムおよび生産計画方法
9日前
川崎重工業株式会社
油圧ショベルの油圧システムおよびブーム制御弁
1日前
川崎重工業株式会社
移動体、給電システム及びワイヤレス式受電方法
20日前
川崎重工業株式会社
秘密計算システム、秘密計算方法及び秘密計算装置
6日前
川崎重工業株式会社
手術支援システムおよび手術支援システムの制御方法
27日前
川崎重工業株式会社
異常診断装置、異常診断プログラムおよび異常診断方法
9日前
川崎重工業株式会社
極低温用圧縮設備、及びそれを備えるボイルオフガス液化システム
今日
ヤンマーホールディングス株式会社
燃料供給装置及びエンジンシステム
19日前
川崎重工業株式会社
手術支援ロボット、手術支援システムおよび手術支援ロボットの制御方法
今日
川崎重工業株式会社
手術支援システム、手術支援システムの制御装置および手術支援システムの制御方法
19日前
株式会社石井鐵工所
低温タンクの揚液装置
3か月前
株式会社石井鐵工所
低温タンクの揚液装置
5か月前
川崎重工業株式会社
竪型タンク
4か月前
有限会社 両国設備
液体容器の加熱器
10か月前
川崎重工業株式会社
三重殻タンク
7か月前
川崎重工業株式会社
三重殻タンク
7か月前
川崎重工業株式会社
極低温流体用配管設備
今日
株式会社神戸製鋼所
ガス供給システム
10か月前
トヨタ自動車株式会社
高圧タンク
10か月前
川崎重工業株式会社
液化水素貯蔵タンク
8か月前
川崎重工業株式会社
液化ガス貯蔵タンク
8か月前
川崎重工業株式会社
液化水素貯蔵タンク
8か月前
続きを見る
他の特許を見る