TOP
|
特許
|
意匠
|
商標
特許ウォッチ
Twitter
他の特許を見る
公開番号
2025153094
公報種別
公開特許公報(A)
公開日
2025-10-10
出願番号
2024055385
出願日
2024-03-29
発明の名称
燃焼システム
出願人
三浦工業株式会社
代理人
個人
,
個人
主分類
F23K
5/00 20060101AFI20251002BHJP(燃焼装置;燃焼方法)
要約
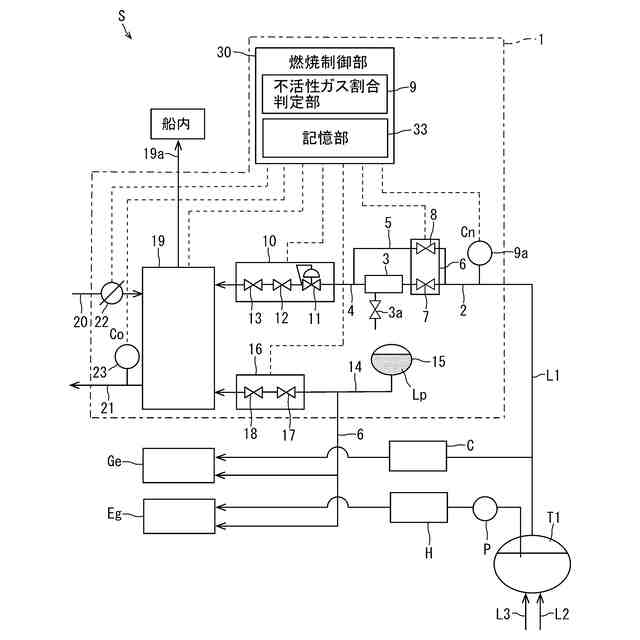
【課題】炭化水素ガスの大気放出を抑制しつつ、助燃用燃料を不活性ガスと炭化水素ガスとを含む混合ガスと混焼させることによる温室効果ガスの排出を抑制することができる燃焼システムを実現することにある。
【解決手段】燃焼システム1は、混合ガスGmから、窒素ガスGnの少なくとも一部を分離膜によって分離した処理ガスGpを生成する膜分離装置3と、メタンガスGh、混合ガスGmおよび処理ガスGpの少なくともいずれかを燃焼可能なボイラ19と、膜分離装置3に対する混合ガスGmの供給を制御する混合ガス制御部6と、を備える。混合ガス制御部6は、不活性ガス割合判定部9によって、前記割合が第1閾値よりも大きいと判定された場合、混合ガスライン2から膜分離装置3に混合ガスGmを供給する。
【選択図】図1
特許請求の範囲
【請求項1】
炭化水素ガスと不活性ガスとの混合ガスから、前記不活性ガスの少なくとも一部を分離膜によって分離した処理ガスを生成する膜分離装置と、
前記混合ガスを前記膜分離装置に供給する混合ガスラインと、
前記炭化水素ガス、前記混合ガスおよび前記処理ガスの少なくともいずれかを燃焼可能な燃焼装置と、
前記燃焼装置に前記炭化水素ガス、前記混合ガスおよび前記処理ガスの少なくともいずれかを供給する燃料ガスラインと、
前記膜分離装置に対する前記混合ガスの供給を制御する混合ガス制御部と、を備え、
前記混合ガス制御部は、
前記混合ガスに含まれる不活性ガスの割合を判定する不活性ガス割合判定部を備え、
前記不活性ガス割合判定部によって、前記割合が第1閾値よりも大きいと判定された場合、前記混合ガスラインから前記膜分離装置に前記混合ガスを供給する、
燃焼システム。
続きを表示(約 1,100 文字)
【請求項2】
請求項1に記載の燃焼システムにおいて、
前記燃焼装置は、
燃料ガスである前記炭化水素ガス、前記混合ガスおよび前記処理ガスの少なくともいずれかと、前記混合ガスまたは前記処理ガスを燃焼させるための助燃用燃料と、を燃焼可能なバーナと、
前記燃焼装置の燃焼を制御する燃焼制御部と、を備え、
前記燃焼制御部は、
前記バーナに供給される前記燃料ガスの燃焼により発生する熱量を判定する燃焼熱量判定部を備え、前記燃焼熱量判定部によって前記バーナに供給される前記混合ガスおよび前記処理ガスの少なくともいずれかの燃焼により発生する熱量が第2閾値未満と判定された場合、前記混合ガスおよび前記処理ガスの少なくともいずれかと、前記助燃用燃料とを燃焼するように制御する、
燃焼システム。
【請求項3】
請求項1に記載の燃焼システムにおいて、
前記燃焼装置は、
燃料ガスである前記炭化水素ガス、前記混合ガスおよび前記処理ガスの少なくともいずれかと、前記混合ガスまたは前記処理ガスを燃焼させるための助燃用燃料と、を燃焼可能なバーナと、
前記燃焼装置の燃焼を制御する燃焼制御部と、を備え、
前記燃焼制御部は、
前記バーナに供給される前記燃料ガスの燃焼により発生する熱量の大きさを判定する燃焼熱量判定部を備え、前記燃焼熱量判定部によって前記バーナに供給される前記混合ガスおよび前記処理ガスの少なくともいずれかの燃焼により発生する熱量が第2閾値未満と判定された場合、前記混合ガス制御部によって前記膜分離装置に前記混合ガスが供給されてから所定時間経過後に、前記混合ガスおよび前記処理ガスの少なくともいずれかと、前記助燃用燃料とを燃焼するように制御する、
燃焼システム。
【請求項4】
請求項2または3のいずれか一項に記載の燃焼システムにおいて、
前記燃焼装置は、
前記燃料ガスラインに設けられ、前記燃料ガスの流量を調整する燃料ガス流量調整部と、
燃焼用空気が供給される空気供給ラインと、
前記空気供給ラインに設けられ、前記燃焼用空気の流量を調整する空気流量調整部と、
排ガス中の酸素濃度を検知する排ガス酸素濃度検知部と、を備え、
前記燃焼熱量判定部は、
前記燃料ガス流量調整部のガス燃料流量調整値と、前記空気流量調整部の空気流量調整値と、前記排ガス酸素濃度検知部の検知値とに基づいて、前記バーナに供給される前記燃料ガスの燃焼により発生する熱量を算出する、
燃焼システム。
発明の詳細な説明
【技術分野】
【0001】
本発明は、不活性ガスを含む炭化水素ガスを燃焼させる燃焼システムに関連する。
続きを表示(約 2,800 文字)
【背景技術】
【0002】
天然ガスは、船舶によって輸送する場合、大気圧下において約-160℃に冷却することで液化した状態(液化ガス)で輸送されている。このような液化ガスを輸送する船舶は、内部を極低温状態に保持可能な断熱、防熱機能を有する液化ガスタンク内に液化ガスを貯蔵して輸送する。前記液化ガスタンク内には、前記液化ガスタンク内に侵入した熱によって液化ガスが気化したボイルオフガス(以下、単に「BOG」と記載する。部材名、用語、名称等に含まれている「ボイルオフガス」ついても「BOG」と記載するものとする。)が発生する。BOGの発生によりタンク圧が上昇した前記液化ガスタンクは、許容タンク圧に到達する前記液化ガスタンクの外部にBOGを排出する必要がある。一方、近年のSDGs等への社会的要請の高まりにより、地球温暖化係数が高いBOGの大気放出の抑制が求められている。特許文献1には、前記液化ガスタンク内に発生したBOGを、ボイラで継続して燃焼するボイラシステムが記載されている。
【0003】
液化ガスタンクを備えた船舶では、ドック入りの際、ダンク保守作業に伴って、液化ガスタンクのガスフリーおよびガッシングアップが行われる。このとき、前記液化ガスタンクから排出される天然ガス等の炭化水素ガスと不活性ガス(窒素など)とが混合された混合ガスの処理が必要となる。ガスフリーにおいては、炭化水素ガスで満たされた液化ガスタンク内に徐々に不活性ガスが供給され、前記液化ガスタンク内から炭化水素ガスが排出される。前記液化ガスタンク内の天然ガス割合は次第に低下し、液化ガスタンク内の天然ガスは、やがて不活性ガスに置換される。ガッシングアップにおいては、不活性ガスで満たされた液化ガスタンクに徐々に炭化水素ガスが供給され、前記液化ガスタンク内から不活性ガスが排出される。前記液化ガスタンク内の不活性ガス割合は次第に低下し、液化ガスタンク内の不活性ガスは、やがて炭化水素ガスに置換される。炭化水素ガスから不活性ガスへの置換および不活性ガスから炭化水素ガスへの置換を行う間に、炭化水素ガスと不活性ガスとの混合ガスが排出される。
【0004】
特許文献1に記載のボイラシステムは、前記液化ガスタンクから排出されるBOGに含まれる不活性ガスの混合割合に応じボイラに対する燃料の供給を制御する。前記ボイラは、供給されるBOG中の不活性ガスの混合割合が基準値よりも大きい場合、燃焼を安定化させるために、不活性ガスが含まれるBOGと液体燃料等とを前記ボイラに供給し燃焼する。
【先行技術文献】
【特許文献】
【0005】
特開2024-2780号公報
【発明の概要】
【発明が解決しようとする課題】
【0006】
特許文献1に記載のボイラシステムは、不活性ガスの割合が高いために単体での燃焼が難しい混合ガスを燃焼させるために、前記混合ガスと助燃用燃料とを混焼する。つまり、前記ボイラシステムは、単体での燃焼が難しい混合ガスの大気放出を抑制する一方で、助燃用燃料の燃焼により発生した温暖効果ガス(二酸化炭素など)を大気放出している。よって、前記ボイラシステムは、供給されるBOG中の不活性ガスの混合割合が基準値よりも大きい場合、助燃用燃料の燃焼によって、温室効果ガスの排出量が増大することが課題であった。
【0007】
本発明の目的は、不活性ガスと炭化水素ガスとを含む混合ガスの大気放出の抑制において、混合ガス中の不活性ガスの混合割合が助燃用燃料の燃焼が必要になる程に増加した場合であっても、助燃用燃料を混焼することなく燃焼処理可能な混合ガスにおける不活性ガス割合の範囲を拡大し、燃焼による二酸化炭素の発生を抑制しつつ温室効果ガスの排出を抑制することができる燃焼システムを実現することにある。
【課題を解決するための手段】
【0008】
本発明の一実施形態に係る燃焼システムは、炭化水素ガスと不活性ガスとの混合ガスから、前記不活性ガスの少なくとも一部を分離膜によって分離した処理ガスを生成する膜分離装置と、前記混合ガスを前記膜分離装置に供給する混合ガスラインと、前記炭化水素ガス、前記混合ガスおよび前記処理ガスの少なくともいずれかを燃焼可能な燃焼装置と、前記燃焼装置に前記炭化水素ガス、前記混合ガスおよび前記処理ガスの少なくともいずれかを供給する燃料ガスラインと、前記膜分離装置に対する前記混合ガスの供給を制御する混合ガス制御部と、を備える。前記混合ガス制御部は、前記混合ガスに含まれる不活性ガスの割合を判定する不活性ガス割合判定部を備える。前記混合ガス制御部は、前記不活性ガス割合判定部によって、前記割合が第1閾値よりも大きいと判定された場合、前記混合ガスラインから前記膜分離装置に前記混合ガスを供給する。
【0009】
上述の燃焼システムは、混合ガスに含まれる不活性ガスの割合が第1閾値よりも大きい場合、燃焼装置において適切な燃焼状態を維持するために、膜分離装置によって混合ガスから不活性ガスの少なくとも一部を分離する。不活性ガスの少なくとも一部が分離された処理ガスにおける炭化水素ガスの割合は、分離前の混合ガスにおける炭化水素ガスの割合よりも増加する。よって、前記燃焼システムは、混合ガスに含まれる不活性ガスの割合が第1閾値よりも大きい場合、前記膜分離装置によって炭化水素ガスの割合を増加させることにより、助燃用燃料を供給することなく燃焼装置において処理ガスを継続して燃焼処理する。これにより、不活性ガスと炭化水素ガスが混合される場合においても、助燃用燃料を混焼することなく燃焼処理可能な混合ガスにおける不活性ガス割合の範囲を拡大し、燃焼による二酸化炭素の発生を抑制しつつ温室効果ガスの排出を削減することができる。
【0010】
他の観点によれば、本発明の燃焼システムは、以下の構成を含むことが好ましい。前記燃焼装置は、燃料ガスである前記炭化水素ガス、前記混合ガスおよび前記処理ガスの少なくともいずれかと、前記混合ガスまたは前記処理ガスを燃焼させるための助燃用燃料と、を燃焼可能なバーナと、前記燃焼装置の燃焼を制御する燃焼制御部と、を備える。前記燃焼制御部は、前記バーナに供給される前記燃料ガスの燃焼により発生する熱量を判定する燃焼熱量判定部を備え、前記燃焼熱量判定部によって前記バーナに供給される前記混合ガスおよび前記処理ガスの少なくともいずれかの燃焼により発生する熱量が第2閾値未満と判定された場合、前記混合ガスおよび前記処理ガスの少なくともいずれかと、前記助燃用燃料とを燃焼するように制御する。
(【0011】以降は省略されています)
この特許をJ-PlatPat(特許庁公式サイト)で参照する
関連特許
三浦工業株式会社
燃焼装置
3日前
三浦工業株式会社
燃焼システム
1日前
三浦工業株式会社
水蒸気発生装置
1日前
三浦工業株式会社
ウエスコポンプ
1日前
三浦工業株式会社
二重管接続構造
2日前
三浦工業株式会社
汚泥減容システム
1日前
三浦工業株式会社
船舶用発電システム
8日前
東京瓦斯株式会社
電力供給システム
1日前
個人
煙突煤払い掃除機
2か月前
個人
燃焼炉の操業方法
1か月前
個人
ウッドガスストーブ
10日前
個人
形見の製造方法
16日前
コーキ株式会社
煙突
1か月前
株式会社トヨトミ
石油燃焼器
4日前
株式会社豊田自動織機
耐熱部材
1か月前
株式会社パロマ
燃焼装置
3か月前
株式会社トヨトミ
固体燃料燃焼器
4か月前
株式会社オメガ
熱風発生装置
4か月前
株式会社サイトウ工研
焚き火台
1日前
三浦工業株式会社
ボイラ
6か月前
三浦工業株式会社
ボイラ
4か月前
株式会社フクハラ
充填物処理方法
3か月前
個人
回転キルンを利用した燻炭製造方法
3か月前
株式会社タクマ
付着物除去システム
3か月前
東京パイプ株式会社
着火器具
2か月前
リンナイ株式会社
燃焼装置
3か月前
大陽日酸株式会社
バーナ
4か月前
大陽日酸株式会社
バーナ
5か月前
三浦工業株式会社
燃焼システム
1日前
大陽日酸株式会社
バーナ
4か月前
三浦工業株式会社
水素燃焼ボイラ
23日前
株式会社アドバンテック
燃焼装置
22日前
株式会社アドバンテック
燃焼装置
22日前
株式会社アドバンテック
燃焼装置
22日前
山形化成工業株式会社
手持ち式着火用具
1か月前
リンナイ株式会社
予混合装置
6か月前
続きを見る
他の特許を見る