TOP
|
特許
|
意匠
|
商標
特許ウォッチ
Twitter
他の特許を見る
公開番号
2025054939
公報種別
公開特許公報(A)
公開日
2025-04-08
出願番号
2023164186
出願日
2023-09-27
発明の名称
山留めアンカーの位置測量方法
出願人
株式会社熊谷組
代理人
個人
,
個人
主分類
E02D
17/04 20060101AFI20250401BHJP(水工;基礎;土砂の移送)
要約
【課題】アンカーの位置を正確に決定することのできる、山留めアンカーの位置測量方法を提供する。
【解決手段】山留めアンカーは、山留め壁の壁構造体(親杭1及び横矢板)を貫通して地盤中へと斜めに埋設される。アンカーの位置測量方法では、まず、壁構造体に対して水平に配される腹起しを下方から支持する腹起しブラケット5Lを壁構造体(一対の親杭1)にそれぞれ固定する。次に、壁構造体の設計基準位置Aに基づいて、アンカー定規10を、一対の腹起しブラケット5Lに架け渡されるように一対の腹起しブラケット5Lの所定位置に設置する。なお、アンカー定規10は、その上部にアンカーの斜め角度に対応する傾斜に対応した基準面10pを有している。次に、一対の腹起しブラケット5L上に設置されたアンカー定規10の基準面10pを用いて、壁構造体上におけるアンカーの貫通位置Cを測量する。
【選択図】図3
特許請求の範囲
【請求項1】
山留め壁の壁構造体を貫通して地盤中へと斜めに埋設される山留めアンカーの位置測量方法であって、
前記壁構造体に対して水平に配される腹起しを下方から支持する一対の腹起しブラケットを前記壁構造体にそれぞれ固定し、
前記壁構造体の設計基準位置に基づいて、上部にアンカーの斜め角度に対応する傾斜に対応した基準面を有するアンカー定規を、一対の前記腹起しブラケットに架け渡されるように一対の前記腹起しブラケットの所定位置に設置し、
一対の前記腹起しブラケット上に設置された前記アンカー定規の前記基準面を用いて、前記壁構造体上における前記アンカーの貫通位置を測量する、山留めアンカーの位置測量方法。
続きを表示(約 420 文字)
【請求項2】
前記腹起しブラケットの前記所定位置への設置に際して、前記腹起しブラケットに前記壁構造体の前記設計基準位置をマーキングし、
マーキングされた前記壁構造体の前記設計基準位置に基づいて、前記腹起しブラケットの前記所定位置に前記アンカー定規を設置する、請求項1に記載の山留めアンカーの位置測量方法。
【請求項3】
前記壁構造体が、垂直に打設された一対の親杭と、一対の前記親杭との間に垂直に積み重ねられた横矢板とを備えており、
前記一対の腹起しブラケットが一対の前記親杭にそれぞれ固定される、請求項1又は2に記載の山留めアンカーの位置測量方法。
【請求項4】
前記壁構造体が、水平に方向に並べて垂直に打設された複数の縦矢板を備えており、
前記一対の腹起しブラケットが複数の前記縦矢板のうちの一対の縦矢板にそれぞれ固定される、請求項1又は2に記載の山留めアンカーの位置測量方法。
発明の詳細な説明
【技術分野】
【0001】
本発明は、山留めアンカーの位置測量方法に関する。
続きを表示(約 2,000 文字)
【背景技術】
【0002】
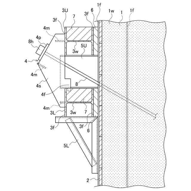
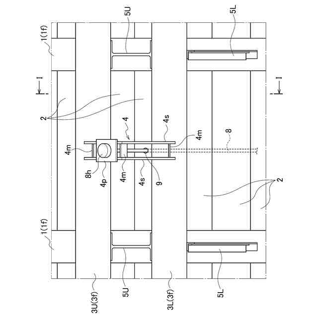
山留めは、土留めとも呼ばれ、地盤を掘削する際に、周囲の地盤が崩れないように矢板など壁構造体により地盤の崩壊を抑える仮設構造物のことである。特にその壁構造体は山留め壁と呼ばれることもある。山留めを設置した周囲が軟弱地盤である場合や山留めの掘削深さが深くなる場合、山留めには、地盤の圧力(土圧)に対抗できるように、グラウンドアンカー(以下、単にアンカーと呼ぶ)が設置される。山留めの種類として、親杭と称するH形鋼を間隔を開けて鉛直に打設し、隣接する親杭のフランジ間に横矢板を積み重ねて壁構造体を構築する工法がある。下記特許文献1は、このような形態の山留めを開示している。
【0003】
アンカーを取り付ける場合は、垂直に打設された複数の親杭の側面には腹起こしと呼ばれる横架材が水平に架け渡される。腹起こしは、親杭の側面に溶接されたブラケットで下方から支持される。腹起こしは、通常、平行に二段設けられる。アンカーの一端(頭部)が取り付けられる台座は、隣接する親杭の中央で一対の腹起こしに取り付けられる。即ち、台座は横矢板の正面に位置し、アンカーは横矢板を貫通して地盤内へと斜め下方に延設される。アンカーの他端は硬質地盤などの定着対象地盤に達するまで延設され、当該他端に取り付けられた定着体が定着対象地盤に定着される。アンカーは、台座と定着体の間で張力が作用した状態で設置される。
【先行技術文献】
【特許文献】
【0004】
特開2001-3364号公報
【発明の概要】
【発明が解決しようとする課題】
【0005】
アンカーは、地盤に斜めに掘削されるアンカー孔内に挿入されて設置される。この際、まず、横矢板にアンカー孔の削孔開始位置となる始点孔が開けられ、この始点孔から斜めに地盤を削孔してアンカー孔が形成される。ここで、親杭の打設位置が支えるべき地盤に対して奥側又は手前側にズレた場合、親杭の打設位置のズレに伴って横矢板の位置も地盤に対して奥側又は手前側にズレる。横矢板上の始点孔の位置を垂直高さの水準測量のみで決めてしまうと、アンカー孔の掘削開始位置が地盤に対して奥側又は手前側にズレてしまう。この場合、斜めに削孔されるアンカー孔の先端の定着体の位置も奥側又は手前側にズレるだけでなく、上側又は下側にもズレてしまう。
【0006】
定着体が定着対象地盤に確実に定着されることがアンカーを正常に機能させるためには重要である。このためには、アンカー孔の位置、即ち、その削孔開始位置となる始点孔の位置は横矢板に対してではなく地盤に対して正確に決定される必要がある。本願発明の目的は、アンカーの位置を正確に決定することのできる、山留めアンカーの位置測量方法を提供することにある。
【課題を解決するための手段】
【0007】
本発明に係る山留めアンカーの位置測量方法では、山留め壁の壁構造体を貫通して地盤中へと斜めに埋設される山留めアンカーの位置が測量される。上記位置測量方法では、(1)前記壁構造体に対して水平に配される腹起しを下方から支持する腹起しブラケットを前記壁構造体にそれぞれ固定し、(2)前記壁構造体の設計基準位置に基づいて、上部にアンカーの斜め角度に対応する傾斜に対応した基準面を有するアンカー定規を、一対の前記腹起しブラケットに架け渡されるように一対の前記腹起しブラケットの所定位置に設置し、(3)一対の前記腹起しブラケット上に設置された前記アンカー定規の前記基準面を用いて、前記壁構造体上における前記アンカーの貫通位置を測量する。なお、ここでは、山留め壁全体の構成のうちの一部の最小構成のみが規定されている。実際には、この最小構成を複数備えて山留め壁全体が構成される。
【発明の効果】
【0008】
本発明に係る山留めアンカーの位置測量方法によれば、アンカーの位置を正確に決定することができる。
【図面の簡単な説明】
【0009】
山留めのアンカー頭部周辺を示す側面図(一部断面図)である。
山留めのアンカー頭部周辺を示す正面図である。
実施形態に係る山留めアンカーの位置測量方法を説明するための概略側面図である。
上記方法を説明するための斜視図である。
【発明を実施するための形態】
【0010】
実施形態に係る山留めアンカーの位置測量方法について説明するが、まずは、山留め壁のアンカーの頭部周辺の構成について、図1及び図2を参照して説明する。この構成自体は公知の構成であるため、簡潔に説明する。
(【0011】以降は省略されています)
この特許をJ-PlatPat(特許庁公式サイト)で参照する
関連特許
株式会社熊谷組
長机
4日前
株式会社熊谷組
ノズル
2か月前
株式会社熊谷組
木質材料
16日前
株式会社熊谷組
吊り治具
3日前
株式会社熊谷組
木材接合部材
3日前
株式会社熊谷組
密度計測方法
4日前
株式会社熊谷組
RI計測装置
4日前
株式会社熊谷組
床版接合構造
6日前
株式会社熊谷組
濁水処理システム
4か月前
株式会社熊谷組
観測装置の防塵装置
1か月前
株式会社熊谷組
観測装置の防塵装置
1か月前
株式会社熊谷組
鉄筋コンクリート梁
25日前
株式会社熊谷組
コンクリート打設装置
17日前
株式会社熊谷組
コンクリート打設装置
17日前
株式会社熊谷組
床版、及び、床版接合方法
4か月前
株式会社熊谷組
アクアポニックスシステム
2日前
株式会社熊谷組
床版継手装置、及び、床版
6日前
株式会社熊谷組
杭頭処理構造、杭頭処理方法
6日前
株式会社熊谷組
吊り下げ物の防振構造改良方法
6日前
株式会社熊谷組
壁体構築方法および鉄筋連結構造
6日前
株式会社熊谷組
壁体構築方法およびアンカー部材
6日前
株式会社熊谷組
骨材管理システムおよび骨材管理方法
2か月前
国立大学法人東北大学
重金属の不溶化方法
3日前
岐阜工業株式会社
コンクリート用流量調整弁
2日前
ベルテクス株式会社
コンクリート部材の継手構造
2日前
株式会社熊谷組
床版、及び、床版製造方法、並びに、床版接合構造
4か月前
株式会社熊谷組
傾斜地用コンクリート打設装置へのコンクリート積込方法
17日前
株式会社熊谷組
トンネル坑内での重量物横移動方法及び重量物横移動装置
24日前
ベルテクス株式会社
コンクリート部材の取付構造とその成型に用いる抜き型
2日前
個人
鋼管
17日前
FKS株式会社
擁壁
6日前
鈴健興業株式会社
敷板部材
2日前
株式会社クボタ
作業車
4日前
株式会社クボタ
作業車
4日前
株式会社奥村組
ケーソン工法
9日前
個人
擁壁用ブロックおよび擁壁
3日前
続きを見る
他の特許を見る