TOP
|
特許
|
意匠
|
商標
特許ウォッチ
Twitter
他の特許を見る
公開番号
2025143676
公報種別
公開特許公報(A)
公開日
2025-10-02
出願番号
2024043026
出願日
2024-03-19
発明の名称
木材接合部材
出願人
株式会社熊谷組
代理人
個人
主分類
E04B
1/58 20060101AFI20250925BHJP(建築物)
要約
【課題】木材に対する加工が容易で、木材の加工コストを抑えることができる木材接合部材を提供する。
【解決手段】本発明の木材接合部材1は、一方の木材に取付けられる一方側取付部材2Aと、他方の木材に取付けられる他方側取付部材2Bと、一方側取付部材と他方側取付部材と繋ぐ繋ぎ部材3と、固定手段4A,4Bとを備え、一方側取付部材、及び、他方側取付部材は、管部20を備え、管部20は、木材に形成された穴に嵌合する嵌合管部21と、穴の外側に突出させる接続側管部22とを備え、嵌合管部21は、複数の接着剤充填用貫通孔23を備え、接続側管部22は、固定手段を構成する軸材(ボルト40の軸部)を貫通させるための軸材貫通孔24を備え、繋ぎ部材3は、一方側取付部材及び他方側取付部材の接続側管部22,22が挿入されて、接続側管部22の軸材貫通孔24と合致する軸材貫通孔34を備えた管により構成された。
【選択図】図1
特許請求の範囲
【請求項1】
一方の木材に取付けられる一方側取付部材と、他方の木材に取付けられる他方側取付部材と、一方側取付部材と他方側取付部材と繋ぐ繋ぎ部材と、一方側取付部材と繋ぎ部材とを固定する一方側の固定手段と、他方側取付部材と繋ぎ部材とを固定する他方側の固定手段とを備えて構成された木材接合部材であって、
一方側取付部材、及び、他方側取付部材は、管部を備え、
管部は、木材に形成された穴に嵌合する嵌合管部と、穴の外側に突出させる接続側管部とを備え、
嵌合管部は、管の内側から管の外側に接着剤を流出させるための複数の接着剤充填用貫通孔を備え、
接続側管部は、固定手段を構成する軸材を貫通させるための軸材貫通孔を備え、
繋ぎ部材は、一方側取付部材の接続側管部及び他方側取付部材の接続側管部が挿入されて、接続側管部の軸材貫通孔と合致する軸材貫通孔を備えた管により構成されたことを特徴とする木材接合部材。
続きを表示(約 150 文字)
【請求項2】
管部の周面より突出するように設けられた鍔部を備え、
鍔部は、嵌合管部と接続側管部との境界に設けられたことを特徴とする請求項1に記載の木材接合部材。
【請求項3】
嵌合管部の先端側は斜めに切断された先鋭部に構成されたことを特徴とする請求項1に記載の木材接合部材。
発明の詳細な説明
【技術分野】
【0001】
本発明は、木材同士を接合するための木材接合部材に関する。
続きを表示(約 1,800 文字)
【背景技術】
【0002】
木材同士を接合するための木材接合部材、例えば、木製柱と木製梁、木製梁と木製梁等の木材同士を接合するための木材接合部材が知られている(特許文献1,2参照)。
【先行技術文献】
【特許文献】
【0003】
特開2020-056249号公報
特開2000-273955号公報
【発明の概要】
【発明が解決しようとする課題】
【0004】
しかしながら、木材同士を接合するための上述したような従来の木材接合部材によれば、木材に、接合部材を貫通させる貫通孔や接合部材を挿入するための挿入孔等を形成しなくてはならず、木材に対する複雑な加工手間が必要となり、木材の加工コストが高くなる等の課題があった。
本発明は、木材に対する加工が容易で、木材の加工コストを抑えることができるとともに、施工性に優れた木材接合部材を提供するものである。
【課題を解決するための手段】
【0005】
本発明に係る木材接合部材は、一方の木材に取付けられる一方側取付部材と、他方の木材に取付けられる他方側取付部材と、一方側取付部材と他方側取付部材と繋ぐ繋ぎ部材と、一方側取付部材と繋ぎ部材とを固定する一方側の固定手段と、他方側取付部材と繋ぎ部材とを固定する他方側の固定手段とを備えて構成された木材接合部材であって、一方側取付部材、及び、他方側取付部材は、管部を備え、管部は、木材に形成された穴に嵌合する嵌合管部と、穴の外側に突出させる接続側管部とを備え、嵌合管部は、管の内側から管の外側に接着剤を流出させるための複数の接着剤充填用貫通孔を備え、接続側管部は、固定手段を構成する軸材を貫通させるための軸材貫通孔を備え、繋ぎ部材は、一方側取付部材の接続側管部及び他方側取付部材の接続側管部が挿入されて、接続側管部の軸材貫通孔と合致する軸材貫通孔を備えた管により構成されたことを特徴とする。
また、管部の周面より突出するように設けられた鍔部を備え、鍔部は、嵌合管部と接続側管部との境界に設けられたことを特徴とする。
また、嵌合管部の先端側は斜めに切断された先鋭部に構成されたことを特徴とする。
本発明に係る木材接合部材によれば、木材に対する加工が容易で、木材の加工コストを抑えることができるとともに、施工性に優れた木材接合部材を提供できるようになる。
【図面の簡単な説明】
【0006】
木材接合部材を示す分解斜視図(実施形態1)。
木材接合部材を用いた木材接合方法の手順を示す図(実施形態1)。
木製の柱と木製の梁とを木材接合部材で接合した状態を示す図(実施形態1)。
【発明を実施するための形態】
【0007】
実施形態1
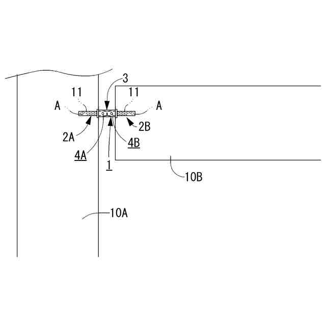
図3に示すように、実施形態1に係る木材接合部材は、一方の木材10Aと他方の木材10Bとを接合するための木材接合部材1であり、当該木材接合部材1は、一方の木材10Aに取付けられる一方側取付部材2Aと、他方の木材10Bに取付けられる他方側取付部材2Bと、一方側取付部材2Aと他方側取付部材2Bと繋ぐ繋ぎ部材3と、一方側取付部材2Aと繋ぎ部材3とを固定する一方側の固定手段4Aと、他方側取付部材2Bと繋ぎ部材3とを固定する他方側の固定手段4Bとを備えて構成される。
【0008】
図3に示すように、一方の木材10Aは例えば柱であり、他方の木材10Bは例えば梁であり、この場合、実施形態1に係る木材接合部材1は、柱梁接合部材として機能する。
【0009】
図1に示すように、一方側取付部材2A、及び、他方側取付部材2Bは、管部20と管部20の周面より突出するように設けられた鍔部25とを備えて構成された例えば金属製の管状部材である。
一方側取付部材2A、及び、他方側取付部材2Bは、例えば、同一部材により構成される。
【0010】
管部20は、木材(一方の木材10A又は他方の木材10B)に形成された穴11(図2(a)参照)に嵌合する外径を備えた嵌合管部21と、穴11の外側に突出させる接続側管部22とを備え、鍔部25は、嵌合管部21と接続側管部22との境界部分の外周を取り囲むように形成された円環状板により構成される。
(【0011】以降は省略されています)
この特許をJ-PlatPat(特許庁公式サイト)で参照する
関連特許
株式会社熊谷組
長机
1日前
株式会社熊谷組
ノズル
2か月前
株式会社熊谷組
木質材料
13日前
株式会社熊谷組
吊り治具
今日
株式会社熊谷組
木材接合部材
今日
株式会社熊谷組
密度計測方法
1日前
株式会社熊谷組
RI計測装置
1日前
株式会社熊谷組
床版接合構造
3日前
株式会社熊谷組
天井板撤去装置
5か月前
株式会社熊谷組
濁水処理システム
4か月前
株式会社熊谷組
観測装置の防塵装置
1か月前
株式会社熊谷組
観測装置の防塵装置
1か月前
株式会社熊谷組
鉄筋コンクリート梁
22日前
株式会社熊谷組
コンクリート打設装置
14日前
株式会社熊谷組
コンクリート打設装置
14日前
株式会社熊谷組
手摺子及び格子状構造物
5か月前
株式会社熊谷組
床版、及び、床版接合方法
4か月前
株式会社熊谷組
床版継手装置、及び、床版
3日前
株式会社熊谷組
杭頭処理構造、杭頭処理方法
3日前
株式会社熊谷組
吊り下げ物の防振構造改良方法
3日前
株式会社熊谷組
壁体構築方法およびアンカー部材
3日前
株式会社熊谷組
壁体構築方法および鉄筋連結構造
3日前
株式会社熊谷組
骨材管理システムおよび骨材管理方法
1か月前
国立大学法人東北大学
重金属の不溶化方法
今日
株式会社熊谷組
床版、及び、床版製造方法、並びに、床版接合構造
4か月前
株式会社熊谷組
トンネル坑内での重量物横移動方法及び重量物横移動装置
21日前
株式会社熊谷組
傾斜地用コンクリート打設装置へのコンクリート積込方法
14日前
個人
屋台
13日前
個人
野良猫ハウス
29日前
個人
フェンス
1か月前
個人
転落防止用手摺
23日前
ニチハ株式会社
建築板
1か月前
個人
筋交自動設定装置
3日前
個人
居住車両用駐車場
1か月前
個人
地下型マンション
3か月前
積水樹脂株式会社
柵体
22日前
続きを見る
他の特許を見る