TOP
|
特許
|
意匠
|
商標
特許ウォッチ
Twitter
他の特許を見る
10個以上の画像は省略されています。
公開番号
2025143957
公報種別
公開特許公報(A)
公開日
2025-10-02
出願番号
2024043490
出願日
2024-03-19
発明の名称
擁壁用ブロックおよび擁壁
出願人
個人
代理人
個人
主分類
E02D
29/02 20060101AFI20250925BHJP(水工;基礎;土砂の移送)
要約
【課題】擁壁背面の地盤中の水を排水する機能に優れ、異物が流入しにくい擁壁用ブロック、および、そのような擁壁用ブロックを備えた擁壁を提供する。
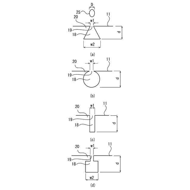
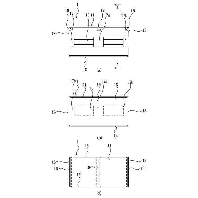
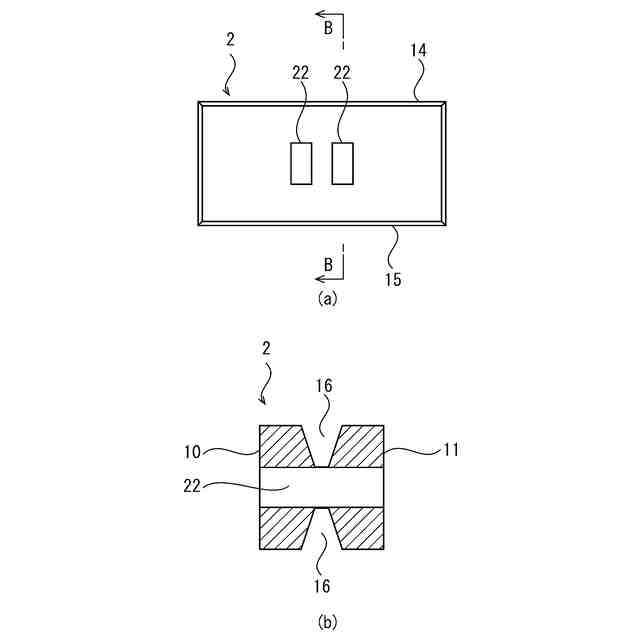
【解決手段】積み上げて擁壁を形成するために用いられる擁壁用ブロック1は、上下方向に伸延し、擁壁用ブロック1の背面側の上端から下端に亘って配置される排水溝18を備え、この排水溝18は流入を阻止すべき異物25の寸法よりも小さい幅で擁壁用ブロック1の背面11に開口し、擁壁用ブロック1の背面側の上端から下端に亘って配置された開口部19を備えている。
【選択図】図1
特許請求の範囲
【請求項1】
積み上げて擁壁を形成するために用いられる擁壁用ブロックにおいて、
上下方向に伸延し、前記擁壁用ブロックの背面側の上端から下端に亘って配置される排水溝を備え、
前記排水溝は流入を阻止すべき異物の寸法よりも小さい幅で前記擁壁用ブロックの背面に開口し、前記擁壁用ブロックの背面側の上端から下端に亘って配置された開口部を備えることを特徴とする擁壁用ブロック。
続きを表示(約 520 文字)
【請求項2】
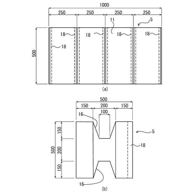
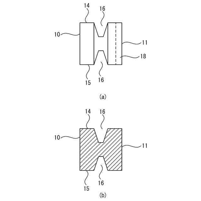
前記排水溝の断面形状は前面側の幅が前記開口部の幅よりも大きい台形であることを特徴とする請求項1に記載の擁壁用ブロック。
【請求項3】
外形が略直方体であり、
前記擁壁用ブロックの上面及び下面に左右方向の一端から他端に亘って設けられたコンクリート充填溝と、
少なくとも左右方向の中央及び両端に設けられ、前記擁壁用ブロックの上面から下面まで貫通するコンクリート充填孔とを備えることを特徴とする請求項1また請求項2に記載の擁壁用ブロック。
【請求項4】
前記擁壁用ブロックの前面から背面に貫通し、左右方向の中央付近に配置された一対の排水孔を備え、
前記一対の排水孔の左右方向の間隔は前記排水孔の幅と略等しいことを特徴とする請求項1また請求項2に記載の擁壁用ブロック。
【請求項5】
請求項1または請求項2に記載の擁壁用ブロックにより形成された擁壁。
【請求項6】
請求項3に記載の擁壁用ブロックにより形成された擁壁。
【請求項7】
請求項1に記載の擁壁用ブロックおよび請求項4に記載の擁壁用ブロックにより形成された擁壁。
発明の詳細な説明
【技術分野】
【0001】
本発明は、積み上げた後に内部に場所打ちコンクリートを充填して擁壁を形成するために用いる擁壁用のブロックに関する。
続きを表示(約 1,300 文字)
【背景技術】
【0002】
擁壁においては、背面の地盤中の水を何らかの方法で排水する必要がある。排水の方法として、擁壁背面に栗石を配置するとともに、擁壁本体の背面から前面に貫通する水抜き孔を設けて、擁壁前面に排水する構成が広く用いられている(たとえば、特許文献1の図1。)
【0003】
また、特許文献2には、前壁部と、前壁部の裏面側に設けられる後壁部と、前壁部と後壁部の間に介在する中間部とを備えた積みブロックが記載されている。この積みブロックでは、前壁部と後壁部と中間部とによって、排水用の切欠部が形成されており、後壁部には、当該後壁部の裏面から排水用の切欠部に貫通する水抜き用の孔が穿設されている。地盤中の水は、水抜き用の孔を通って排水用の切欠部で形成された排水路に流れ込み、擁壁の下端から排水される(特許文献2の図1)。
【先行技術文献】
【特許文献】
【0004】
特開2004-197534号公報
特開2003-64706号公報
【発明の概要】
【発明が解決しようとする課題】
【0005】
水抜き孔により排水する方法では、栗石を用いたとしても、土砂や土壌中に混入しているごみなどが水抜き孔に流入しやすいという問題があった。また、擁壁背面の面積に比べて水抜き孔の断面積が小さく、十分な排水が行えないという問題があった。
【0006】
特許文献2に記載された積みブロック内の切欠により排水路を構成する方法は、ブロック内部に場所打ちコンクリートを充填するタイプのブロックには適用することが困難であるという問題があった。
【0007】
そこで、本発明では、擁壁背面の地盤中の水を排水する機能に優れ、異物が流入しにくい擁壁用ブロック、および、そのような擁壁用ブロックを備えた擁壁を提供することを目的とする。
【課題を解決するための手段】
【0008】
本発明の擁壁用ブロックは、上下方向に伸延し、擁壁用ブロックの背面側の上端から下端に亘って配置される排水溝を備え、この排水溝は流入を阻止すべき異物の寸法よりも小さい幅で擁壁用ブロックの背面に開口し、擁壁用ブロックの背面側の上端から下端に亘って配置された開口部を備えていることを特徴とする。
【発明の効果】
【0009】
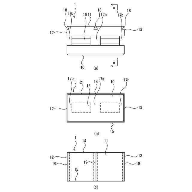
本発明の、擁壁用ブロックは、上下方向に伸延し、擁壁用ブロックの背面側の上端から下端に亘って配置される排水溝を備えている。排水溝は、擁壁用ブロックの背面に開口し、擁壁用ブロックの背面側の上端から下端に亘って配置された開口部を備えている。そのため、背面地盤中の水を流入させる開口部の面積が大きくなり、優れた排水機能を発揮することができる。開口部の幅は流入を阻止すべき異物の寸法よりも小さくなっているので、異物の流入を効果的に防止することができる。
【0010】
本発明の擁壁は、上述の擁壁用ブロックを備えているので、優れた排水機能を発揮することができるとともに、異物の流入を効果的に防止することができる。
【図面の簡単な説明】
(【0011】以降は省略されています)
この特許をJ-PlatPat(特許庁公式サイト)で参照する
関連特許
個人
鋼管
17日前
FKS株式会社
擁壁
6日前
鈴健興業株式会社
敷板部材
2日前
株式会社クボタ
作業車
4日前
株式会社奥村組
ケーソン工法
9日前
株式会社クボタ
作業車
4日前
個人
擁壁用ブロックおよび擁壁
3日前
株式会社ネクステリア
平板基礎
2日前
株式会社奥村組
ケーソン刃口金物
9日前
株式会社大林組
建物の構造
3日前
株式会社武井工業所
積みブロック
26日前
株式会社熊谷組
密度計測方法
4日前
株式会社大林組
袋体付き排水パイプ
16日前
株式会社大林組
袋体付き排水パイプ
16日前
日立建機株式会社
作業機械
24日前
日立建機株式会社
建設機械
2日前
日立建機株式会社
作業機械
6日前
ヤマト発動機株式会社
浮遊型消波装置
6日前
大和ハウス工業株式会社
杭抜き先端具
10日前
ゼニヤ海洋サービス株式会社
通船ゲート
16日前
株式会社フジタ
掘削機
25日前
鹿島建設株式会社
接続方法および接続構造
16日前
日立建機株式会社
電動式作業機械
2日前
株式会社フジタ
建築物とその施工方法
16日前
JFEスチール株式会社
鋼管矢板の継手構造
18日前
JFEスチール株式会社
鋼管矢板の継手構造
18日前
JFEスチール株式会社
鋼管矢板の継手構造
6日前
有限会社 櫂設計事務所
掘削・撹拌具
1か月前
株式会社大林組
建物の構築方法及び建物
16日前
株式会社武井工業所
積みブロック用基礎ブロック
26日前
浙江工業大学
多機能土柱モデル装置及び使用方法
2日前
株式会社熊谷組
杭頭処理構造、杭頭処理方法
6日前
株式会社小松製作所
作業機械
26日前
日本コンクリート工業株式会社
堤防の補強構造
16日前
日立建機株式会社
建設機械
6日前
日立建機株式会社
作業機械
1か月前
続きを見る
他の特許を見る