TOP
|
特許
|
意匠
|
商標
特許ウォッチ
Twitter
他の特許を見る
10個以上の画像は省略されています。
公開番号
2025070881
公報種別
公開特許公報(A)
公開日
2025-05-02
出願番号
2023181480
出願日
2023-10-20
発明の名称
消火栓ボックス
出願人
株式会社初田製作所
代理人
個人
,
個人
主分類
A62C
35/20 20060101AFI20250424BHJP(人命救助;消防)
要約
【課題】 扉板が連結された扉枠をボックス本体に取り付けた状態で、扉枠に発生する歪みの調整を可能にした消火栓ボックスを提供する。
【解決手段】 底板2cと側板2dを備え前面が開口されたボックス本体2と、ボックス本体2に連結される扉枠3と、扉枠3に開閉自在に取り付けられる扉板4と、を備え、ボックス本体2は側板2dに突設された第1鍔部2aを備え、扉枠3は、側板2dに間隙を介して対向配置される枠板部3cと、第1鍔部2aに対向配置されて締結具5を介して第1鍔部2aと連結される第2鍔部3aと、側板2dより外側に延びるように枠板部3cに連設されて壁面Wに当接される周縁部3dと、を備え、第1鍔部2aと第2鍔部3aとは、締結具5を介して互いの対向面に沿う方向での相対位置を所定範囲内で調節可能に構成され、枠板部3cは、枠板部3cと側板2dとの間隔を調節可能にする雄螺子部材6を螺入可能な雌螺子部7を有する。
【選択図】 図6
特許請求の範囲
【請求項1】
後面の底板と前記底板を囲む側板とを有し、前面が開口され、建物の壁面に埋設されるボックス本体と、
前記ボックス本体に連結される扉枠と、
前記扉枠に開閉自在に取り付けられる扉板と、を備え、
前記ボックス本体は、前記側板の内周面に突設された第1鍔部を備え、
前記扉枠は、前記側板に間隙を介して対向配置される枠板部と、前記枠板部と連設されるとともに前記第1鍔部に対向配置されて締結具を介して前記第1鍔部と連結される第2鍔部と、前記ボックス本体の前記側板より外側に延びるように前記枠板部に連設されて前記壁面に当接される周縁部と、を備え、
前記第1鍔部と前記第2鍔部とは、前記締結具を介して、互いの対向面に沿う方向での相対位置を所定範囲内で調節可能に構成され、
前記枠板部は、前記枠板部と前記側板との距離を調節可能にする雄螺子部材を螺入可能な雌螺子部を有する、
消火栓ボックス。
発明の詳細な説明
【技術分野】
【0001】
本発明は、消火栓ボックスに関する。
続きを表示(約 1,700 文字)
【背景技術】
【0002】
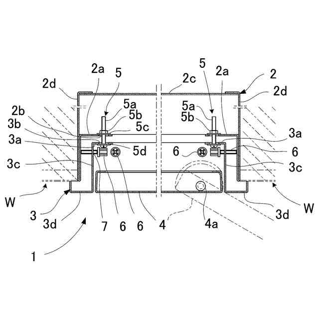
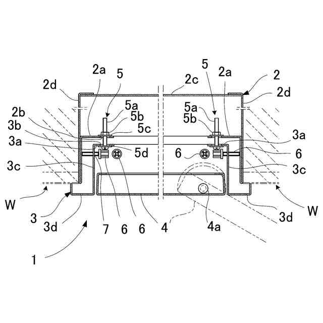
従来、図1~図4を参照して、消火栓ボックス1Aは、前面が開口したボックス本体2と、ボックス本体2の開口側内周縁部に固定される扉枠3と、扉枠3に開閉自在に設けられてボックス本体2の開口を開閉する扉板4を備える(特許文献1等)。複数枚の扉板を備える場合もある。
【0003】
このように、扉板4がボックス本体2に直に連結されず、扉枠3を介して扉板4をボックス本体2に連結する構造の消火栓ボックスは、建物への施工においては、建物の工事の工程に合わせて、建物の壁Wに設けた開口部内にボックス本体2を設置した後、壁面の装飾等の完成後に、扉板4が連結された扉枠3を、ボックス本体2の開口に前面から差込み、ビス等の雄螺子5a及びナット等の雌螺子5bから成る締結具5で扉枠3をボックス本体2に固定している。
【0004】
即ち、ボックス本体2への扉板4の取り付け作業は、建物内の壁Wに埋設状態で設置したボックス本体2の開口側内周縁部に、扉板4が連結された扉枠3を持って嵌め込み、ボックス本体2の開口側内周縁部に設けたアングル形状の第1鍔部2aと扉枠3の内周縁部に設けたアングル形状の第2鍔部3aとを対向せしめ、第1鍔部2a及び第2鍔部3aに所定間隔毎に形成した孔2b、3bの位置を合わせた後、第1鍔部2a及び第2鍔部3aの各孔2b、3bにそれぞれ雄螺子5aを挿通し、各雄螺子5aに雌螺子5bを締め込むことによって、ボックス本体2に扉板4付き扉枠3を取り付けるようにしている。
【先行技術文献】
【特許文献】
【0005】
特開2010-104625号公報
【発明の概要】
【発明が解決しようとする課題】
【0006】
扉板4付き扉枠3をボックス本体2の開口側内周縁部に嵌め込んだ後、扉枠3とボックス本体2とを締結具5の螺子止めにより連結する際に、螺子止め作業を行えるように扉板4を開放するが、消火栓ボックスの扉枠3は例えば厚さ1.6mm程度の鋼板を加工したものであるため、扉板4の開放時に、ボックス本体2の大きさによっては扉板4の重みにより扉枠3が変形することがあり、その場合、ボックス本体2に扉枠3を取り付けた後に扉枠3と扉板4との隙間が均一にならないという問題があった。
【0007】
また、このような扉枠3の変形は運搬、移動時にも起こり、更に保管の際に扉板4と平行に床面に置かれず、壁等に立てかけられた状態で長期間保管された場合でも発生していた。
【0008】
取付け時に発生する扉板4の歪みを防ぐためには、床面から扉枠3の下端までの高さに合わせた台が必要であり、高すぎたり低すぎたりすると更に扉枠3に歪みが生じるため、適切な高さの台を用意しておく必要があるが、台数が多ければそれぞれに対応する高さのものを揃えなければならず、非常に手間がかかるため、扉板4を連結した扉枠3を支えるためだけの人員を配置する等していた。
【0009】
また、扉枠3の取り付け時においては、扉枠3とその周囲の壁Wの表面に設けるパネルやタイル等の壁面仕上げ材と一定の寸法を保って隙間(目地)を設けることがある。このとき、パネルやタイルの上下左右の目地の幅寸法を同じにすることで、視覚的なバランスを崩さないようにしている(これは目地合わせと呼ばれている。)。この際に扉枠3が歪んでいると、この扉枠3の上下あるいは左右の目地の幅寸法が一定とはならず、その際にも調整が必要になる。
【0010】
しかしながら、このような目地幅を均等にするための調整方法には明確な手法がなく、例えば、扉板を扉枠に取り付けた状態で、開閉可能な扉板の自由端と反対側の扉枠上端部を手で固定しつつ扉枠下端部を手前側に引く、あるいは奥側に押し込んで調整を行うが、力の加減は歪みの状態によって異なるため、作業者の感と経験による作業になっており、何度も状態を確認しながら繰り返し作業を行わなければならなかった。
(【0011】以降は省略されています)
この特許をJ-PlatPat(特許庁公式サイト)で参照する
関連特許
個人
階段避難用滑り板
10か月前
個人
階段上り下り滑り板
8か月前
藤井電工株式会社
連結フック
6か月前
個人
高層ビルからの救助装置
12日前
個人
大地震の火災消火システム
1か月前
藤井電工株式会社
安全帯取付具
1か月前
株式会社高儀
胴当てベルト
2か月前
能美防災株式会社
消火装置
10か月前
能美防災株式会社
消火設備
11か月前
能美防災株式会社
消火設備
12か月前
株式会社キッツ
流水検知装置
3か月前
能美防災株式会社
消火栓装置
10か月前
個人
高層階の降下型避難装置
5か月前
能美防災株式会社
デフレクタ
12か月前
ホーチキ株式会社
消火栓装置
11か月前
深田工業株式会社
発泡ノズル
10か月前
帝国繊維株式会社
防災用車両
3か月前
個人
消火用ノズルヘッド
11か月前
ホーチキ株式会社
防災システム
10か月前
中国電力株式会社
長尺工具保持具
9か月前
ホーチキ株式会社
消火栓装置
4か月前
ホーチキ株式会社
消火栓装置
1か月前
ホーチキ株式会社
消火栓装置
11か月前
ホーチキ株式会社
消火栓装置
3か月前
ホーチキ株式会社
消火栓装置
4日前
ホーチキ株式会社
消火栓装置
9か月前
ホーチキ株式会社
消火栓装置
4か月前
ホーチキ株式会社
消火栓装置
9か月前
株式会社立売堀製作所
流水検知装置
3か月前
藤井電工株式会社
ストラップの保護カバー
7か月前
ホーチキ株式会社
消火栓装置
11か月前
ホーチキ株式会社
消火栓装置
5か月前
Ronk株式会社
作業者安全確認装置
12か月前
沖電気工業株式会社
筐体
29日前
日本ドライケミカル株式会社
消火薬剤
3か月前
帝国繊維株式会社
保形ホース点検装置
5か月前
続きを見る
他の特許を見る